GM Service Manual Online
For 1990-2009 cars only
Figure 1:

Instrument Cluster Gauges


Object Number: 727349  Size: FS
Master Electrical Component List
Instrument Cluster Description and Operation
Instrument Cluster Illumination and Indicators
Class 2 Serial Data Line
AIR BAG and GAUGES Fuses
ABS IGN, PCM IGN, and STRTR Fuses
Instrument Cluster Indicators
Instrument Cluster Illumination and Indicators
G110 V6 VIN K
VSS, Cruise, Generator, Engine Oil Level
BCM, Cruise Control Module, EBCM, IPC, Radio, and VSS
G110 V8 VIN G
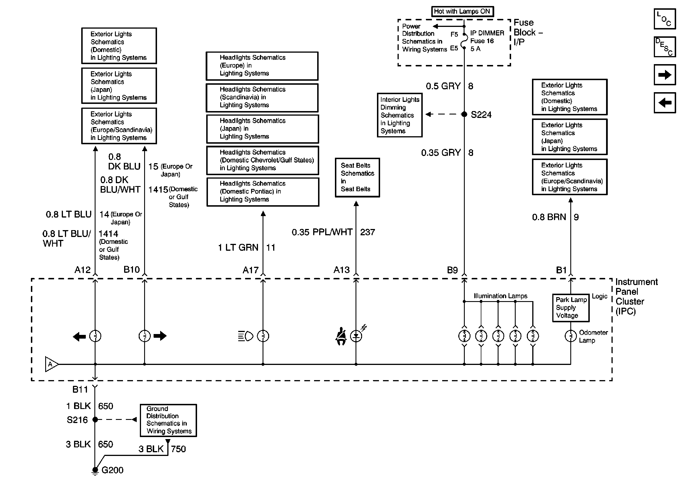
Figure 2:

Instrument Cluster Illumination and Indicators


Object Number: 727350  Size: FS
Master Electrical Component List
Indicator/Warning Message Description and Operation
Instrument Cluster Indicators
Instrument Cluster Gauges
Chevrolet (Europe)
Chevrolet
Chevrolet (Japan)
DRL Module, High and Lowbeam Headlights
DRL Module, Headlamp Opening Door Assembly
Seat Belt Schematic
Interior Illumination Lamps (1 of 2)
Instrument Cluster Gauges
G200 Splice S216
Figure 3:

Instrument Cluster Indicators


Object Number: 727352  Size: FS
Master Electrical Component List
Indicator/Warning Message Description and Operation
Instrument Cluster Class 2 Indicators
Instrument Cluster Illumination and Indicators
Fusible Links, CIG/ACCY, ENG CTRL, IGN, I/P-1, I/P-2, and PWR ACCY Fuses
Fusible Links, CIG/ACCY, ENG CTRL, IGN, I/P-1, I/P-2, and PWR ACCY Fuses
Instrument Cluster Gauges
Instrument Cluster Class 2 Indicators
Body Control Module, Rear Release Actuator, Relay, and Switch
Figure 4:

Instrument Cluster Class 2 Indicators


Object Number: 739094  Size: FS
Master Electrical Component List
Indicator/Warning Message Description and Operation
Instrument Cluster Indicators
Instrument Cluster Indicators
Brake Fluid Level Sensor, Instrument Cluster and Park Brake Switch