GM Service Manual Online
For 1990-2009 cars only

Object Number: 20176  Size: SH

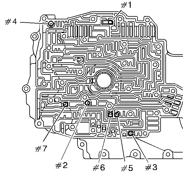
Important: Do not use a magnet in order to remove the checkballs. The magnet may magnetize the checkballs, and the checkballs may attract metallic particles.

Remove the seven checkballs (26) in the channel plate.