GM Service Manual Online
For 1990-2009 cars only
Makes
🢒
Chevrolet
🢒
1998
🢒
Cavalier
🢒
Steering
🢒
Steering Wheel and Column - Tilt
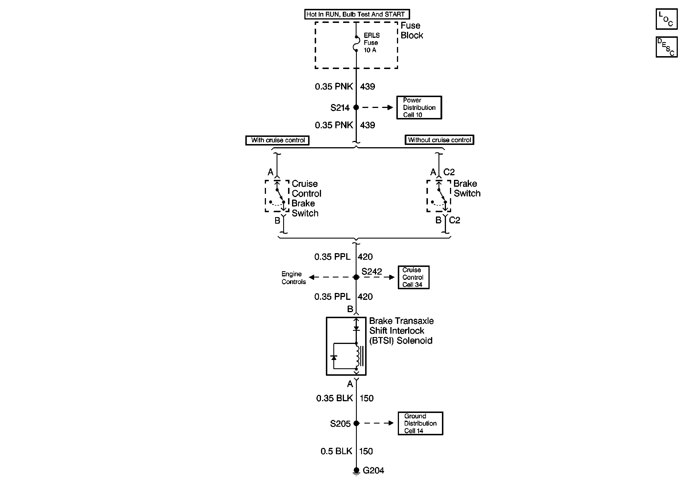
🢒 Shift Lock Control Schematics
Cell 138
Tilt Wheel/Column Components
Power Distribution Schematics
Ground Distribution Schematics
Automatic Transmission Shift Lock Control Circuit Description