GM Service Manual Online
For 1990-2009 cars only

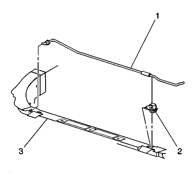
Removal Procedure

  1. Raise and support the hood.

  2. Object Number: 282264  Size: SH
  3. Remove the hood hold open rod (1).
  4. The hood hold open rod (1) is bent at a right angle.

    2.1. Rotate the hood open rod (1) at the right angle.
    2.2. Pull the hood open rod (1).
  5. Remove the hood hold open rod retainer (2).

Installation Procedure


    Object Number: 282264  Size: SH
  1. Install the hood hold open rod retainer (2).
  2. Install the hood hold open rod (1).
  3. The hood hold open rod (1) is bent at a right angle.

    2.1. Rotate the hood hold open rod (1) at the right angle.
    2.2. Push the hood hold open rod (1).