GM Service Manual Online
For 1990-2009 cars only

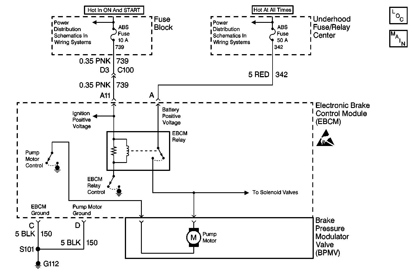
Object Number: 524886  Size: MF
ABS Components
Antilock Brake System Schematics
Handling ESD Sensitive Parts Notice
Power Distribution Schematics
Power Distribution Schematics

Circuit Description

The Class 2 serial data line allows all of the modules on the line to transmit information to each other as needed. Each module is assigned an ID. All of the information sent out on the line is assigned a priority by which it is received. When the ignition is turned ON, each module begins to send and receive information. Each module on the Class 2 serial data line knows what information the module needs to send out and what information the module should be receiving. What the modules do not know is which module is supposed to send the information. This information is only learned after the module has received the information needed along with the ID of the module that sent the information. This information is then remembered until the ignition switch is turned off.

Diagnostic Aids

    • The following are possible causes:
       - An open or short in the Class 2 serial data line.
       - An open in the ignition positive voltage circuit.
       - An open in the EBCM ground circuit.
       - An internal EBCM malfunction.
    • Thoroughly inspect the wiring and the connectors. An incomplete inspection of the wiring and the connectors may result in a misdiagnosis, causing a part replacement with the reappearance of the malfunction.
    • If an intermittent malfunction exists, refer to Testing for Intermittent Conditions and Poor Connections in Wiring Systems.

Test Description

The numbers below refer to the step numbers on the diagnostic table.

  1. This test determines if the scan tool can communicate with any other modules on the Class 2 serial data line.

  2. Tests for a short to ground in the ignition positive voltage circuit.

  3. Tests the EBCM ground circuit for an open or high resistance.

  4. Tests the ignition positive voltage circuit for an open or high resistance.

Step

Action

Value(s)

Yes

No

1

Did you perform the ABS Diagnostic System Check?

--

Go to Step 2

Go to Diagnostic System Check - ABS

2

  1. Turn OFF the ignition.
  2. Install a scan tool.
  3. Turn ON the ignition, with the engine OFF.
  4. Attempt to establish communication with other modules on the Class 2 serial data line, such as the PCM.

Does the scan tool communicate with any other modules on the Class 2 serial data line?

--

Go to Step 3

Go to Scan Tool Does Not Communicate with Class 2 Device in Wiring Systems

3

  1. Turn OFF the ignition.
  2. Inspect the Fuse Block ABS fuse (10A).

Is the fuse open?

--

Go to Step 4

Go to Step 5

4

  1. Turn OFF the ignition.
  2. Remove the ABS fuse (10A) from the Fuse Block.
  3. Disconnect the EBCM harness connector.
  4. Connect the J 39700 universal pinout box using the J 39700-99 cable adapter to the EBCM harness connector only.
  5. Test the ignition positive voltage circuit for a short to ground. Refer to Circuit Testing and Wiring Repairs in Wiring Systems.

Did you find and correct the condition?

--

Go to Diagnostic System Check - ABS

Go to Testing for Intermittent Conditions and Poor Connections in Wiring Systems

5

Inspect the EBCM ground G112, making sure that the ground is clean and torqued to the proper specification. Refer to Wiring Repairs in Wiring Systems.

Did you find and correct the condition?

--

Go to Diagnostic System Check - ABS

Go to Step 6

6

  1. Turn OFF the ignition.
  2. Disconnect the EBCM harness connector.
  3. Connect the J 39700 universal pinout box using the J 39700-99 cable adapter to the EBCM harness connector only.
  4. Test the EBCM ground circuit for an open or high resistance. Refer to Circuit Testing and Wiring Repairs in Wiring Systems.

Did you find and correct the condition?

--

Go to Diagnostic System Check - ABS

Go to Step 7

7

Test the ignition positive voltage circuit for an open or high resistance. Refer to Circuit Testing and Wiring Repairs in Wiring Systems.

Did you find and correct the condition?

--

Go to Diagnostic System Check - ABS

Go to Step 8

8

Inspect for poor connections at the harness connector of the EBCM. Refer to Testing for Intermittent Conditions and Poor Connections and Connector Repairs in Wiring Systems.

Did you find and correct the condition?

--

Go to Diagnostic System Check - ABS

Go to Step 9

9

Replace the EBCM. Refer to Electronic Brake Control Module Replacement .

Did you complete the replacement?

--

Go to Diagnostic System Check - ABS

--