GM Service Manual Online
For 1990-2009 cars only
Figure 1:

Case and Associated Parts (1 of 3)


Object Number: 20799  Size: LF
(1)Converter Assembly
(2)Converter Pump Bushing
(3)Fluid Seal Ring
(4)Governor Assembly
(6)Thrust Bearing Assembly
(7)O-Ring (Governor Cover) Seal
(8)Governor Cover/Case Screw
(15)Case Assembly
(16)Ball 6.35 mm (0.25 in) DIA.
(19)Spacer Plate Gasket
(19)Spacer Plate Gasket
(20)Valve Body Spacer Plate
(21)Control Valve and Fluid Pump Assembly
(22)Throttle Lever to Cable Link
(23)Throttle Lever and Bracket Assembly
(24)Valve Body/Case Screw
(25)Valve Body Cover Gasket
(26)Control Valve Body Cover
(32)Filter Seal
(33)Transmission Fluid Strainer Assembly
(35)Transmission Fluid Pan
(36)Conical Washer (Fluid Pan) Screw
(36)Conical Washer (Fluid Pan) Screw
(37)Governor Shaft Sleeve and Screen Assembly
(38)Chip Collector Magnet
(39)Transmission Fluid Pan Gasket
(40)Auxiliary Valve Body/Case Screw
(41)Auxiliary Valve Body/Case Cover Screw
(42)Valve Body/Driven Sprocket Support Screw
(43)Valve Body/Case Screw
(44)Auxiliary Valve Body/Case Screw
(46)Auxiliary Valve Body Cover/Valve Body Screw
(328)Valve Body Pipe Retainer
(343)Auxiliary Valve Body
(801)Speed Sensor Rotor
(802)Complete Speed Sensor Assembly
(811)Governor Compression Ring
Figure 2:

Case and Associated Parts (2 of 3)


Object Number: 20801  Size: MF
(15)Case, Transmission
(16)Ball 6.35 mm (0.25 in) DIA.
(16)Ball 6.35 mm (0.25 in) DIA.
(17)Connector, Cooler Fitting
(18)Shaft, Fluid Pump Drive
(28)Ring, Snap Retainer (Axle Joint)
(29)Shaft, Output
(30)Ring, Snap Shaft Retainer
(31)Seal Assembly, Axle Fluid
(50)Cup Plug, Case
(60)Screw, Case Cover to Case
(60)Screw, Case Cover to Case
(61)Screw, Case Cover to Case
(62)Screw, Case Cover to Case
(63)Screw, Case Cover to Case
(64)Screw, No. 40 Torx® -- Case Cover to Case (Chrome)
(65)Screw, No. 40 Torx® -- Case Cover to Case (Sealant)
(66)Stud, Case Cover to Case (some models)
(67)Stud, Case Cover to Case (some models)
(68)Stud, Case Cover to Case (some models)
(69)Nut (some models)
Figure 3:

Case and Associated Parts (3 of 3)


Object Number: 20802  Size: LF
(15)Case, Transmission
(101)Link Assembly, Drive
(102)Ring, Snap
(103)Sprocket, Drive
(104)Washer, Drive Sprocket Support to Drive Sprocket
(105)Ring, Fluid Seal Turbine Shaft
(106)Shaft, Turbine
(107)Seal, O-Ring (Turbine Shaft)
(108)Bearing Assembly, Drive Sprocket Support
(109)Support Drive Sprocket
(110)Bushing Drive Sprocket Support
(111)Pin, Dowel (Case Cover to Case)
(111)Pin, Dowel (Case Cover to Case)
(113)Seal Assembly, Manual Shaft
(114)Screw, Special No. 40 Torx® HD. Drive Sprocket Support to Case
(115)Seal Assembly, Converter
(116)Bushing, Case
(117)Seal Assembly, Axle Fluid
(118)Plug, Cup (Parking Pawl Shaft)
(119)Plug, Governor Pressure Pickup
(120)Seal, Low and Reverse to Case
(121)Bearing Assembly, Driven Sprocket to Case Cover Thrust
(122)Sprocket, Driven
(123)Washer, Driven Sprocket to Driven Sprocket Support Thrust
(124)Plug, Cup (3rd Clutch Fluid)
(125)Spring, 3rd Accumulator Exhaust
(126)Valve, 3rd Accumulator Exhaust
(128)Ring, Fluid Seal Intermediate Band Apply Pin
(129)Pin, Intermediate Band Apply
(130)Retainer, Washer (Intermediate Servo Spring)
(131)Spring, Intermediate Servo Cushion
(132)Seal, Lip (Outer) Intermediate Servo
(133)Piston, Intermediate Servo
(134)Seal, Lip (Inner) Intermediate Servo
(135)Ring, Snap (Servo Piston)
(136)Gasket, Intermediate Servo Cover
(137)Cover, Intermediate Servo
(138)Pipe, Governor Fluid
(139)Pipe, Low and Reverse Fluid
(140)Retainer, Low and Reverse Fluid Pipe
(141)Screw, Intermediate Servo Cover
(142)Screw, Pipe Retainer to Case
(142)Screw, Pipe Retainer to Case
(143)Retainer, Governor and Reverse Fluid Pipe
(143)Retainer, Governor and Reverse Fluid Pipe
(144)Washer, Seal Backup
(145)Seal, O-Ring (Low and Reverse Pipe to Case)
(146)Retainer, Fluid Weir
(147)Fluid Weir
(148)Ring, Fluid Seal Turbine Shaft
Figure 4:

Auxiliary Valve Body Assembly


Object Number: 25456  Size: LF
(8)Screw, Auxiliary Valve Body Cover to Auxiliary Valve Body
(41)Screw, Auxiliary Valve Body to Case Cover
(46)Screw, Auxiliary Valve Body Cover to Valve Body
(304)Pin, Valve and Spring Retaining
(310)Plug, Valve Bore
(328)Retainer, Valve Body Pipe
(330)Cover, Auxiliary Valve Body
(331)Gasket, Auxiliary Valve Body Cover
(332)Valve, Converter Clutch Control
(333)TCC Solenoid Valve Assembly
(334)Screw, Solenoid
(335)Switch, Pressure -- 3rd Clutch (some models)
(337)Seal, O-Ring (Solenoid)
(338)Switch, Governor Pressure -- Second Clutch (some models)
(339)Harness, Solenoid Wire
(343)Body, Auxiliary Valve
(344)Sleeve, Auxiliary Valve Body
(357)Filter, Auxiliary Valve Body
(380)Valve, Orifice Control
(381)Spring, Orifice Control Valve
(383)Clip, Wiring
Figure 5:

Control Valve Body and Fluid Pump Assembly


Object Number: 25457  Size: MF
(21)Control Valve and Fluid Pump Assembly
(302)Plug, Bore Line Boost Valve
(303)Valve, Line Boost
(304)Pin, Valve and Spring Retaining
(304)Pin, Valve and Spring Retaining
(304)Pin, Valve and Spring Retaining
(304)Pin, Valve and Spring Retaining
(304)Pin, Valve and Spring Retaining
(304)Pin, Valve and Spring Retaining
(305)Pin, Coiled Spring Line Boost Plug
(306)Pin, Throttle Valve Bushing
(307)Retainer, Spring (Sleeve)
(307)Retainer, Spring (Sleeve)
(308)Valve, Shift TV
(309)Spring, Shift TV
(310)Plug, Valve Bore
(310)Plug, Valve Bore
(311)Ball, Pressure Relief
(312)Spring, Pressure Relief
(313)Spring, 1-2 Accumulator
(314)Bushing, 1-2 Accumulator
(315)Valve, 1-2 Accumulator
(316)Valve, 2-3 Shift
(317)Valve, 2-3 Throttle
(318)Spring, 2-3 Throttle Valve
(319)Bushing, 2-3 Throttle Valve
(320)Valve, 1-2 Shift
(321)Valve, 1-2 Throttle
(322)Spring, 1-2 Throttle Valve
(323)Bushing, 1-2 Throttle Valve
(324)Ball, Low Blow Off
(325)Spring, Low Blow Off
(326)Plug, Low Blow Off Valve
(345)Pin, Slide Pivot
(346)Ring, Fluid Seal (Slide to Cover)
(347)Seal, O-Ring (Pump Slide)
(348)Slide, Pump
(349)Support, Pump Slide Seal
(350)Seal, Pump Slide
(351)Ring, Pump Vane
(351)Ring, Pump Vane
(352)Vane, Pump
(353)Rotor, Fluid Pump
(354)Bearing Assembly, Pump Shaft and Seal
(355)Spring, 3-2
(356)Valve, 3-2 Regulating Control
(358)Plug, Pump Spring Retaining
(359)Spring, Pump Priming
(360)Spring, TV and Reverse Boost Valve
(361)Valve, TV Boost
(362)Bushing, TV and Reverse Boost Valve
(363)Valve, Reverse Boost
(364)Spring, Pressure Regulator
(365)Valve, Pressure Regulator
(366)Bushing, TV Plunger
(367)Plunger, Throttle Valve
(368)Spring, Throttle Valve
(369)Valve, Throttle
(371)Pin, TV and Reverse Boost Bushing
(372)Plug, Bore (Pressure Regulator)
(373)Retainer, Bore Plug Pressure Regulator
(375)Plug, Valve Bore Isolator
(376)Ring, Valve Retaining
(377)Retainer, Throttle Valve
(377)Retainer, Throttle Valve
(382)Plug, Valve Bore
Figure 6:

Case Cover Assembly


Object Number: 25455  Size: MF
(401)Cover, Transmission Case
(402)Nameplate
(403)Screw, Nameplate
(404)Vent Assembly
(404)Vent Assembly
(405)Plug (Line Pressure Pickup)
(406)Valve, Manual
(407)Seal, O-Ring (Electrical Connector)
(408)Electrical Connector
(410)Pin (Thermo-Element)
(411)Plate, Thermostatic Element
(412)Thermostatic Element
(413)Pin Washer Assemblies, Thermo-Element
(414)Washer, Thrust (Case to Drive Sprocket)
(415)Gasket, Case to Case Cover (Center)
(416)Gasket, Case to Case Cover
(417)Spring and Roller Assembly, Manual Detent
(418)Screw, Manual Detent Spring to Case Cover
(419)Spring, 1-2 Accumulator Piston
(420)Ring, Fluid Seal (1-2 Accumulator Piston)
(421)Piston, 1-2 Accumulator
(422)Pin, 1-2 Accumulator
(431)Sleeve, Transmission Case Cover
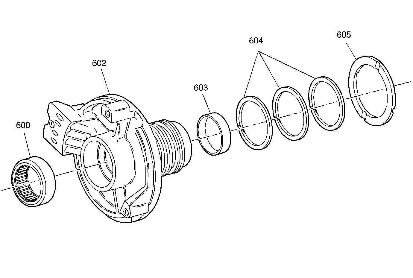
Figure 7:

Driven Sprocket Support Assembly


Object Number: 25446  Size: MF
(600)Bearing Assembly, Driven Sprocket Support
(602)Support Assembly, Driven Sprocket
(603)Bushing, Driven Sprocket Support
(604)Ring, Fluid Seals Driven Sprocket Support
(605)Washer, Driven Sprocket Support to Direct Clutch Thrust
Figure 8:

Direct Clutch Assembly


Object Number: 25448  Size: MF
(606)Band Assembly, Intermediate
(607)Plug, Band Anchor Hole
(608)Bushing, Direct Clutch Housing
(610)Housing and Drum Assembly, Direct Clutch
(611)Bushing, Direct Clutch Drum
(612)Seal, Lip Direct Clutch Piston (Outer)
(613)Seal, Lip Direct Clutch Piston (Center)
(614)Seal, Lip Direct Clutch Piston (Inner)
(615)Piston, Direct Clutch
(616)Apply Ring and Release Spring Assembly
(617)Ring, Snap (Forward and Direct Clutches)
(617)Ring, Snap (Forward and Direct Clutches)
(618)Plate Assembly, Direct Clutch
(619)Plate, Clutch Backing (Direct)
Figure 9:

Forward Clutch Assembly


Object Number: 25449  Size: MF
(617)Ring, Snap (Forward and Direct Clutches)
(622)Ring, Fluid Seals Input Shaft
(623)Bushing, Input Shaft
(624)Housing Assembly, Forward Clutch
(625)Plate, Belleville
(626)Seal, Lip Forward Clutch Piston (Outer)
(627)Seal, Lip forward Clutch Piston (Inner)
(628)Insert, Forward Clutch Piston
(629)Piston, Forward Clutch
(630)Guide, Release Spring (Forward Clutch)
(631)Retainer and Spring Assembly, Forward Clutch
(632)Ring, Snap Spring Retainer (Forward Clutch)
(633)Plate Assembly, Forward Clutch
(634)Plate, Forward Clutch Backing
Figure 10:

Input Components


Object Number: 25451  Size: MF
(636)Washer, Input Shaft Thrust
(637)Gear, Input Internal
(638)Bushing, Input Internal Gear
(639)Washer, Input Carrier/Input Internal Gear Thrust
(640)Carrier, Assembly (Input)
(641)Washer, Input Carrier/Input Sun Gear Thrust
(642)Gear, Input Sun
(643)Drum, Input
(644)Ring, Snap Input Drum/Sun Gear (Selective)
(645)Bushing, Reaction Sun Gear
(646)Gear, Reaction Sun
Figure 11:

Low and Reverse Clutch Assembly


Object Number: 25453  Size: LF
(647)Ring, Front Differential Carrier Spacer Retainer
(647)Ring, Front Differential Carrier Spacer Retainer
(648)Bushing, Low and Reverse Clutch Housing
(649)Housing Assembly, Low And Reverse Clutch
(650)Ring, Low And Reverse Clutch Housing Retainer
(651)Seal, Lip Low and Reverse Piston (Outer)
(652)Seal, Lip Low and Reverse Piston (Inner)
(653)Piston, Low and Reverse Clutch
(655)Spring, Low and Reverse Clutch Release
(657)Ring, Snap (Retainer)
(658)Plate Assembly, Low and Reverse Clutch
(659)Plate, Low and Reverse Clutch Backing (Selective)
(660)Spacer, Reverse Housing/Low Roller Race (Selective)
(661)Race, Low Roller Clutch
(662)Roller Assembly, Low Roller Clutch
(663)Washer, Reaction Carrier/Low Roller Race Thrust
(664)Bushing, Reaction Carrier
(665)Carrier Assembly, Reaction
(666)Washer, Reaction Carrier/Reaction Internal Gear Thrust
(667)Bearing, Reaction Sun/Reaction Internal Gear Thrust
(668)Gear, Reaction Internal
(669)Shaft, Final Drive Sun Gear
(671)Spacer, Final Drive Sun Gear
(688)Plate, Low and Reverse Clutch Waved
(688)Plate, Low and Reverse Clutch Waved
Figure 12:

Final Drive and Differential Carrier Assembly


Object Number: 25454  Size: MF
(673)Gear, Final Drive Internal
(674)Bearing, Thrust Sun Gear/Final Drive Internal Gear
(675)Gear, Final Drive Sun
(676)Bearing, Thrust Sun Gear/Differential Carrier
(677)Ring, Spiral Pinion Retainer
(678)Differential, Carrier Assembly
(679)Gear, Governor Drive
(680)Washer, Differential Carrier/Case Selective Thrust
(681)Bearing Assembly, Differential Carrier/Case Thrust
(682)Shaft, Differential Pinion
(683)Pin, Differential Pinion Shaft Retainer
(684)Washer, Differential Pinion Shaft Retainer
(684)Washer, Differential Pinion Shaft Retainer
(685)Pinion, Differential
(685)Pinion, Differential
(686)Washer, Differential Side Gear Thrust
(686)Washer, Differential Side Gear Thrust
(687)Gear, Differential Side
(687)Gear, Differential Side
Figure 13:

Parking Lock Assembly


Object Number: 71947  Size: MF
(701)Rod and Retainer Assembly
(702)Detent Lever to Shaft Pin
(703)Manual Detent Lever and Hub Assembly
(704)Manual Shaft
(705)Parking Lock Actuator Assembly
(706)Parking Lock Pawl
(707)Parking Pawl Return Spring
(708)Parking Pawl Shaft Retainer
(709)Parking Lock Pawl Shaft
(710)Parking Lock Bracket
(711)Dipstick Stop and Filter Bracket
(712)Parking Lock Bracket Screw (M8 X 1.25 X 20)
(713)Manual Shaft/Case Retaining Pin