Tools Required
- If the reverse clutch inner seal assembly (456)
was damaged and removed, install a new reverse clutch inner seal assembly (456).
Use the J 41233
.
- Assemble the reverse clutch piston and seal assembly (456).
In order to aid in the assembly, lubricate the seal with transmission fluid.
- Assemble the reverse clutch return spring and retainer assembly (458)
with the smaller outside diameter down.
- Compress the reverse clutch return spring.
Use the J 41232
and J 23327
.
- Assemble the return spring snap ring (459).
- Remove the J 41232
and J 23327
.
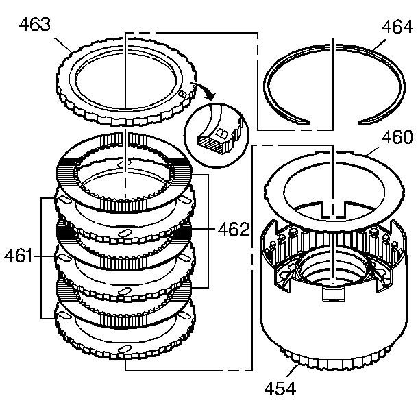
- Assemble the wave plate (460).
- Assemble the three steel plates (461) and the three new
fiber plates (462) in alternating order beginning with a steel plate (461).
- Measure the distance between the top of
the snap ring groove and the top friction plate (record measurement).
- Refer to the Reverse Clutch Backing Plate Specifications table
in
Transmission General Specifications
, in order to select the appropriate
backing plate required to assemble the reverse input and 2nd roller clutch
assembly. You will find the backing plate identification stamped onto the
beveled side of the backing plate.
- Assemble the reverse clutch backing plate with the beveled edge
up.
- Assemble the snap ring in the reverse clutch housing in order
to retain the reverse clutch plates.