GM Service Manual Online
For 1990-2009 cars only
Figure 1:

Power, Ground, Serial Data


Object Number: 1400626  Size: FS
Master Electrical Component List
Body Control System Description and Operation
Body Control Controlled/Monitored Subsystem References - Page 1 of 3
Fuse Block - Underhood BATT 1 Fuse, Fuse Block - I/P MIR/DLC, RT HDLP, FLS/PASS, RDO/INTLP, RFA/BATT, AMPL Fuses
Fuse Block - I/P WIPER, BCM, HAVC, 02 HTR Fuses and PWR WDO Circuit Breaker
Fuse Block I/P, TURN B/U, IGN MDL, PCM , BCM/CLU Fuses
Fuse Block I/P, TURN B/U, IGN MDL, PCM , BCM/CLU Fuses
Fuse Block - Underhood BATT 1 Fuse, Fuse Block - I/P MIR/DLC, RT HDLP, FLS/PASS, RDO/INTLP, RFA/BATT, AMPL Fuses
Fuse Block - Underhood BATT 1 Fuse, Fuse Block - I/P MIR/DLC, RT HDLP, FLS/PASS, RDO/INTLP, RFA/BATT, AMPL Fuses
Fuse Block - I/P CIG, HORN, LT HDLP, CLUSTR, EXT LP, FOG Fuses and HDLP Circuit Breaker
Fuse Block - I/P CIG, HORN, LT HDLP, CLUSTR, EXT LP, FOG Fuses and HDLP Circuit Breaker
G110
G102
Data Link Connector (DLC)
Figure 2:

Controlled/Monitored Subsystem References 1 of 3


Object Number: 787660  Size: FS
Master Electrical Component List
Body Control System Description and Operation
Body Control Controlled/Monitored Subsystem References - Page 2 of 3
Body Control Power, Ground and Serial Data
Door Lock Motors - w/AUO
Body Rear End
Controls and Indicators - Domestic
Door Switch Signals and Courtesy Lamps Controls
Door Switch Signals and Courtesy Lamps Controls
Door Switch Signals and Courtesy Lamps Controls
Door Lock/Indicator Switches and Controls - w/AUO
Door Lock/Indicator Switches and Controls - w/AUO
Figure 3:

Controlled/Monitored Subsystem References 2 of 3


Object Number: 1404691  Size: FS
Master Electrical Component List
Body Control System Description and Operation
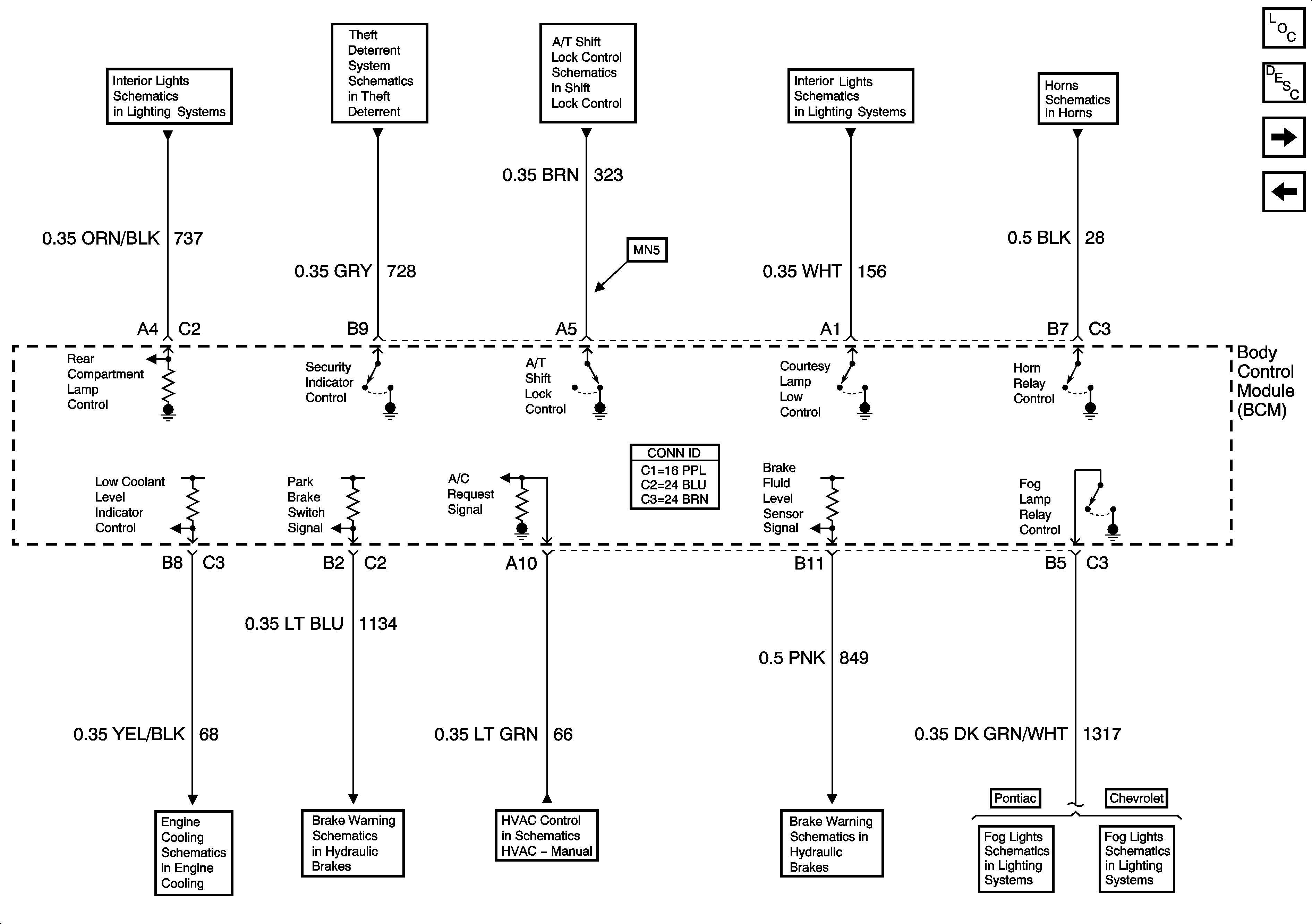
Body Control Controlled/Monitored Subsystem References - Page 3 of 3
Body Control Controlled/Monitored Subsystem References - Page 1 of 3
Door Switch Signals and Courtesy Lamps Controls
Theft Deterrent System
Shift Lock Control
Courtesy/Reading Lamps
Horns
Engine Cooling Schematics
Brake Warning System Schematic
Compressor Controls
Brake Warning System Schematic
Front Fog Lamps - Pontiac
Front Fog Lamps - Chevrolet
Figure 4:

Controlled/Monitored Subsystem References 3 of 3


Object Number: 860648  Size: FS
Master Electrical Component List
Body Control System Description and Operation
Body Control Controlled/Monitored Subsystem References - Page 2 of 3
Controls and Indicators - Domestic
Controls and Indicators - Domestic
Park Lamps Controls and Repeater Lamps - Chevrolet
Audible Warnings
Fog Lamps - Export
Dimmer Controls
Interior Controls Illumination Lamps
Front Fog Lamps - Pontiac
Front Fog Lamps - Chevrolet
ABS Indicators and Switches
Theft Deterrent System