GM Service Manual Online
For 1990-2009 cars only
Figure 1:

Power, Ground, MIL and DLC


Object Number: 384206  Size: FS
Handling Electrostatic Discharge Sensitive Parts Notice
Handling Electrostatic Discharge Sensitive Parts Notice
Handling Electrostatic Discharge Sensitive Parts Notice
Engine Controls Components
OBDII Symbol Description Notice
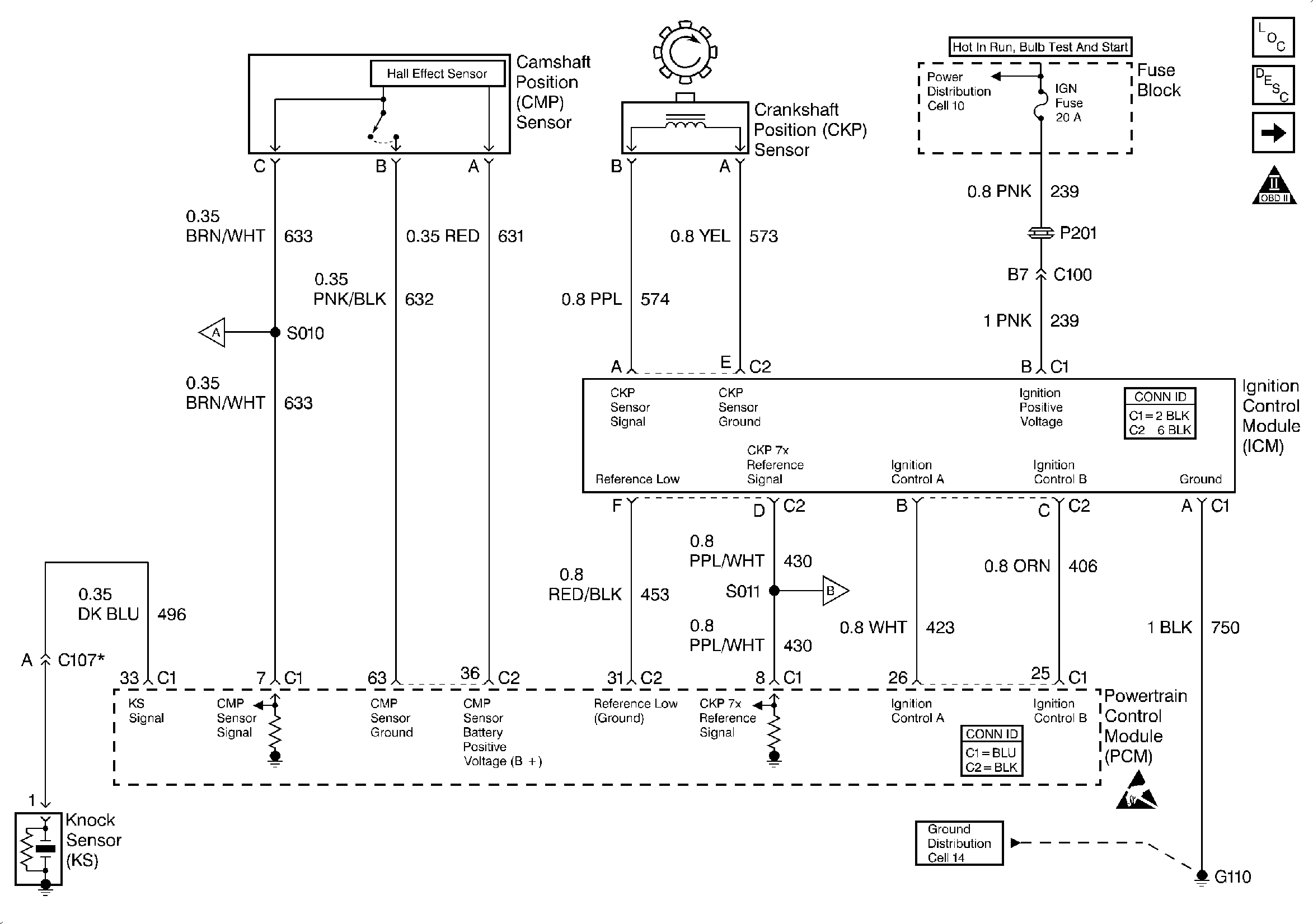
Figure 2:

Ignition Controls (1 of 2)


Object Number: 384207  Size: FS
Handling Electrostatic Discharge Sensitive Parts Notice
Engine Controls Components
Powertrain Control Module Description
Ignition Controls (2 of 2)
OBDII Symbol Description Notice
Figure 3:

Ignition Controls (2 of 2)


Object Number: 384208  Size: FS
Handling Electrostatic Discharge Sensitive Parts Notice
Engine Controls Components
Alternative Fuel Engine Control Unit
Ignition Controls (1 of 2)
OBDII Symbol Description Notice
Figure 4:

CNG Fuel Controls (1 of 3)


Object Number: 384210  Size: FS
Handling Electrostatic Discharge Sensitive Parts Notice
Handling Electrostatic Discharge Sensitive Parts Notice
Handling Electrostatic Discharge Sensitive Parts Notice
Engine Controls Components
Fuel Metering System Component Description
CNG Fuel Controls (2 of 3)
OBDII Symbol Description Notice
Figure 5:

CNG Fuel Controls (2 of 3)


Object Number: 384211  Size: FS
Handling Electrostatic Discharge Sensitive Parts Notice
Handling Electrostatic Discharge Sensitive Parts Notice
Engine Controls Components
Fuel Metering System Component Description
CNG Fuel Controls (3 of 3)
CNG Fuel Controls (1 of 3)
OBDII Symbol Description Notice
Figure 6:

CNG Fuel Controls (3 of 3)


Object Number: 384212  Size: FS
Handling Electrostatic Discharge Sensitive Parts Notice
Engine Controls Components
Powertrain Control Module Description
CNG Fuel Controls (2 of 3)
OBDII Symbol Description Notice
Figure 7:

Engine Data Sensors (1 of 2)


Object Number: 384214  Size: FS
Handling Electrostatic Discharge Sensitive Parts Notice
Handling Electrostatic Discharge Sensitive Parts Notice
Engine Controls Components
Powertrain Control Module Description
Engine Data Sensors (2 of 2)
OBDII Symbol Description Notice
Figure 8:

Engine Data Sensors (2 of 2)


Object Number: 384215  Size: FS
Handling Electrostatic Discharge Sensitive Parts Notice
Engine Controls Components
Alternative Fuel Engine Control Unit
Engine Data Sensors (1 of 2)
OBDII Symbol Description Notice
Figure 9:

EVAP and EGR Controls (1 of 2)


Object Number: 384217  Size: FS
Handling Electrostatic Discharge Sensitive Parts Notice
Engine Controls Components
Powertrain Control Module Description
EVAP and EGR Controls (2 of 2)
OBDII Symbol Description Notice
Figure 10:

EVAP and EGR Controls (2 of 2)


Object Number: 384219  Size: FS
Handling Electrostatic Discharge Sensitive Parts Notice
Engine Controls Components
Alternative Fuel Engine Control Unit
EVAP and EGR Controls (1 of 2)
OBDII Symbol Description Notice
Figure 11:

Oxygen Sensors


Object Number: 384221  Size: FS
Handling Electrostatic Discharge Sensitive Parts Notice
Engine Controls Components
Powertrain Control Module Description
OBDII Symbol Description Notice
Figure 12:

IAC Valve, Generator, TR, Oil, and Coolant Switches (1 of 2)


Object Number: 384223  Size: FS
Handling Electrostatic Discharge Sensitive Parts Notice
Engine Controls Components
Powertrain Control Module Description
IAC Valve, Generator, TR, Oil, and Coolant Switches (2 of 2)
OBDII Symbol Description Notice
Figure 13:

IAC Valve, Generator, TR, Oil, and Coolant Switches (2 of 2)


Object Number: 384225  Size: FS
Handling Electrostatic Discharge Sensitive Parts Notice
Engine Controls Components
Alternative Fuel Engine Control Unit
IAC Valve, Generator, TR, Oil, and Coolant Switches (1 of 2)
OBDII Symbol Description Notice
Figure 14:

VSS and Cruise Control


Object Number: 384462  Size: FS
Handling Electrostatic Discharge Sensitive Parts Notice
Handling Electrostatic Discharge Sensitive Parts Notice
Handling Electrostatic Discharge Sensitive Parts Notice
Handling Electrostatic Discharge Sensitive Parts Notice
Handling Electrostatic Discharge Sensitive Parts Notice
Engine Controls Components
Powertrain Control Module Description
OBDII Symbol Description Notice
Figure 15:

Cooling Fan Controls


Object Number: 384463  Size: FS
Handling Electrostatic Discharge Sensitive Parts Notice
Engine Controls Components
Powertrain Control Module Description
OBDII Symbol Description Notice