GM Service Manual Online
For 1990-2009 cars only

Product Safety 00002 - Fuel Line and HPR (High Pressure Regulator) Lines

Subject:00002 -- Fuel Line and HPR (High Pressure Regulator) Lines

Models:1998 Chevrolet Bi-Fuel CNG (Compressed Natural Gas) Cavalier (RPO KL6)



The Highway Safety Act, as amended, provides that each vehicle which is subject to a recall campaign of this type must be adequately repaired within a reasonable time after the customer has tendered it for repair. A failure to repair within sixty (60) days after tender of a vehicle is prima facie evidence of failure to repair within a reasonable time.

If the condition is not adequately repaired within a reasonable time, the customer may be entitled to an identical or reasonably equivalent vehicle at no charge or to a refund of the purchase price less a reasonable allowance for depreciation.

To avoid having to provide these burdensome remedies, every effort must be made to promptly schedule an appointment with each customer and to repair their vehicle as soon as possible. As you will see in reading the attached copy of the divisional letter that is being sent to customers, the customers are being instructed to contact the appropriate Customer Assistance Center if their dealer does not remedy the condition within five (5) days of the mutually agreed upon service date. If the condition is not remedied within a reasonable time, they are instructed on how to contact the National Highway Traffic Safety Administration.

Defect Involved

General Motors has decided that a defect which relates to motor vehicle safety exists in certain 1998 Chevrolet Bi-Fuel CNG (Compressed Natural Gas) Cavalier model vehicles. In some of these vehicles, the CNG fuel line and the CNG HPR (High Pressure Regulator) coolant lines can contact other fuel (gasoline) and brake lines on the vehicle. Abrasion from such contact could cause a leak in the brake pipe, fuel pipe, or both. A brake fluid leak could disable a portion of the brake system without prior warning, causing longer stopping distances and possibly a crash. Gasoline leaking from a fuel pipe, in the presence of an ignition source, could cause a vehicle fire.

To prevent the possibility of this condition occurring, dealers are to inspect and reposition the CNG fuel and coolant pipes and reposition/repair any damaged fuel or brake pipes as necessary.

Vehicles Involved

Involved are all 1998 Chevrolet Bi-Fuel CNG (Compressed Natural Gas) Cavalier model vehicles (RPO KL6) built within the following VIN breakpoints:

Year

Division

Model

Plant

From

Through

1998

Chevrolet

Cavalier

Ramos

WS814630

WS872036

Important: Dealers should confirm vehicle eligibility through VISS (Vehicle Information Service System). [Not all vehicles within the above breakpoints may be involved.]

Involved vehicles have been identified by Vehicle Identification Number. Computer listings containing the complete Vehicle Identification Number, customer name and address data have been prepared, and are being furnished to involved dealers with the campaign bulletin. The customer name and address data furnished will enable dealers to follow-up with customers involved in this campaign. Any dealer not receiving a computer listing with the campaign bulletin has no involved vehicles currently assigned.

These dealer listings may contain customer names and addresses obtained from State Motor Vehicle Registration Records. The use of such motor vehicle registration data for any other purpose is a violation of law in several states. Accordingly, you are urged to limit the use of this listing to the follow-up necessary to complete this campaign.

Parts Information

Parts required to complete this campaign are to be obtained from General Motors Service Parts Operations (GMSPO). Please refer to your "involved vehicles listing" prior to ordering parts. Normal orders should be placed on a DRO = Daily Replenishment Order. In an emergency situation, parts should be ordered as CSO = Customer Special Order.

Part Number

Description

Qty/ Vehicle

52369954

Retainer Kit, CNG Pressure Shutoff Valve Pipe

0 or 1

12547207

Pipe, Brake (3/16" bulk)

As required

11516402

Fitting, Rear Brake Pipe (Male M10 X 1)

0 to 6

25611570

Fitting, Rear Brake Pipe ( Female M10 X 1)

0 to 4

22657463

Pipe Asm, Brake & Fuel Feed & Fuel Return & Evaporator Emission

0 or 1

12377967

Fluid, Hydraulic Brake

As required

Important: Due to the small number of vehicles involved and due to limited initial parts availability, dealers are encouraged NOT to order campaign parts for use as shelf stock. Parts should only be ordered when inspection determines that it is necessary for proper positioning and retention of brake or fuel pipes or for replacement of pipes.

Customer Notification

Customers will be notified of this campaign on their vehicles by General Motors (see copy of typical customer letter included with this bulletin - actual divisional letter may vary slightly).

Dealer Campaign Responsibility

All unsold new vehicles in dealers' possession and subject to this campaign MUST be held and inspected/repaired per the service procedure of this campaign bulletin BEFORE customers take possession of these vehicles.

Dealers are to service all vehicles subject to this campaign at no charge to customers, regardless of mileage, age of vehicle, or ownership, from this time forward.

Customers who have recently purchased vehicles sold from your vehicle inventory, and for which there is no customer information indicated on the dealer listing, are to be contacted by the dealer. Arrangements are to be made to make the required correction according to the instructions contained in this bulletin. This could be done by mailing to such customers a copy of the customer letter accompanying this bulletin. Campaign follow-up cards should not be used for this purpose, since the customer may not as yet have received the notification letter.

In summary, whenever a vehicle subject to this campaign enters your vehicle inventory, or is in your dealership for service in the future, please take the steps necessary to be sure the campaign correction has been made before selling or releasing the vehicle.

Service Procedure

Important: The following service procedure requires inspection of the vehicle brake pipes and gasoline fuel pipes (feed, return, and evaporative) for any indications of excessive wear due to contact with a CNG pipe or other surface.

   • Any brake pipe(s) exhibiting excessive wear is to be repaired following the instructions in Step 3 of this service procedure. Brake pipe armor must be reinstalled to any section of brake pipe that was previously armor-protected.
   • Any gasoline fuel pipe(s) exhibiting excessive wear will require installation of a new gasoline fuel pipe bundle following service manual procedure.
If no damage to any brake or fuel pipe is found, the routing and retention of the vehicle brake and fuel pipes is to be inspected and corrected as necessary.

  1. Raise and properly support the vehicle.
  2. Underbody Diagram


    Object Number: 693028  Size: MF
  3. Perform a complete inspection of the vehicle rear brake pipes and the gasoline fuel pipes for any indication of excessive wear. Refer to the underbody diagram.
  4. If excessive wear is found on a gasoline fuel feed, return, or evaporative pipe, install a new gasoline fuel pipe bundle, P/N 22657463. Refer to the 1998 Cavalier Service Manual for replacement procedures. If excessive wear is found on a brake pipe, repair using the following steps (If the brake pipes and the gasoline fuel pipes are found to be in good condition, proceed to Step 4 of this procedure):
  5. 3.1. Remove the damaged pipe or section of pipe.
    3.2. Cut the required length of replacement pipe from bulk pipe, P/N 12457207, and de-burr both ends.
    3.3. Place the appropriate new fittings on the pipe. Make sure the fittings are correctly oriented.
    3.4. Use flaring tool J 29803-A to apply an iso-flare to each end. Refer to page 5-58 of the 1998 Cavalier Service Manual.
    3.5. Carefully bend/form the pipe to match the replaced piece.
    3.6. Position the pipe ends and hand-tighten the fittings.

    Tighten
    Tighten the fittings to 15 N·m (11 lb ft) using a backup wrench.

    3.7. Bleed the brakes following the bleeding procedure from the Brakes section of the Service Manual.
  6. After making any required brake pipe repairs or replacement of the gasoline fuel pipe bundle, carefully inspect the CNG fuel pipe and the CNG high pressure regulator coolant pipes for proper routing and retention following Steps 5 through 12 of this service procedure.

  7. Object Number: 693035  Size: SH
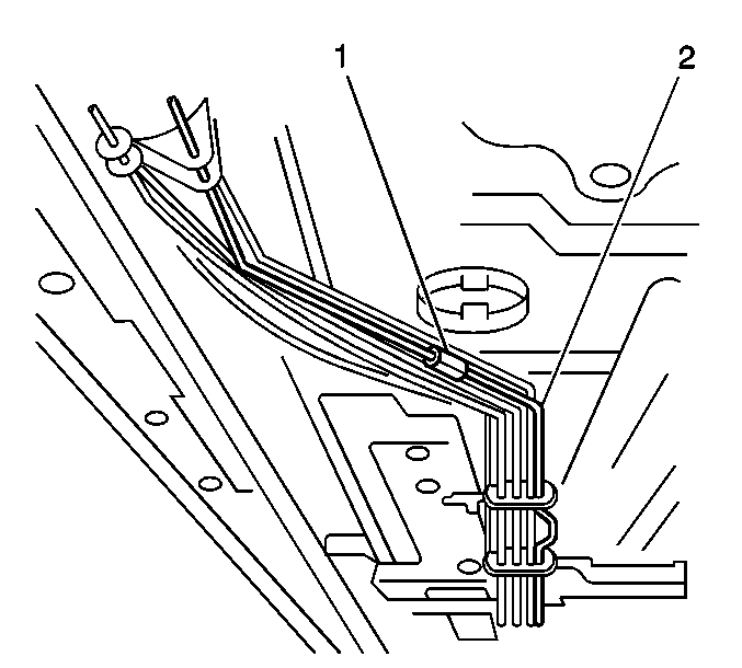
  8. Inspect for missing CNG fuel pipe retainer or the CNG fuel pipe retainer bracket at location #1 of the underbody diagram.
  9. If the CNG fuel pipe retainer (1) bracket (3), or both are missing, it will be necessary to unclip the two fuel pipe retainers located downstream on the CNG fuel pipe and then install the new bracket (3) and fuel pipe retainer (1) (supplied in the kit) to the CNG fuel pipe (2).


    Object Number: 693037  Size: SH
  10. Inspect the two fuel pipe retainers at location #2 of the underbody diagram.
  11. If either of the CNG fuel pipe retainers (1, 2) are missing or detached from the CNG fuel pipe, install a new fuel line retainer (supplied in the kit) to the CNG fuel line.


    Object Number: 693039  Size: SH
  12. Inspect for clearance between the CNG fuel pipe and the gasoline fuel pipe at location #3 of the underbody diagram.
  13. If the clearance is not sufficient (approximately 3 mm (1.8 in)), install the rubber insulator (1) (supplied in the kit) to the CNG fuel pipe (2) in order to attain sufficient clearance).


    Object Number: 693040  Size: SH
  14. Inspect for missing CNG fuel pipe retainer on the CNG fuel line from the high pressure regulator (HPR) to the 1/4-turn valve at location #4 of the underbody diagram.
  15. If the CNG fuel pipe retainer (2) is missing or detached from the CNG fuel pipe (1), install a new CNG fuel pipe retainer (supplied in the kit) to the CNG fuel pipe.


    Object Number: 693041  Size: SH
  16. Inspect the HPR coolant pipes for sufficient clearance (approximately 3 mm (1.8 in)) between the gasoline fuel tank and the right rear brake pipe at location #5 of the underbody diagram.
  17. If sufficient clearance is not present (approximately 3 mm (1/8 in)), loosen the coolant pipe bracket bolt (1) and adjust the coolant pipe bracket (2) as necessary to attain a minimum of 3 mm (1/8 in) clearance.

  18. Lower the vehicle and open the hood of the vehicle.

  19. Object Number: 693042  Size: SH
  20. Inspect for a missing or detached CNG fuel pipe retainer on the CNG fuel pipe under the brake booster at location #1 of the underbody diagram.
  21. If the CNG fuel pipe retainer (1) is missing or detached from the CNG fuel pipe (2), remove the air cleaner housing. Install a new fuel pipe retainer to the pipe. After installing the new fuel pipe retainer, install the air cleaner housing.

  22. Verify that the CNG fuel pipe is properly installed in the two retainers along the rear of the intake manifold.
  23. • If the CNG fuel pipe is detached from the retainers, reinstall the pipe into the existing retainers. The inspection and repair is now complete.
    • If the CNG fuel pipe is properly installed and retained, the inspection and repair is not complete.
  24. Install the GM Campaign Identification Label.

Campaign Identification Label

Each vehicle corrected in accordance with the instructions outlined in this Product Campaign Bulletin will require a "Campaign Identification Label". Each label provides a space to include the campaign number and the five (5) digit dealer code of the dealer performing the campaign service. This information may be inserted with a typewriter or a ball point pen.

Each "Campaign Identification Label" is to be located on the radiator core support in an area which will be visible when the vehicle is brought in by the customer for periodic servicing. When installing the Campaign Identification Label, be sure to pull the tab to allow the adhesion of the clear protective covering. Additional Campaign Identification Labels can be obtained from Dealer Support Materials by calling 1-888-414-6322 (Monday-Friday, 8:00 am to 5:00 pm EST). Ask for Item Number S-1015 when ordering.

Apply the "Campaign Identification Label" only on a clean, dry surface.

Claim Information

Submit a Product Campaign Claim with the information indicated below.

Repair Performed

Part Count

Part No.

Parts Allow

CC-FC

Labor Op

Labor Hours*

Net Item

Inspect only -- fuel and brake pipes.

0

--

--

MA-96

V0455

0.4 hr

--

Inspect, reposition, and install retainers, clips or insulators to fuel & brake pipes.

1

52369954

**

MA-96

V0456

0.7 hr

--

Add: Replace fuel pipe bundle

1

22657463

1.2 hrs

--

Add: Repair brake pipe(s) as required

3 to 6

12457207

0.4 hr

***

* -- For Campaign Administrative Allowance, add 0.1 hours to the "Labor Hours".

** -- The "Parts Allowance" should be the sum total of the current GMSPO Dealer Net price plus 40% for gasoline fuel pipe bundle, brake pipe fittings, clips, clamps, and brake pipe armor needed to complete the repair.

*** -- The amount identified in the "Net Item" column should represent the sum total of the Current GMSPO Net Price plus 40% for bulk brake pipe tubing and brake fluid needed to perform the required repairs.

Refer to the General Motors Corporation Claims Processing Manual for details on Product Campaign Claim Submission.

March, 2000

Dear Chevrolet Customer:

This notice is sent to you in accordance with the requirements of the National Traffic and Motor Vehicle Safety Act.

Reason For This Recall

General Motors has decided that a defect which relates to motor vehicle safety exists in certain 1998 Chevrolet Bi-Fuel CNG (Compressed Natural Gas) Cavalier model vehicles. In some of these vehicles, the CNG fuel line and the CNG HPR (High Pressure Regulator) coolant lines can contact other fuel (gasoline) and brake lines on the vehicle. Abrasion from such contact could cause a leak in the brake pipe, fuel pipe, or both. A brake fluid leak could disable a portion of the brake system without prior warning, causing longer stopping distances and possibly a crash. Gasoline leaking from a fuel pipe, in the presence of an ignition source, could cause a vehicle fire.

What Will Be Done

To prevent the possibility of this condition occurring, dealers are to inspect and reposition the CNG fuel and coolant pipes and reposition/repair any damaged fuel or brake pipes as necessary. This service will be performed for you at no charge .

How Long Will The Repair Take?

The length of time required to perform this inspection and service correction is approximately two hours, twenty minutes. Additional time may be required to schedule and process your vehicle. If you dealer has a large number of vehicles awaiting service, this additional time may be significant. Please ask your dealer if you wish to know how much additional time will be needed to schedule, process and repair your vehicle.

Contacting Your Dealer

Please contact your Chevrolet dealer as soon as possible to arrange a service date. Parts are available and instructions for making this correction have been sent to your dealer.

Your Chevrolet dealer is best equipped to obtain parts and provide services to correct your vehicle as promptly as possible. Should your dealer be unable to schedule a service date within a reasonable time, you should contact the appropriate Customer Assistance/Relations Center at the number listed below:

Division

Number

Deaf, Hearing Impaired, or Speech Impaired*

Chevrolet

1-800-222-1020

1-800-833-2438

* Utilizes Telecommunication Devices for the Deaf/Text Telephones (TDD/TTY)

If, after contacting the appropriate customer assistance center, you are still not satisfied that we have done our best to remedy this condition without charge and within a reasonable time, you may wish to write the Administrator, National Highway Traffic Safety Administration, 400 Seventh Street SW, Washington, DC 20590 or call 1-800-424-9393 (Washington, DC residents use 202-366-0123).

Customer Reply Card

The attached customer reply card identifies your vehicle. Presentation of this card to your dealer will assist in making the necessary correction in the shortest possible time. If you no longer own this vehicle, please let us know by completing the postage paid reply card and returning it to us.

Courtesy Transportation

Your dealer will provide you with shuttle service or some other form of courtesy transportation while your vehicle is at the dealership for this repair. Please refer to your Owner's Manual and your dealer for details on Courtesy Transportation.

We are sorry to cause you this inconvenience; however, we have taken this action in the interest of your safety and continued satisfaction with our products.

Chevrolet Motor Division

General Motors Corporation

Enclosure