GM Service Manual Online
For 1990-2009 cars only

Power Steering Pump Replacement Saginaw with Integral Reservoir

Removal Procedure

Tools Required

J 42971 Quick Connect Release Tool

Important: Always clean the connectors and lubricate the tool end in power steering fluid when inserting into the coupling.

Important: Check all power steering system quick connect connections by trying to pull the hose assembly out of the fitting using a firm hand tug. Repeat the step if the connector is pulled out of the male fitting. If the problem persists, inspect and replace the hose assembly if the quick connect is damaged.


    Object Number: 218904  Size: MH
  1. Disconnect the power steering hoses at the pump (15).
  2. Cap the hoses in order to prevent dirt from entering the system.
  3. Tag the hose locations.
  4. Use the following steps in order to remove the drive belt:
  5. 4.1. Loosen the two front bolts (9) and the rear nut (3).
    4.2. Move the pump inboard.
    4.3. Remove the drive belt. Refer to Drive Belt Replacement .
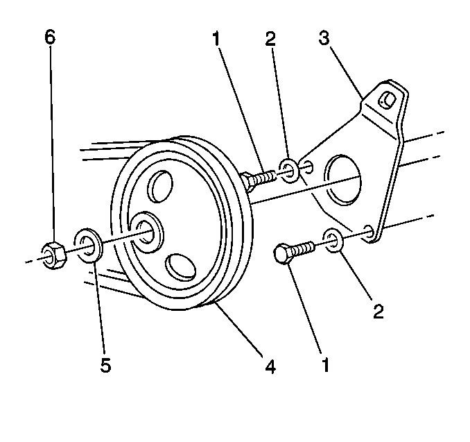
  6. Remove the nut (11) and the washer (10).
  7. Notice: Do not hammer the pulley off the shaft. The pulley or the pump may be damaged.

  8. Use a suitable puller in order to remove the pulley (12).
  9. Remove the nut (3) and the washer (2).
  10. Remove the bolts (4) and the washers (5).
  11. Remove the rear bracket (6).
  12. Remove the following components:
  13. 10.1. Two bolts (9)
    10.2. The washers (8)
  14. Remove the front adjustment bracket (13).
  15. Remove the pump (15).

Installation Procedure


    Object Number: 218904  Size: MH
  1. Install the pump (15) to the front bracket (14).
  2. Install the front adjustment bracket (13).
  3. Install the following components to the pump (15):
  4. 3.1. The washers (8)
    3.2. The bolts (9)
  5. Install the rear bracket (6) to the engine.
  6. Notice: Use the correct fastener in the correct location. Replacement fasteners must be the correct part number for that application. Fasteners requiring replacement or fasteners requiring the use of thread locking compound or sealant are identified in the service procedure. Do not use paints, lubricants, or corrosion inhibitors on fasteners or fastener joint surfaces unless specified. These coatings affect fastener torque and joint clamping force and may damage the fastener. Use the correct tightening sequence and specifications when installing fasteners in order to avoid damage to parts and systems.

  7. Install the following components:
  8. 5.1. The washers (5)
    5.2. The bolts (4)

    Tighten
    Tighten the rear bracket bolts to 37 N·m (27 lb ft).

  9. Install the following components:
  10. 6.1. The washer (2)
    6.2. The nut (3)

    Notice: Do not hammer the pulley onto the shaft. The pulley or the pump may be damaged.

  11. Use a suitable pulley installer in order to install the pulley (12).
  12. Install the washer (10).
  13. Install the nut (11).
  14. Tighten
    Tighten the pulley nut to 64 N·m (47 lb ft).

  15. Install the drive belt. Refer to Drive Belt Replacement .
  16. Tighten the pump mounting bolts (9).
  17. Tighten
    Tighten the pump mounting bolts to 37 N·m (27 lb ft).

  18. Tighten the pump mounting nut (3).
  19. Tighten
    Tighten the pump mounting nut to 26 N·m (19 lb ft).

  20. Connect the hoses.
  21. Refill the power steering reservoir. Refer to Fluid and Lubricant Recommendations .
  22. Bleed the power steering system. Refer to Power Steering System Bleeding .

Power Steering Pump Replacement Saginaw with Remote Reservoir

Removal Procedure

Tools Required

J 42971 Quick Connect Release Tool

Important: Always clean the connectors and lubricate the tool end in power steering fluid when inserting into the coupling.

Important: Check all power steering system quick connect connections by trying to pull the hose assembly out of the fitting using a firm hand tug. Repeat the step if the connector is pulled out of the male fitting. If the problem persists, inspect and replace the hose assembly if the quick connect is damaged.

  1. Cap the hoses in order to prevent dirt from entering the system.
  2. Tag the hose locations.

  3. Object Number: 218236  Size: SH
  4. Remove the steering hoses at the pump (8).
  5. Loosen the pump drive belt front bolts (1).
  6. Loosen the pump drive belt rear nuts (4).
  7. Move the pump inboard.
  8. Remove the pump drive belt.
  9. Remove the nuts (4).
  10. Remove the washers (3).

  11. Object Number: 218232  Size: SH
  12. Use a suitable puller in order to remove the pulley (4).
  13. Remove the following components:
  14. • The nut (6)
    • The washer (5)
    • The clip (2)
    • The bolt (6)

    Object Number: 218236  Size: SH
  15. Remove the rear bracket (7).

  16. Object Number: 218232  Size: SH
  17. Remove the front bolts (1).
  18. Remove the front washers (2).
  19. Remove the front adjustment bracket (3).

  20. Object Number: 218236  Size: SH
  21. Remove the pump (8).

Installation Procedure


    Object Number: 218236  Size: SH
  1. Install the pump (8) to the front bracket (9).

  2. Object Number: 218232  Size: SH
  3. Install the front adjustment bracket (3).
  4. Install the following components to the pump:
  5. • The washers (2)
    • The bolts (1)

    Object Number: 218236  Size: SH
  6. Install the rear bracket (7).
  7. Notice: Use the correct fastener in the correct location. Replacement fasteners must be the correct part number for that application. Fasteners requiring replacement or fasteners requiring the use of thread locking compound or sealant are identified in the service procedure. Do not use paints, lubricants, or corrosion inhibitors on fasteners or fastener joint surfaces unless specified. These coatings affect fastener torque and joint clamping force and may damage the fastener. Use the correct tightening sequence and specifications when installing fasteners in order to avoid damage to parts and systems.

  8. Install the following components:
  9. 5.1. The washer (5)
    5.2. The bolts (6)

    Tighten
    Tighten the rear bracket mounting bolts to 37 N·m (27 lb ft).

  10. Install the clip (2).
  11. Install the following components:
  12. 7.1. The washers (3)
    7.2. The nuts (4)

    Object Number: 218232  Size: SH
  13. Install the pulley (4).
  14. Install the following components:
  15. 9.1. The washer (5)
    9.2. The nut (6)

    Tighten
    Tighten the pulley nut to 64 N·m (47 lb ft).

  16. Install the drive belt. Refer to Drive Belt Replacement .
  17. Install the pump mounting bolts (1).
  18. Tighten
    Tighten the pump mounting bolts to 37 N·m (27 lb ft).

  19. Tighten the rear pump mounting nuts (4).
  20. Tighten
    Tighten the pump mounting nuts to 26 N·m (19 lb ft).

  21. Install the power steering hoses.
  22. Tighten
    Tighten the hose connections (pressure side) to 28 N·m (21 lb ft).

  23. Install the power steering fluid.
  24. Bleed the system. Refer to Power Steering System Bleeding .

Power Steering Pump Replacement Hobourn with LP4 or L21

Removal Procedure

Tools Required

J 42971 Quick Connect Release Tool

Important: Always clean the connectors and lubricate the tool end in power steering fluid when inserting into the coupling.

Important: Check all power steering system quick connect connections by trying to pull the hose assembly out of the fitting using a firm hand tug. Repeat the step if the connector is pulled out of the male fitting. If the problem persists, inspect and replace the hose assembly if the quick connect is damaged.

  1. Cap the hoses in order to keep dirt from entering the system.
  2. Tag the hose locations.
  3. Remove the hoses from the pump.

  4. Object Number: 294156  Size: SH
  5. Loosen the front bolts (14).
  6. Loosen the rear nuts (3).
  7. Move the pump (8) in order to loosen the drive belt.
  8. Remove the drive belt. Refer to Drive Belt Replacement .
  9. Remove the following components:
  10. 8.1. The pulley retaining bolt (17)
    8.2. The captive washer (16)
  11. Use a suitable puller in order to remove the pulley .
  12. Remove the following components:
  13. 10.1. The rear nuts (3) and washers (2)
    10.2. The rear bracket retaining bolts (4) and washers (5)
  14. Remove the rear bracket (1).
  15. Remove the washer (22) on the rear stud.
  16. Remove the following components:
  17. 13.1. The front bolts (14)
    13.2. The washers (13)
  18. Remove the front adjustment bracket (18).
  19. Remove the pump (8).

Installation Procedure


    Object Number: 294156  Size: SH
  1. Install the pump (8) to the front bracket (12).
  2. Install the front adjustment bracket (18).
  3. Install the front bolts (14) and washers (13)
  4. Install the rear washer (22) on the stud.
  5. Install the rear bracket (9).
  6. Install the washers (10).
  7. Notice: Use the correct fastener in the correct location. Replacement fasteners must be the correct part number for that application. Fasteners requiring replacement or fasteners requiring the use of thread locking compound or sealant are identified in the service procedure. Do not use paints, lubricants, or corrosion inhibitors on fasteners or fastener joint surfaces unless specified. These coatings affect fastener torque and joint clamping force and may damage the fastener. Use the correct tightening sequence and specifications when installing fasteners in order to avoid damage to parts and systems.

  8. Install the bolts (11).
  9. Tighten
    Tighten the rear bracket bolts to 37 N·m (27 lb ft).

  10. Install the rear washer (2) and nut (3).
  11. Install the pulley (15).
  12. Install the captive washer (16).
  13. Install the pulley bolt (17).
  14. Tighten
    Tighten the pulley bolt to 24 N·m (18 lb ft).

  15. Install the drive belt. Refer to Drive Belt Replacement .
  16. Tighten the front bolts (14) and the rear nuts.
  17. Tighten

        • Tighten the front bolts to 37 N·m (27 lb ft).
        • Tighten the rear nuts to 26 N·m (19 lb ft).
  18. Install the power steering fluid.
  19. Bleed the system. Refer to Power Steering System Bleeding .

Power Steering Pump Replacement Hobourn with LG5 and JE3

Removal Procedure

Tools Required

J 42971 Quick Connect Release Tool

Important: Always clean the connectors and lubricate the tool end in power steering fluid when inserting into the coupling.

Important: Check all power steering system quick connect connections by trying to pull the hose assembly out of the fitting using a firm hand tug. Repeat the step if the connector is pulled out of the male fitting. If the problem persists, inspect and replace the hose assembly if the quick connect is damaged.


    Object Number: 218952  Size: SH
  1. Cap the hoses in order to keep dirt out of the system.
  2. Tag the hose locations (1,2).
  3. Remove the power steering hoses at the pump.

  4. Object Number: 227953  Size: SH
  5. Remove the following components:
  6. • The bolts (4)
    • The washers (3)
    • The pump (2)
    • The gasket (1)

Installation Procedure


    Object Number: 227953  Size: SH
  1. Install the gasket (1).
  2. Install the pump (2).
  3. Install the washers (3).
  4. Notice: Use the correct fastener in the correct location. Replacement fasteners must be the correct part number for that application. Fasteners requiring replacement or fasteners requiring the use of thread locking compound or sealant are identified in the service procedure. Do not use paints, lubricants, or corrosion inhibitors on fasteners or fastener joint surfaces unless specified. These coatings affect fastener torque and joint clamping force and may damage the fastener. Use the correct tightening sequence and specifications when installing fasteners in order to avoid damage to parts and systems.

  5. Install the bolts (4).
  6. Tighten
    Tighten the pump mounting bolt to 73 N·m (54 lb ft).


    Object Number: 218952  Size: SH
  7. Install the power steering hoses.
  8. Note the hose locations (1,2).

  9. Install the power steering fluid.
  10. Bleed the system. Refer to Power Steering System Bleeding .

Power Steering Pump Replacement Hobourn with LG5 and JE4

Removal Procedure

Tools Required

J 42971 Quick Connect Release Tool

Important: Always clean the connectors and lubricate the tool end in power steering fluid when inserting into the coupling.

Important: Check all power steering system quick connect connections by trying to pull the hose assembly out of the fitting using a firm hand tug. Repeat the step if the connector is pulled out of the male fitting. If the problem persists, inspect and replace the hose assembly if the quick connect is damaged, the seals or quick connect release sleeve and collar. These are available through GM SPO.


    Object Number: 218959  Size: SH
  1. Cap the hoses in order to keep dirt out of the system.
  2. Tag the hose locations (1,2).
  3. Remove the power steering hoses at the pump.

  4. Object Number: 227955  Size: MH
  5. Remove the following components:
  6. • The bolts (2)
    • The washers (3)
    • The pump (1)
    • The gasket (4)

Installation Procedure


    Object Number: 227955  Size: MH
  1. Install the gasket (4).
  2. Install the pump (1).
  3. Install the washers (3).
  4. Notice: Use the correct fastener in the correct location. Replacement fasteners must be the correct part number for that application. Fasteners requiring replacement or fasteners requiring the use of thread locking compound or sealant are identified in the service procedure. Do not use paints, lubricants, or corrosion inhibitors on fasteners or fastener joint surfaces unless specified. These coatings affect fastener torque and joint clamping force and may damage the fastener. Use the correct tightening sequence and specifications when installing fasteners in order to avoid damage to parts and systems.

  5. Install the bolts.
  6. Tighten
    Tighten the pump mounting bolts to 73 N·m (55 lb ft).


    Object Number: 218959  Size: SH
  7. Install the steering hoses (1,2).
  8. Install the power steering fluid.
  9. Bleed the system. Refer to Power Steering System Bleeding .