GM Service Manual Online
For 1990-2009 cars only
Makes
🢒
Chevrolet
🢒
2004
🢒
Chevy C Silverado - 2WD
🢒
Body
🢒
Wiring Systems
🢒 Theft Deterrent System Schematics
Figure
1:
Vehicle Theft Deterrent
Master Electrical Component List
Vehicle Theft Deterrent (VTD) Description and Operation
Class 2 Communication
Steering Wheel Speed/Position
G203 - 3 of 3
G203 - 1 of 3
G203 - 1 of 3
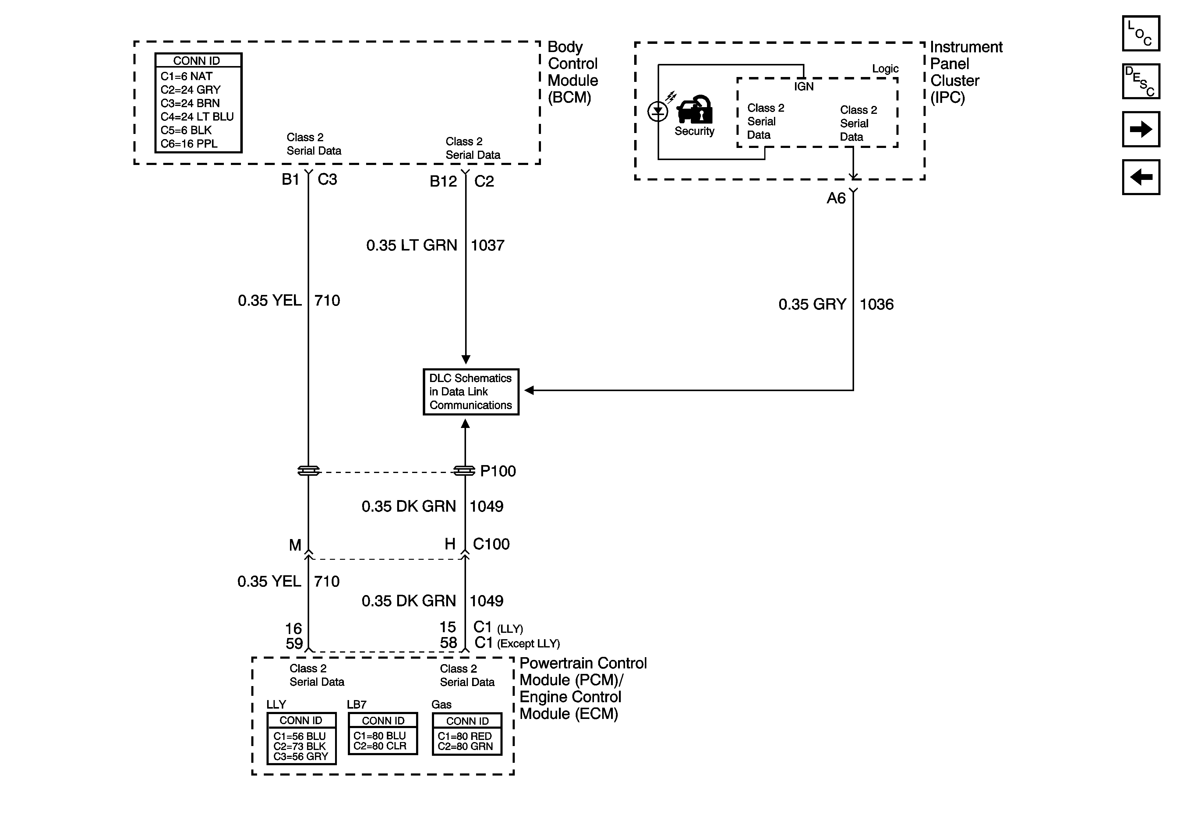
Figure
2:
Class 2 Communication
Master Electrical Component List
Vehicle Theft Deterrent (VTD) Description and Operation
Door Switch Signals
Vehicle Theft Deterrent
SP205 - 2 of 2
Figure
3:
Door Switch Signals
Master Electrical Component List
Content Theft Deterrent (CTD) Description and Operation
Class 2 Communication
Door Jamb Switches - w/o YE9
SP205 - 1 of 2
Door Jamb Switches - w/o YE9
Door Jamb Switches - w/YE9 or Y91
Door Jamb Switches - w/YE9 or Y91