GM Service Manual Online
For 1990-2009 cars only
Makes
🢒
Chevrolet
🢒
2005
🢒
Chevy C Silverado - 2WD
🢒
Transmission/Transaxle
🢒
Automatic Transmission - 4L60-E/4L65-E
🢒 Cooling System Component Views
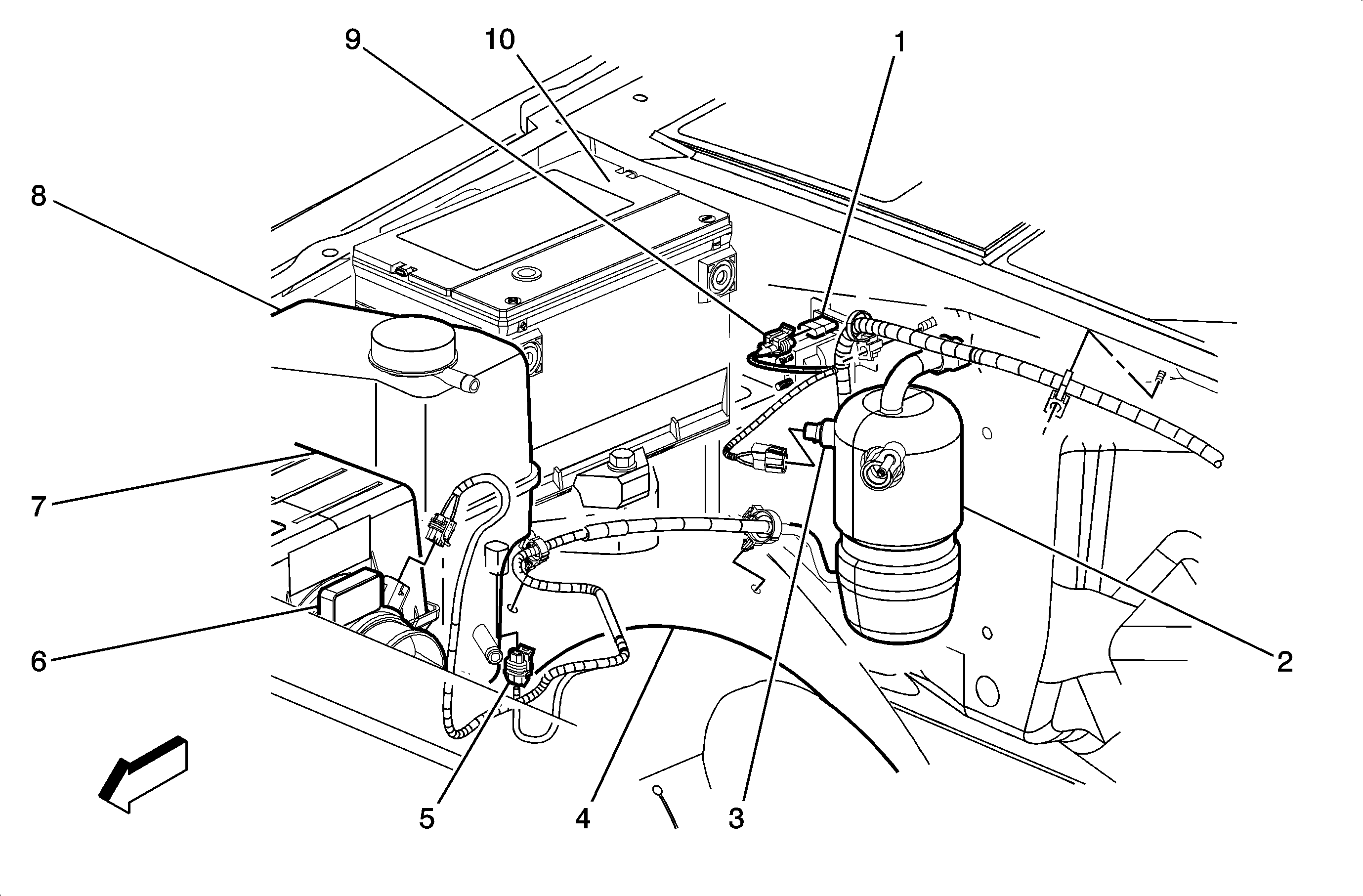
Figure
1:
Right Side of Engine Compartment
(1)
Auxiliary Battery Relay (TP2)
(2)
A/C Accumulator
(3)
A/C Low Pressure Switch
(4)
Inner Wheel Well
(5)
Coolant Level Switch Connector Diesel and 8.1L
(6)
Mass Air Flow (MAF) Sensor
(7)
Air Cleaner Assembly
(8)
Engine Coolant Recovery Reservoir
(9)
Auxiliary Battery Relay Electrical Connector (TP2)
(10)
Battery Right (TP2)
Figure
2:
Auxiliary Water Pump - HP2
(1)
Auxiliary Water Pump
Figure
3:
Starter/Generator Control Module Coolant Pump and Fan - HP2
(1)
Cooling Fan - Right
(2)
Radiator Core Support
(3)
Starter/Generator Control Module Coolant Pump
Figure
4:
Engine Cooling Fans (10 Series)
(1)
Cooling Fan - Left
(2)
Cooling Fan - Right
(3)
Forward Lamp Harness