| Table 1: | WSS Temperature vs. Sensor Resistance (2WD only) | 
| Table 2: | WSS Temperature vs. Sensor Resistance (4WD only) | 
The wheel speed sensor coil emits an electromagnetic field. A toothed ring on the wheel passes by the wheel speed sensor and disrupts this electromagnetic field. The disruption in the field causes the wheel speed sensor to produce a sinusoidal (AC) voltage signal. The frequency and amplitude of the sinusoidal (AC) voltage signal are proportional to the speed of the wheel. The amplitude of the wheel speed signal is also directly related to the distance between the wheel speed sensor coil and the toothed ring. This distance is referred to as the air gap.
| • | The average wheel speed for all wheel signals is greater than 40 km/h (25 mph). | 
| • | The average right front wheel speed is greater than 40 km/h (25 mph). | 
| • | No speed signal input to the EBCM from the right front wheel speed sensor for 15ms. Anything which suddenly prevents (intermittent) the right front wheel speed signal to drop to zero while the vehicle is moving greater than 40 km/h (25 mph). | 
| • | The ABS indicator lamp turns on | 
| • | The ABS disables | 
DTC C0223 is an Ignition Latched DTC, which indicates that the above actions remain true until the ignition is turned to OFF (even if the cause of the DTC is intermittent).
| • | Repair the conditions responsible for setting the DTC | 
| • | Use the Scan Tool Clear DTCs function | 
Any of the following conditions may cause an intermittent malfunction:
| • | A poor connection | 
| • | Wire insulation that is rubbed through | 
| • | A wire breaks inside the insulation | 
Thoroughly check any circuitry that is suspected of causing the intermittent complaint for the following conditions:
| • | Backed out terminals | 
| • | Improper mating | 
| • | Broken locks | 
| • | Improperly formed or damaged terminals | 
| • | Poor terminal to wiring connections | 
| • | Physical damage to the wiring harness | 
If the customer says that the ABS indicator lamp is on only during humid conditions such as rain, snow, or vehicle wash, then thoroughly inspect all wheel speed sensor circuits for signs of water intrusion. Use the following procedure:
If the DTC returns, replace the suspected harness.
When inspecting a wheel speed sensor, inspect the sensor terminals and the harness connector for corrosion. If evidence of corrosion exists, then replace the wheel speed sensor. Refer to Wheel Speed Sensor Replacement .
Resistance of the wheel speed sensor will increase with an increase in sensor temperature. Refer to the following tables for temperature/resistance values.
°C  | °F  | Ohms  | 
|---|---|---|
Temperature vs Resistance Values (Approximate)  | ||
-40 to 4  | -40 to 40  | 1575 to 2420  | 
5 to 43  | 41 to 110  | 1980 to 2800  | 
44 to 93  | 111 to 200  | 2250 to 3280  | 
94 to 150  | 201 to 302  | 2750 to 3850  | 
°C  | °F  | Ohms  | 
|---|---|---|
Temperature vs Resistance Values (Approximate)  | ||
-40 to 4  | -40 to 40  | 702 to 1060  | 
5 to 43  | 41 to 110  | 855 to 1230  | 
44 to 93  | 111 to 200  | 1000 to 1440  | 
94 to 150  | 201 to 302  | 1170 to 1661  | 
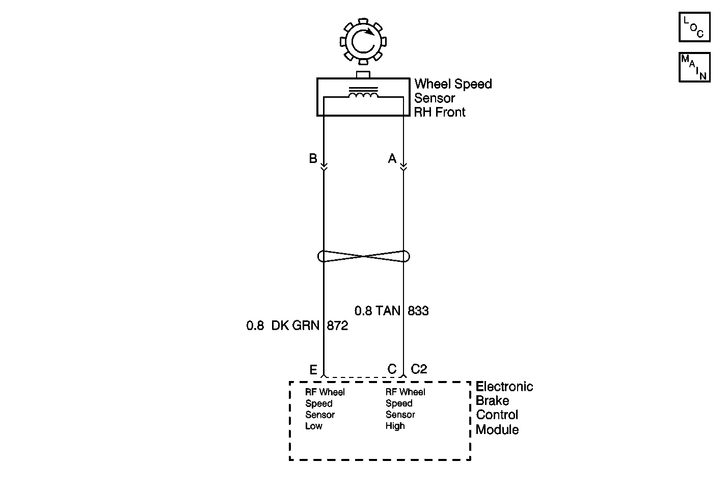
The numbers below refer to the steps in the diagnostic table:
This step checks the EBCM 4-way connector for looseness, corrosion, etc.
This step uses the wheel speed sensor resistance check to help isolate an intermittent connection.
This step checks the right front wheel speed sensor for the proper resistance.
This step checks for proper mounting and orientation of the right front wheel speed sensor.
Step  | Action  | Value(s)  | Yes  | No  | 
|---|---|---|---|---|
1  | Was the Diagnostic System Check performed?  | --  | Go to Diagnostic System Check  | |
2  | 
 Are all connections clean and tight?  | --  | ||
Using a J 39200 , measure the resistance between terminals C and E of the 4-way EBCM harness connector. Wiggle the WSS harness in various locations between the sensor and the EBCM while performing this measurement. Is the resistance measurement within the specified range without fluctuation when the harness is wiggled? (Refer to the tables on the previous page for applicable sensor resistance values. The values in these tables are for the temperature of the sensor, not the air temperature.)  | --  | |||
 Is the resistance measurement within the specified range? (Refer to the tables on the previous page for applicable sensor resistance values. The values in these tables are for the temperature of the sensor, not the air temperature.)  | --  | |||
 Is the wheel speed sensor and tone wheel in good condition?  | --  | |||
6  | Make necessary repairs to the 4-way EBCM harness connector. Is the repair complete?  | --  | Go to Diagnostic System Check  | --  | 
7  | Repair the open, high resistance or short in CKTs 833 or 872. Is the repair complete?  | --  | Go to Diagnostic System Check  | --  | 
8  | Replace the right front wheel speed sensor. Refer to Wheel Speed Sensor Replacement . Is the repair complete?  | --  | Go to Diagnostic System Check  | --  | 
9  | Malfunction is intermittent. Inspect all connectors for damage which may result in high resistance when all components are connected. Refer to Diagnostic aids on the facing page for more information. Repair all damage found. Is the repair complete?  | --  | Go to Diagnostic System Check  | --  | 
10  | Make necessary repairs. Is the repair complete?  | --  | Go to Diagnostic System Check  | --  |