GM Service Manual Online
For 1990-2009 cars only

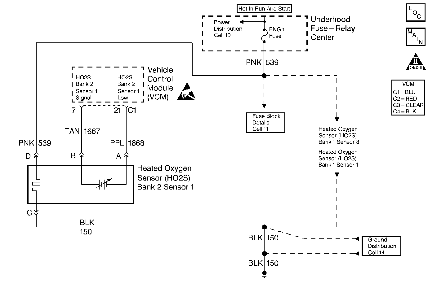
Object Number: 193953  Size: MF
HO2S Sensors
Handling ESD Sensitive Parts Notice
Engine Controls Components
OBD II Symbol Description Notice

Circuit Description

In order to provide the best possible combination of driveability, fuel economy, and emission control, the vehicle uses a Closed Loop air and fuel metering system. While in a Closed Loop, the VCM monitors the oxygen sensor signal voltage. The VCM adjusts the fuel delivery based on a signal voltage. The long and short term fuel values, which a scan tool can monitor, indicates a change made to the fuel delivery. Ideal fuel trim values are around 128. If the oxygen sensor signal indicates a lean condition, the VCM adds fuel. This results in fuel trim values above 128. If the oxygen sensor detects a rich condition, the fuel trim values will read below 128. This indicates that the VCM is reducing the amount of fuel delivered. If an excessively lean condition is detected, the VCM sets this DTC.

Conditions for Running the DTC

    • No active O2 sensor DTCs
    • No active TP sensor DTCs
    • No active MAP sensor DTCs
    • No active EGR DTCs
    • No active EVAP system DTCs
    • No active ECT sensor DTCs
    • No active MAF sensor DTCs
    • No active IAT sensor DTCs
    • No active VS sensor DTCs
    • No active misfire DTCs
    • The throttle position less than 70 percent
    • The engine speed is between 575-4000 RPM
    • The BARO is greater than 70 kPa
    • The ECT is between 75-114°C (167-237°F)
    • The MAP is between 22-85 kPa.
    • The IAT is between -8.25-76°C (17-169°F)
    • The MAF is between 3-85 g/s
    • The vehicle speed less than 85 mph (137 km/h)

Conditions for Setting the DTC

The average of the short term fuel trim values over a period of 120 seconds indicates that a rich condition is present.

Action Taken When the DTC Sets

Important: To complete a trip cycle for the fuel trim diagnostic, the fuel trim diagnostic test must enable and run according to the current Conditions for setting the DTC criteria above. A trip is not considered complete until the fuel trim diagnostic has run by the VCM.

When the current DTC initially sets, a software flag indicating an emissions related fault sets for 3 trips. The flag will clear provided rich condition is no longer present. However, if the VCM detects the conditions for setting the current DTC during a trip while the flag is still set, the VCM turns ON the MIL (Malfunction Indicator Lamp). The MIL remains ON for all of the subsequent trips until the DTC has been cleared by service or the rich condition has not been detected and the conditions for checking the fuel trim have been met for 3 consecutive trips.

Conditions for Clearing the MIL or DTC

    • The control module turns OFF the MIL after 3 consecutive drive trips when the test has run and passed.
    • A history DTC will clear if no fault conditions have been detected for 40 warm-up cycles. A warm-up cycle occurs when the coolant temperature has risen 22°C (40°F) from the startup coolant temperature and the engine coolant reaches a temperature that is more than 70°C (158°F) during the same ignition cycle.
    • Use a scan tool in order to clear the DTCs.

Diagnostic Aids

If using the diagnostic tables does not isolate the problem, try monitoring the LT fuel trim and fuel trim cell while operating the vehicle under various loads. This may isolate the condition which caused the setting of the current DTC.

A condition that causes the DTC P0300 Engine Misfire Detected may also set the current DTC; conversely an extremely rich condition which sets the current DTC can cause a misfire at idle and the DTC P0300 to set. If the cause of the current DTC cannot be determined and the DTC P0300 is also set, refer to DTC P0300 Engine Misfire Detected .

Test Description

The numbers below refer to the step numbers on the diagnostic table.

  1. A more negative value indicates the VCM is leaning the fuel mixture (Rich condition), and a more positive value indicates the VCM is richening the fuel mixture (Lean condition).

  2. This step checks the fuel system for problems.

Step

Action

Value(s)

Yes

No

1

Important: : Before clearing the DTCs, use the scan tool Capture Info to save the Freeze Frame and Failure Records for reference. The control module's data is deleted once the Clear Info function is used.

Did you perform the Powertrain On-Board Diagnostic (OBD) System Check?

--

Go to Step 2

Go to Powertrain On Board Diagnostic (OBD) System Check

2

Important: : If any DTCs are set other than P0175 and P0172, refer to those DTCs before proceeding with this diagnostic.

  1. Install the scan tool.
  2. Idle the engine in closed loop at normal operating temperature.
  3. Monitor the Long Term FT Bn 2 using the scan tool.

Is the Long Term FT Bn 2 closer to 0% than the specified value?

-14% Long Term FT

Go to Step 3

Go to Step 4

3

  1. Turn ON the ignition leaving the engine OFF.
  2. Review the Freeze Frame and Failure Records for this DTC and observe the parameters.
  3. Turn OFF the ignition for 15 seconds.
  4. Start the engine.
  5. Operate the vehicle within the conditions for this diagnostic to run, and as close to the conditions recorded in Freeze Frame or Failure Records as possible.
  6. Select DTC and the Specific DTC function.
  7. Enter the DTC number which was set.

Does the scan tool indicate that this diagnostic failed this ignition?

--

Go to Step 4

Go to Diagnostic Aids

4

Visually and physically check the following items:

    • The air filter for being restricted.
    • The air intake duct for being collapsed or restricted
    • The MAF sensor for proper installation and any screen blockage.
    • IAC: If a low or unsteady idle is being experienced.
    • Check for throttle body coking or objects blocking the IAC passages.
    • Bank 2 HO2S1 electrical connector for contact with the exhaust system.
    • Check the fuel pressure regulator for proper operation or a slow diaphragm leak. Refer to Fuel System Diagnosis .
    • Excessive fuel in the crankcase. Change oil if necessary.

Did any of the above checks isolate a condition requiring repair?

--

Go to Step 9

Go to Step 5

5

    Caution: Wrap a shop towel around the fuel pressure connection in order to reduce the risk of fire and personal injury. The towel will absorb any fuel leakage that occurs during the connection of the fuel pressure gage. Place the towel in an approved container when the connection of the fuel pressure gage is complete.

  1. Relieve the fuel Pressure. Refer to Fuel Pressure Relief .
  2. Install the fuel pressure gage J 34730-1A to the fuel pipe fitting.
  3. Caution: The fuel pump will operate for 2 seconds after you have turned off the ignition. Make sure that all the fuel pipes and fittings are securely fastened in order to prevent personal injury.

  4. Turn OFF the ignition for 10 seconds with the A/C OFF.
  5. Turn ON the ignition leaving the engine OFF.
  6. The fuel pump should run for about 2 seconds.
  7. It may be necessary to cycle the ignition ON more than once in order to obtain maximum pressure.
  8. Monitor the fuel pressure with the fuel pump running. The fuel pressure should be within the first specified value range.
  9. When the fuel pump stops, the fuel pressure may vary slightly, then it should hold steady within the second value range.

Is fuel pressure within the specified value ranges and does it hold?

Central SFI 415-455 kPa (60-66 psi)

379-413 kPa (55-60 psi)

Go to Step 6

Go to Step 12

6

Perform the Fuel Injector Balance Test .

Was an injector problem found?

--

Go to Step 10

Go to Step 7

7

Perform the DTC P1441 Evaporative Emission (EVAP) System Flow During Non-Purge .

Was a problem found?

--

Go to Step 8

Go to Diagnostic Aids

8

  1. Repair the EVAP System.
  2. Use the Fuel Trim Reset function on the scan tool.
  3. Operate the vehicle in Closed Loop while monitoring the Long Term FT Bn 2 display.
  4. The Long Term FT Bn 2 should increase above the specified value.

Is the Long Term FT Bn 2 value closer to 0% than the specified value?

-14% Long Term FT

Go to Step 11

Go to Step 4

9

  1. Repair the items found in Step 4.
  2. Use the Fuel Trim Reset function on the scan tool.
  3. Operate the vehicle in Closed Loop while monitoring the Long Term FT Bn 2 display.
  4. The Long Term FT Bn 2 value should increase above the specified value.

Is the Long Term FT Bn 2 value closer to 0% than the specified value?

-14% Long Term FT

Go to Step 11

Go to Step 5

10

  1. Replace the fuel injector. Refer to Fuel Pressure Regulator Replacement (CSFI) .
  2. Use the Fuel Trim Reset function on the scan tool.
  3. Operate the vehicle in Closed Loop while monitoring the Long Term FT Bn 2 display.

The Long Term FT Bn 2 value should increase above the specified value.

Is the Long Term FT Bn 2 value closer to 0% than the specified value?

-14% Long Term FT

Go to Step 11

Go to Step 5

11

Rich condition is not present. Does a driveability symptom still exist?

--

Go to Driveability Symptoms

Go to Step 13

12

Refer to Fuel System Diagnosis . Is the action complete?

--

Go to Step 13

--

13

  1. Using the scan tool, clear the DTCs.
  2. Start the engine.
  3. Select DTC and the Specific DTC function.
  4. Enter the DTC number which was set.
  5. Operate the vehicle, with the conditions for Setting this DTC, until the scan tool indicates the diagnostic Ran.

Does the scan tool indicate the diagnostic passed?

--

Go to Step 14

Go to Step 2

14

Does the scan tool display any additional undiagnosed DTCs?

--

Go to the applicable DTC table

System OK