GM Service Manual Online
For 1990-2009 cars only

Object Number: 13596  Size: SH

The control module command exclusively operates the linear exhaust gas recirculation (EGR) valve (1). The control module monitors the following various engine parameters:

    • The throttle position (TP) sensor
    • The manifold absolute pressure (MAP)
    • The engine coolant temperature (ECT) sensor
    • The EGR pintle position sensor

Output messages are then sent to the EGR system indicating the proper amount of exhaust gas (2) recirculation, with intake air (3), necessary in order to lower the combustion temperatures. This electronic metering of exhaust gas is 10 times faster than the vacuum-operated models as well as an improved diagnostic capabilities.

Positioned at the top of the linear EGR assembly are 5 terminals.


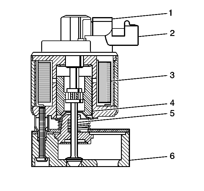
Object Number: 12809  Size: SH

A pulse width modulated (PWM) signal from the powertrain control module (PCM) enters the valve through an electrical connector which energizes the solenoid, or bobbin and coil, assembly (3). This causes the armature assembly (4), (6) to be pulled upward, lifting the pintle (5) a variable amount off the base.

The exhaust gas then flows from the exhaust manifold through the orifice into the intake manifold. The pintle position sensor (2) reads the height of the pintle, and the control module closes the loop on a desired position versus the actual position read. This changes the PWM command to the solenoid accordingly, until the actual pintle position equals the desired pintle position.

The linear EGR valve is unique in that the control module continuously monitors the pintle position. The control module adjusts the pintle position in order to obtain accurate flow, making linear EGR a Closed Loop system.

When the solenoid is de-energized , or the control module breaks the circuit, the pintle seals against the orifice, blocking the exhaust flow to the intake manifold.

Purpose

The exhaust gas recirculation (EGR) system lowers the oxides of nitrogen (NOx) emission levels created by the high combustion temperatures.

Operation

The EGR valve will open when the conditions of operation have been met. This allows the exhaust gasses to re-enter the combustion chamber. When too much exhaust gas is allowed to enter the chamber, the proper combustion will not occur. For this reason, only very little exhaust gas is allowed to re-enter the combustion chamber.