GM Service Manual Online
For 1990-2009 cars only

Removal Procedure

    Caution: Refer to Battery Disconnect Caution in the Preface section.


    Object Number: 1703361  Size: SH
  1. Disconnect the battery cables. Refer to Battery Cable Disconnect and Connection .
  2. Remove the nuts holding the wires to the circuit breaker and remove the wires.
  3. Note the location of wires for reassembly.

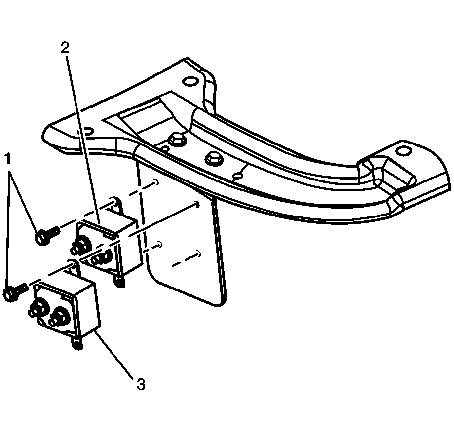
  4. Remove the 4 screws (1), holding the 24V (2) or 12V (3) circuit breaker to the fender support.
  5. Remove the 24V (2) or 12V (3) circuit breaker.

Installation Procedure


    Object Number: 1703361  Size: SH
  1. Install the 24V (2) or 12V (3) circuit breaker to the fender support with the 4 screws (1).
  2. Tip
    Install 24V circuit breaker with auxiliary contact up.

  3. Install the wires to the circuit breaker with the two nuts.
  4. Connect the battery cables. Refer to Battery Cable Disconnect and Connection .