GM Service Manual Online
For 1990-2009 cars only
Makes
🢒
Chevrolet
🢒
1998
🢒
Chevy P12 Chassis
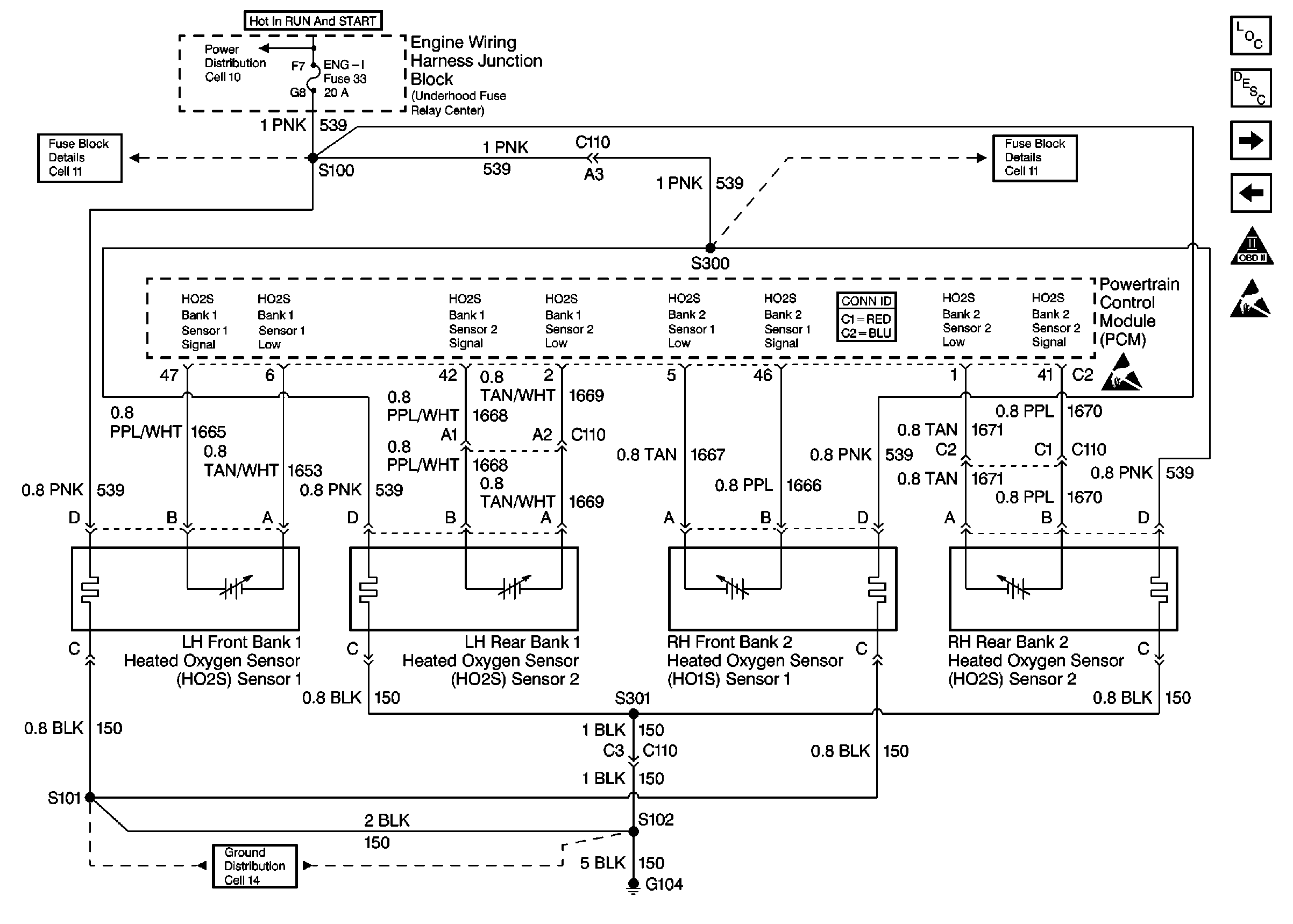
🢒 Cell 20: Engine Data Sensors 2 - HO2S
Cell 20: Engine Data Sensors 2 - HO2S
Cell 20: Engine Data Sensors 2 -- HO2S
Engine Controls Components
Information Sensors/Switches Description w/TAC
Cell 20: Engine Data Sensors 3 - MAF, VSS, and Speedometer
Cell 20: Engine Data Sensors 1 - MAP, ECT, and IAT
OBD II Symbol Description Notice
Cell 11: ALT/START, AUTO PARK, and ENG-I fuses
Cell 10: Junction Block
Cell 11: ALT/START, AUTO PARK, and ENG-I fuses
Cell 14: G104