| |||||||||||||||
Connector Part Information |
| Connector Part Information |
| ||||||||||||
Pin | Wire Color | Circuit No. | Function | Pin | Wire Color | Circuit No. | Function | ||||||||
A | DK BLU/WHT | 259 | Engine Shutoff Solenoid Output | A | DK BLU/WHT | 259 | Engine Shutoff Solenoid Output | ||||||||
B | TAN/BLK | 1030 | Injection Timing Stepper Motor Feed-Coil A-Low | B | TAN/BLK | 1030 | Injection Timing Stepper Motor Feed-Coil A-Low | ||||||||
C | RED/BLK | 1031 | Injection Timing Stepper Motor Feed-Coil A-High | C | RED/BLK | 1031 | Injection Timing Stepper Motor Feed-Coil A-High | ||||||||
D | ORN/BLK | 1032 | Injection Timing Stepper Motor Feed-Coil B-Low | D | ORN/BLK | 1032 | Injection Timing Stepper Motor Feed-Coil B-Low | ||||||||
E | YEL/BLK | 1033 | Injection Timing Stepper Motor Feed-Coil B-High | E | YEL/BLK | 1033 | Injection Timing Stepper Motor Feed-Coil B-High | ||||||||
F | PNK | 439 | Fuse Output-Ignition 1-Type III Fuse | F | PNK | 339 | Fuse Output-Ignition 1-Type III Fuse | ||||||||
G | BRN/WHT | 633 | Camshaft Position Sensor Signal | G | BRN/WHT | 633 | Camshaft Position Sensor Signal | ||||||||
H | ORN | 1799 | Camshaft Position Sensor Signal-High Resolution | H | ORN | 1799 | Camshaft Position Sensor Signal-High Resolution | ||||||||
J | PNK/BLK | 632 | Camshaft Position Sensor Return | J | PNK/BLK | 632 | Camshaft Position Sensor Return | ||||||||
K | YEL | 1578 | Fuel Temperature Signal | K | YEL | 1578 | Fuel Temperature Signal | ||||||||
L | LT GRN | 260 | Fuel Solenoid Module Feed | L | LT GRN | 260 | Fuel Solenoid Module Feed | ||||||||
M | LT GRN | 260 | Fuel Solenoid Module Feed | M | LT GRN | 260 | Fuel Solenoid Module Feed | ||||||||
N | GRY | 474 | Reference Voltage Feed - 5 Volt Reference | N | GRY | 474 | Reference Voltage Feed - 5 Volt Reference | ||||||||
P | RED | 313 | Fuel Solenoid Closure Signal | P | RED | 313 | Fuel Solenoid Closure Signal | ||||||||
R | BRN | 104 | Fuse Output-Glowplug-Type III Fuse | R | BRN | 104 | Fuse Output-Glowplug-Type III Fuse | ||||||||
| |||||||||||||||
Connector Part Information |
| Connector Part Information |
| ||||||||||||
Pin | Wire Color | Circuit No. | Function | Pin | Wire Color | Circuit No. | Function | ||||||||
A | RED | 2 | Fuse Output-Battery-Type I Fuse | A (CS-130) | GRY | 2 | Fuse Output-Battery-Type I Fuse | ||||||||
A | RED | 2 | Fuse Output-Battery-Type I Fuse | A (CS-144) | RED | 2 | Fuse Output-Battery-Type I Fuse | ||||||||
B | PNK | 39 | Fuse Output-Ignition 1-Type III Fuse | B | PNK | 39 | Fuse Output-Ignition 1-Type III Fuse | ||||||||
C | WHT | 121 | Tachometer Signal | C (L57) | WHT | 121 | Tachometer Signal | ||||||||
C | WHT | 121 | Tachometer Signal | C (Gas) | -- | -- | Not Used | ||||||||
| |||||||||||||||
Connector Part Information |
| Connector Part Information |
| ||||||||||||
Pin | Wire Color | Circuit No. | Function | Pin | Wire Color | Circuit No. | Function | ||||||||
A | BLK/WHT | 845 | Fuel Injector #5 Output | A | BLK/WHT | 845 | Fuel Injector #5 Output | ||||||||
B | PNK | 439 | Fuse Output-Ignition 1-Type III Fuse | B | PNK | 439 | Fuse Output-Ignition 1-Type III Fuse | ||||||||
C | PNK/BLK | 1746 | Fuel Injector #3 Output | C | PNK/BLK | 1746 | Fuel Injector #3 Output | ||||||||
D | PNK | 439 | Fuse Output-Ignition 1-Type III Fuse | D | PNK | 439 | Fuse Output-Ignition 1-Type III Fuse | ||||||||
E | PNK | 439 | Fuse Output-Ignition 1-Type III Fuse | E | PNK | 439 | Fuse Output-Ignition 1-Type III Fuse | ||||||||
F | BLK | 1744 | Fuel Injector #1 Output | F | BLK | 1744 | Fuel Injector #1 Output | ||||||||
G | LT GRN/BLK | 1745 | Fuel Injector #2 Output | G | LT GRN/BLK | 1745 | Fuel Injector #2 Output | ||||||||
H | PNK | 439 | Fuse Output-Ignition 1-Type III Fuse | H | PNK | 439 | Fuse Output-Ignition 1-Type III Fuse | ||||||||
J | PNK | 439 | Fuse Output-Ignition 1-Type III Fuse | J | PNK | 439 | Fuse Output-Ignition 1-Type III Fuse | ||||||||
K | LT BLU/BLK | 844 | Fuel Injector #4 Output | K | LT BLU/BLK | 844 | Fuel Injector #4 Output | ||||||||
L | PNK | 439 | Fuse Output-Ignition 1-Type III Fuse | L | PNK | 439 | Fuse Output-Ignition 1-Type III Fuse | ||||||||
M | YEL/BLK | 846 | Fuel Injector #6 Output | M | YEL/BLK | 846 | Fuel Injector #6 Output | ||||||||
| |||||||||||||||
Connector Part Information |
| Connector Part Information |
| ||||||||||||
Pin | Wire Color | Circuit No. | Function | Pin | Wire Color | Circuit No. | Function | ||||||||
A | BLK | 1744 | Fuel Injector #1 Output | A | BLK | 1744 | Fuel Injector #1 Output | ||||||||
B | PNK | 439 | Fuse Output-Ignition 1-Type III Fuse | B | PNK | 439 | Fuse Output-Ignition 1-Type III Fuse | ||||||||
C | PNK | 439 | Fuse Output-Ignition 1-Type III Fuse | C | PNK | 439 | Fuse Output-Ignition 1-Type III Fuse | ||||||||
D | PNK/BLK | 1746 | Fuel Injector #3 Output | D | PNK/BLK | 1746 | Fuel Injector #3 Output | ||||||||
E | LT BLU/BLK | 844 | Fuel Injector #4 Output | E | LT BLU/BLK | 844 | Fuel Injector #4 Output | ||||||||
F | PNK | 439 | Fuse Output-Ignition 1-Type III Fuse | F | PNK | 439 | Fuse Output-Ignition 1-Type III Fuse | ||||||||
G | PNK | 439 | Fuse Output-Ignition 1-Type III Fuse | G | PNK | 439 | Fuse Output-Ignition 1-Type III Fuse | ||||||||
H | LT GRN/BLK | 1745 | Fuel Injector #2 Output | H | LT GRN/BLK | 1745 | Fuel Injector #2 Output | ||||||||
J | DK BLU/WHT | 878 | Fuel Injector #8 Output | J | DK BLU/WHT | 878 | Fuel Injector #8 Output | ||||||||
K | PNK | 439 | Fuse Output-Ignition 1-Type III Fuse | K | PNK | 439 | Fuse Output-Ignition 1-Type III Fuse | ||||||||
L | PNK | 439 | Fuse Output-Ignition 1-Type III Fuse | L | PNK | 439 | Fuse Output-Ignition 1-Type III Fuse | ||||||||
M | YEL/BLK | 846 | Fuel Injector #6 Output | M | YEL/BLK | 846 | Fuel Injector #6 Output | ||||||||
N | BLK/WHT | 845 | Fuel Injector #5 Output | N | BLK/WHT | 845 | Fuel Injector #5 Output | ||||||||
P | PNK | 439 | Fuse Output-Ignition 1-Type III Fuse | P | PNK | 439 | Fuse Output-Ignition 1-Type III Fuse | ||||||||
R | PNK | 439 | Fuse Output-Ignition 1-Type III Fuse | R | PNK | 439 | Fuse Output-Ignition 1-Type III Fuse | ||||||||
S | RED/BLK | 877 | Fuel Injector #7 Output | S | RED/BLK | 877 | Fuel Injector #7 Output | ||||||||
| |||||||||||||||
Connector Part Information |
| Connector Part Information |
| ||||||||||||
Pin | Wire Color | Circuit No. | Function | Pin | Wire Color | Circuit No. | Function | ||||||||
A | YEL | 410 | Coolant Temperature Sensor Signal | A | YEL | 410 | Coolant Temperature Sensor Signal | ||||||||
B | YEL | 573 | Crankshaft Position Sensor Signal | B | YEL | 643 | Fuse Output-Accessory-Type III Fuse | ||||||||
C | -- | -- | Not Used | C | -- | -- | Not Used | ||||||||
D | LT GRN | 432 | Manifold Absolute Pressure Sensor Signal | D | LT GRN | 432 | Manifold Absolute Pressure Sensor Signal | ||||||||
E | GRY | 416 | Reference Voltage Feed - 5 Volt Reference | E | GRY | 416 | Reference Voltage Feed - 5 Volt Reference | ||||||||
F | BLK | 491 | Fuel Solenoid Return-Closure | F | BLK | 491 | Fuel Solenoid Return-Closure | ||||||||
G | BLK | 452 | Sensor Return | G | BLK | 452 | Sensor Return | ||||||||
H | TAN | 472 | Manifold Absolute Temperature Sensor Signal | H | TAN | 472 | Manifold Absolute Temperature Sensor Signal | ||||||||
| |||||||||||||||
Connector Part Information |
| Connector Part Information |
| ||||||||||||
Pin | Wire Color | Circuit No. | Function | Pin | Wire Color | Circuit No. | Function | ||||||||
A | BRN | 241 | Fuse Output-Ignition 3-Type III Fuse | A | BRN | 241 | Fuse Output-Ignition 3-Type III Fuse | ||||||||
B | LT GRN | 867 | ABS Failure Indicator Lamp Output | B | LT GRN | 867 | ABS Failure Indicator Lamp Output | ||||||||
C | PPL | 420 | Brake Pedal Switch Output-Torque Converter Clutch | C | PPL | 420 | Brake Pedal Switch Output-Torque Converter Clutch | ||||||||
D | YEL/BLK | 1827 | Vehicle Speed Signal-128000 Pulses Per Mile | D | YEL/BLK | 1827 | Vehicle Speed Signal-128000 Pulses Per Mile | ||||||||
E | TAN/WHT | 799 | Diagnostic Signal-ABS | E | TAN/WHT | 799 | Diagnostic Signal-ABS | ||||||||
F | PPL | 1807 | Serial Data Signal-Class B-10400 BAUD-Primary | F | PPL | 1807 | Serial Data Signal-Class B-10400 BAUD-Primary | ||||||||
G | -- | -- | Not Used | G | -- | -- | Not Used | ||||||||
| |||||||||||||||
Connector Part Information |
| Connector Part Information |
| ||||||||||||
Pin | Wire Color | Circuit No. | Function | Pin | Wire Color | Circuit No. | Function | ||||||||
A | PPL | 680 | ABS Pressure Differential Signal | A | PPL | 680 | ABS Pressure Differential Signal | ||||||||
B | BLK | 450 | Ground | B | BLK/WHT | 451 | Engine Control Module Ground | ||||||||
C | RED | 442 | Fuse Output-Battery-Type II Fuse | C | RED | 442 | Fuse Output-Battery-Type II Fuse | ||||||||
| |||||||||||||||
Connector Part Information |
| Connector Part Information |
| ||||||||||||
Pin | Wire Color | Circuit No. | Function | Pin | Wire Color | Circuit No. | Function | ||||||||
A1 | BLK/WHT | 451 | Engine Control Module Ground | A1 | BLK/WHT | 451 | Engine Control Module Ground | ||||||||
A2 | DK GRN | 389 | Vehicle Speed Signal-4000 Pulses Per Mile | A2 | DK GRN | 389 | Vehicle Speed Signal-4000 Pulses Per Mile | ||||||||
A3 | BRN | 241 | Fuse Output-Ignition 3-Type III Fuse | A3 | BRN | 241 | Fuse Output-Ignition 3-Type III Fuse | ||||||||
B1 | BLK | 250 | Ground | B1 | BLK | 250 | Ground | ||||||||
B2 | PNK | 39 | Fuse Output-Ignition 1-Type III Fuse | B2 | PNK | 39 | Fuse Output-Ignition 1-Type III Fuse | ||||||||
B3 | YEL/BLK | 508 | Water In Fuel Indicator Lamp Output | B3 (L57) | YEL/BLK | 508 | Water In Fuel Indicator Lamp Output | ||||||||
B3 | YEL/BLK | 508 | Water In Fuel Indicator Lamp Output | B3 (Gas) | -- | -- | Not Used | ||||||||
C1 | GRY | 1234 | Do Not Shift Indicator Lamp Output | C1 | -- | -- | Not Used | ||||||||
C2 | BRN/WHT | 419 | Check Engine Indicator Lamp Output | C2 | BRN/WHT | 419 | Check Engine Indicator Lamp Output | ||||||||
D1 | RED | 2 | Fuse Output-Battery-Type I Fuse | D1 | RED | 2 | Fuse Output-Battery-Type I Fuse | ||||||||
D2 | TAN | 31 | Oil Pressure Indicator Lamp Output | D2 | TAN | 31 | Oil Pressure Indicator Lamp Output | ||||||||
E1 | PNK | 439 | Fuse Output-Ignition 1-Type III Fuse | E1 | PNK | 439 | Fuse Output-Ignition 1-Type III Fuse | ||||||||
E2 | DK GRN | 35 | Coolant Temperature Indicator Lamp Output | E2 | DK GRN | 35 | Coolant Temperature Indicator Lamp Output | ||||||||
F1 | DK BLU | 507 | Glow Plug Indicator Lamp Signal | F1 (L57) | DK BLU | 507 | Glow Plug Indicator Lamp Signal | ||||||||
F1 | DK BLU | 507 | Glow Plug Indicator Lamp Signal | F1 (Gas) | -- | -- | Not Used | ||||||||
F2 | BRN | 141 | Fuse Output-Ignition 3-Type III Fuse | F2 | BRN | 141 | Fuse Output-Ignition 3-Type III Fuse | ||||||||
G1 | ORN | 440 | Fuse Output-Battery-Type III Fuse | G1 | ORN | 440 | Fuse Output-Battery-Type III Fuse | ||||||||
G2 | YEL/BLK | 68 | Low Coolant Level Indicator Lamp Output | G2 (L57) | YEL/BLK | 68 | Low Coolant Level Indicator Lamp Output | ||||||||
G2 | YEL/BLK | 68 | Low Coolant Level Indicator Lamp Output | G2 (Gas) | -- | -- | Not Used | ||||||||
G3 | ORN | 540 | Fuse Output-Battery-Type III Fuse | G3 | ORN | 540 | Fuse Output-Battery-Type III Fuse | ||||||||
H1 | LT GRN | 867 | ABS Failure Indicator Lamp Output | H1 | LT GRN | 867 | ABS Failure Indicator Lamp Output | ||||||||
H2 | PNK | 139 | Fuse Output-Ignition 1-Type III Fuse | H2 | PNK | 139 | Fuse Output-Ignition 1-Type III Fuse | ||||||||
H2 | PNK | 139 | Fuse Output-Ignition 1-Type III Fuse | H2 (Manual Trans) | -- | -- | Not Used | ||||||||
H3 | PNK | 539 | Fuse Output-Ignition 1-Type III Fuse | H3 | PNK | 539 | Fuse Output-Ignition 1-Type III Fuse | ||||||||
| |||||||||||||||
Connector Part Information |
| Connector Part Information |
| ||||||||||||
Pin | Wire Color | Circuit No. | Function | Pin | Wire Color | Circuit No. | Function | ||||||||
J4 | WHT | 121 | Tachometer Signal | F | WHT | 121 | Tachometer Signal | ||||||||
J5 | PPL | 30 | Fuel Gauge Sensor Signal | E | PPL | 30 | Fuel Gauge Sensor Signal | ||||||||
J6 | WHT/BLK | 176 | Service Throttle Soon Indicator Lamp Output | D (L57) | WHT/BLK | 176 | Service Throttle Soon Indicator Lamp Output | ||||||||
J6 | WHT/BLK | 176 | Service Throttle Soon Indicator Lamp Output | D (Gas) | -- | -- | Not Used | ||||||||
K4 | DK GRN | 19 | Stop/Turn Lamp Feed-Right Rear | A | DK GRN | 19 | Stop/Turn Lamp Feed-Right Rear | ||||||||
K5 | YEL | 18 | Stop/Turn Lamp Feed-Left Rear | B | YEL | 18 | Stop/Turn Lamp Feed-Left Rear | ||||||||
K6 | BRN | 9 | Park Lamp Feed | C | BRN | 9 | Park Lamp Feed | ||||||||
| |||||||||||||||
Connector Part Information |
| Connector Part Information |
| ||||||||||||
Pin | Wire Color | Circuit No. | Function | Pin | Wire Color | Circuit No. | Function | ||||||||
L4 | -- | -- | Not Used | L4 | -- | -- | Not Used | ||||||||
L5 | LT GRN | 11 | High Beam Headlamp Feed | L5 | LT GRN | 11 | High Beam Headlamp Feed | ||||||||
M4 | BLK | 250 | Ground | M4 | BLK | 150 | Ground | ||||||||
M5 | TAN | 12 | Low Beam Headlamp Feed | M5 | TAN | 12 | Low Beam Headlamp Feed | ||||||||
N4 | BRN | 9 | Park Lamp Feed | N4 | BRN | 9 | Park Lamp Feed | ||||||||
N5 | -- | -- | Not Used | N5 | -- | -- | Not Used | ||||||||
N5 (DRL) | DK BLU | 593 | High Beam Headlamp Feed-Daytime Running Lamps | N5 (DRL) | DK BLU | 593 | High Beam Headlamp Feed-Daytime Running Lamps | ||||||||
N6 | DK BLU | 15 | Turn Signal Lamp Feed-Right Front | N6 | DK BLU | 15 | Turn Signal Lamp Feed-Right Front | ||||||||
P4 | -- | -- | Not Used | P4 | -- | -- | Not Used | ||||||||
P5 | DK GRN | 29 | Horn Feed | P5 | DK GRN | 29 | Horn Feed | ||||||||
P6 | LT BLU | 14 | Turn Signal Lamp Feed-Left Front | P6 | LT BLU | 14 | Turn Signal Lamp Feed-Left Front | ||||||||
| |||||||||||||||
Connector Part Information |
| Connector Part Information |
| ||||||||||||
Pin | Wire Color | Circuit No. | Function | Pin | Wire Color | Circuit No. | Function | ||||||||
A | WHT | 156 | Courtesy Lamp Output | A | WHT | 156 | Courtesy Lamp Output | ||||||||
B | PNK | 94 | Windshield Washer Switch Signal | B | PNK | 94 | Windshield Washer Switch Signal | ||||||||
C | PPL | 92 | Windshield Wiper Motor Feed-High Speed | C | PPL | 92 | Windshield Wiper Motor Feed-High Speed | ||||||||
D | YEL | 143 | Fuse Output-Accessory-Type III Fuse | D | YEL | 143 | Fuse Output-Accessory-Type III Fuse | ||||||||
E | GRY | 91 | Windshield Wiper Relay Feed-Coil | E | GRY | 91 | Windshield Wiper Relay Feed-Coil | ||||||||
F | ORN | 98 | Windshield Wiper Motor Feed-Dynamic Brake | F | ORN | 98 | Windshield Wiper Motor Feed-Dynamic Brake | ||||||||
G | ORN | 40 | Fuse Output-Battery-Type III Fuse | G | ORN | 40 | Fuse Output-Battery-Type III Fuse | ||||||||
| |||||||||||||||
Connector Part Information |
| Connector Part Information |
| ||||||||||||
Pin | Wire Color | Circuit No. | Function | Pin | Wire Color | Circuit No. | Function | ||||||||
A | PNK | 3 | Ignition Switch Output-Ignition 1 | A | PNK | 3 | Ignition Switch Output-Ignition 1 | ||||||||
B | BRN | 4 | Ignition Switch Output-Accessory | B | BRN | 4 | Ignition Switch Output-Accessory | ||||||||
C | ORN | 300 | Ignition Switch Output-Ignition 3 | C | ORN | 300 | Ignition Switch Output-Ignition 3 | ||||||||
D | RED | 2 | Fuse Output-Battery-Type I Fuse | D | RED | 2 | Fuse Output-Battery-Type I Fuse | ||||||||
| |||||||||||||||
Connector Part Information |
| Connector Part Information |
| ||||||||||||
Pin | Wire Color | Circuit No. | Function | Pin | Wire Color | Circuit No. | Function | ||||||||
A | LT BLU | 1134 | Park Brake Switch Signal | A | LT BLU | 1134 | Park Brake Switch Signal | ||||||||
B | PPL | 680 | ABS Pressure Differential Signal | B | PPL | 680 | ABS Pressure Differential Signal | ||||||||
C | -- | -- | Not Used | C | -- | -- | Not Used | ||||||||
D | ORN | 240 | Fuse Output-Battery-Type III Fuse | D | ORN | 240 | Fuse Output-Battery-Type III Fuse | ||||||||
E | WHT | 17 | Stoplamp Switch Output | E | WHT | 17 | Stoplamp Switch Output | ||||||||
F | -- | -- | Not Used | F | -- | -- | Not Used | ||||||||
| |||||||||||||||
Connector Part Information |
| Connector Part Information |
| ||||||||||||
Pin | Wire Color | Circuit No. | Function | Pin | Wire Color | Circuit No. | Function | ||||||||
A1 (L57) | -- | -- | Not Used | A1 | GRY | 120 | Fuel Pump Motor Feed | ||||||||
A1 (Gas) | GRY | 120 | Fuel Pump Motor Feed | A1 | GRY | 120 | Fuel Pump Motor Feed | ||||||||
A2 (L57) | -- | -- | Not Used | A2 | PPL | 1589 | Fuel Gauge Sensor Signal | ||||||||
A2 (Gas) | PPL | 1589 | Fuel Gauge Sensor Signal | A2 | PPL | 1589 | Fuel Gauge Sensor Signal | ||||||||
A3 (L57) | -- | -- | Not Used | A3 | BLK | 470 | Sensor Return | ||||||||
A3 (Gas) | BLK | 470 | Sensor Return | A3 | BLK | 470 | Sensor Return | ||||||||
A4 (L57) | -- | -- | Not Used | A4 | DK GRN | 890 | Fuel Tank Pressure Sensor Signal | ||||||||
A4 (Gas) | DK GRN | 890 | Fuel Tank Pressure Sensor Signal | A4 | DK GRN | 890 | Fuel Tank Pressure Sensor Signal | ||||||||
A5 (L57) | -- | -- | Not Used | A5 | GRY | 474 | Reference Voltage Feed - 5 Volt Reference | ||||||||
A5 (Gas) | GRY | 474 | Reference Voltage Feed - 5 Volt Reference | A5 | GRY | 474 | Reference Voltage Feed - 5 Volt Reference | ||||||||
B1 (L57) | -- | -- | Not Used | B1 | WHT | 1310 | Canister Vent Valve Solenoid Output | ||||||||
B1 (Gas) | WHT | 1310 | Canister Vent Valve Solenoid Output | B1 | WHT | 1310 | Canister Vent Valve Solenoid Output | ||||||||
B2 (L57) | PPL | 30 | Fuel Gauge Sensor Signal | B2 | PPL | 30 | Fuel Gauge Sensor Signal | ||||||||
B2 (Gas) | -- | -- | Not Used | B2 | PPL | 30 | Fuel Gauge Sensor Signal | ||||||||
B3 (L57) | -- | -- | Not Used | B3 | PNK | 539 | Fuse Output-Ignition 1-Type III Fuse | ||||||||
B3 (Gas) | PNK | 539 | Fuse Output-Ignition 1-Type III Fuse | B3 | PNK | 539 | Fuse Output-Ignition 1-Type III Fuse | ||||||||
B4 | LT GRN | 24 | Backup Lamp Feed | B4 | LT GRN | 24 | Backup Lamp Feed | ||||||||
B5 | YEL | 18 | Stop/Turn Lamp Feed-Left Rear | B5 | YEL | 18 | Stop/Turn Lamp Feed-Left Rear | ||||||||
C1 | LT BLU | 20 | Stoplamp Feed | C1 | LT BLU | 20 | Stoplamp Feed | ||||||||
C2 | BRN | 9 | Park Lamp Feed | C2 | BRN | 9 | Park Lamp Feed | ||||||||
C3 | DK GRN | 19 | Stop/Turn Lamp Feed-Right Rear | C3 | DK GRN | 19 | Stop/Turn Lamp Feed-Right Rear | ||||||||
C4-C5 | -- | -- | Not Used | C4-C5 | -- | -- | Not Used | ||||||||
| |||||||||||||||
Connector Part Information |
| Connector Part Information |
| ||||||||||||
Pin | Wire Color | Circuit No. | Function | Pin | Wire Color | Circuit No. | Function | ||||||||
A | BRN | 9 | Park Lamp Feed | A | BRN | 9 | Park Lamp Feed | ||||||||
B | YEL | 18 | Stop/Turn Lamp Feed-Left Rear | B | YEL | 18 | Stop/Turn Lamp Feed-Left Rear | ||||||||
C | DK GRN | 19 | Stop/Turn Lamp Feed-Right Rear | C | DK GRN | 19 | Stop/Turn Lamp Feed-Right Rear | ||||||||
D | BLK | 150 | Ground | D | BLK | 150 | Ground | ||||||||
E | -- | -- | Not Used | E | -- | -- | Not Used | ||||||||
F | LT BLU | 20 | Stoplamp Feed | F | LT BLU | 20 | Stoplamp Feed | ||||||||
G | LT GRN | 24 | Backup Lamp Feed | G | LT GRN | 24 | Backup Lamp Feed | ||||||||
| |||||||||||||||
Connector Part Information |
| Connector Part Information |
| ||||||||||||
Pin | Wire Color | Circuit No. | Function | Pin | Wire Color | Circuit No. | Function | ||||||||
A | PPL | 1589 | Fuel Gauge Sensor Signal | A | PPL | 1589 | Fuel Gauge Sensor Signal | ||||||||
B | GRY | 120 | Fuel Pump Motor Feed | B | GRY | 120 | Fuel Pump Motor Feed | ||||||||
C | BLK | 150 | Ground | C | BLK | 150 | Ground | ||||||||
D | BLK | 470 | Sensor Return | D | BLK | 470 | Sensor Return | ||||||||
E | PPL | 30 | Fuel Gauge Sensor Signal | E | PPL | 30 | Fuel Gauge Sensor Signal | ||||||||
F | DK GRN | 890 | Fuel Tank Pressure Sensor Signal | F | DK GRN | 890 | Fuel Tank Pressure Sensor Signal | ||||||||
G | GRY | 474 | Reference Voltage Feed - 5 Volt Reference | G | GRY | 474 | Reference Voltage Feed - 5 Volt Reference | ||||||||
| |||||||||||||||
Connector Part Information |
| Connector Part Information |
| ||||||||||||
Pin | Wire Color | Circuit No. | Function | Pin | Wire Color | Circuit No. | Function | ||||||||
A (Gas NB6) | WHT | 1310 | Canister Vent Valve Solenoid Output | A | WHT | 1310 | Canister Vent Valve Solenoid Output | ||||||||
B (Gas NB6) | PNK | 539 | Fuse Output-Ignition 1-Type III Fuse | B | PNK | 539 | Fuse Output-Ignition 1-Type III Fuse | ||||||||
C (Diesel) | BLK | 150 | Ground | C | BLK | 150 | Ground | ||||||||
D (Diesel) | GRY | 120 | Fuel Pump Motor Feed | D | GRY | 120 | Fuel Pump Motor Feed | ||||||||
| |||||||||||||||
Connector Part Information |
| Connector Part Information |
| ||||||||||||
Pin | Wire Color | Circuit No. | Function | Pin | Wire Color | Circuit No. | Function | ||||||||
A | BRN | 9 | Park Lamp Feed | A | BRN | 9 | Park Lamp Feed | ||||||||
A (WX7) | BRN | 964 | Front Marker Lamps, Front Park Lamps, Export (WX7) | A | BRN | 9 | Park Lamp Feed | ||||||||
B | TAN | 12 | Low Beam Headlamp Feed | B | TAN | 12 | Low Beam Headlamp Feed | ||||||||
C | LT BLU | 14 | Turn Signal Lamp Feed-Left Front | C | LT BLU | 14 | Turn Signal Lamp Feed-Left Front | ||||||||
D | DK BLU | 593 | High Beam Headlamp Feed-Daytime Running Lamps | D (Z49) | DK BLU | 593 | High Beam Headlamp Feed-Daytime Running Lamps | ||||||||
D (WX7) | -- | -- | Not Used | D | -- | -- | Not Used | ||||||||
E | DK GRN | 29 | Horn Feed | E | DK GRN | 29 | Horn Feed | ||||||||
F | DK BLU | 15 | Turn Signal Lamp Feed-Right Front | F | DK BLU | 15 | Turn Signal Lamp Feed-Right Front | ||||||||
G | LT GRN | 11 | High Beam Headlamp Feed | G | LT GRN | 11 | High Beam Headlamp Feed | ||||||||
| |||||||||||||||
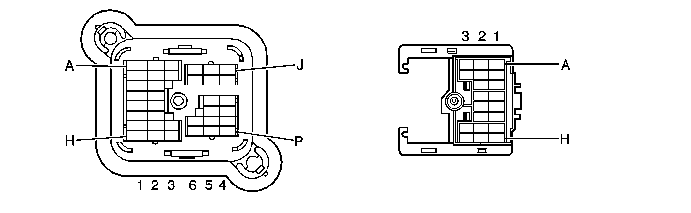
Connector Part Information |
| Connector Part Information |
| ||||||||||||
Pin | Wire Color | Circuit No. | Function | Pin | Wire Color | Circuit No. | Function | ||||||||
A | DK BLU/WHT | 259 | Engine Shutoff Solenoid Output | A | DK BLU/WHT | 259 | Engine Shutoff Solenoid Output | ||||||||
B | TAN/BLK | 1030 | Injection Timing Stepper Motor Feed-Coil A-Low | B | TAN/BLK | 1030 | Injection Timing Stepper Motor Feed-Coil A-Low | ||||||||
C | RED/BLK | 1031 | Injection Timing Stepper Motor Feed-Coil A-High | C | RED/BLK | 1031 | Injection Timing Stepper Motor Feed-Coil A-High | ||||||||
D | ORN/BLK | 1032 | Injection Timing Stepper Motor Feed-Coil B-Low | D | ORN/BLK | 1032 | Injection Timing Stepper Motor Feed-Coil B-Low | ||||||||
E | YEL/BLK | 1033 | Injection Timing Stepper Motor Feed-Coil B-High | E | YEL/BLK | 1033 | Injection Timing Stepper Motor Feed-Coil B-High | ||||||||
F | PNK | 439 | Fuse Output-Ignition 1-Type III Fuse | F | PNK | 339 | Fuse Output-Ignition 1-Type III Fuse | ||||||||
G | BRN/WHT | 633 | Camshaft Position Sensor Signal | G | BRN/WHT | 633 | Camshaft Position Sensor Signal | ||||||||
H | ORN | 1799 | Camshaft Position Sensor Signal-High Resolution | H | ORN | 1799 | Camshaft Position Sensor Signal-High Resolution | ||||||||
J | PNK/BLK | 632 | Camshaft Position Sensor Return | J | PNK/BLK | 632 | Camshaft Position Sensor Return | ||||||||
K | YEL | 1578 | Fuel Temperature Signal | K | YEL | 1578 | Fuel Temperature Signal | ||||||||
L | LT GRN | 260 | Fuel Solenoid Module Feed | L | LT GRN | 260 | Fuel Solenoid Module Feed | ||||||||
M | LT GRN | 260 | Fuel Solenoid Module Feed | M | LT GRN | 260 | Fuel Solenoid Module Feed | ||||||||
N | GRY | 474 | Reference Voltage Feed - 5 Volt Reference | N | GRY | 474 | Reference Voltage Feed - 5 Volt Reference | ||||||||
P | RED | 313 | Fuel Solenoid Closure Signal | P | RED | 313 | Fuel Solenoid Closure Signal | ||||||||
R | BRN | 104 | Fuse Output-Glowplug-Type III Fuse | R | BRN | 104 | Fuse Output-Glowplug-Type III Fuse | ||||||||
| |||||||||||||||
Connector Part Information |
| Connector Part Information |
| ||||||||||||
Pin | Wire Color | Circuit No. | Function | Pin | Wire Color | Circuit No. | Function | ||||||||
A | RED | 2 | Fuse Output-Battery-Type I Fuse | A | RED | 2 | Fuse Output-Battery-Type I Fuse | ||||||||
B | LT GRN | 1844 | Park Brake Auto Apply Indicator Lamp Feed | B | LT GRN | 1844 | Park Brake Auto Apply Indicator Lamp Feed | ||||||||
C | PNK | 639 | Fuse Output-Ignition 1-Type III Fuse | C | PNK | 639 | Fuse Output-Ignition 1-Type III Fuse | ||||||||
| |||||||||||||||
Connector Part Information |
| Connector Part Information |
| ||||||||||||
Pin | Wire Color | Circuit No. | Function | Pin | Wire Color | Circuit No. | Function | ||||||||
A | YEL/BLK | 1131 | Auto Apply Park Brake Switch Signal | A | YEL/BLK | 1131 | Auto Apply Park Brake Switch Signal | ||||||||
B | PPL | 906 | Park Brake Proximity Switch | B | PPL | 906 | Park Brake Proximity Switch | ||||||||
| |||||||||||||||
Connector Part Information |
| Connector Part Information |
| ||||||||||||
Pin | Wire Color | Circuit No. | Function | Pin | Wire Color | Circuit No. | Function | ||||||||
A | YEL | 410 | Coolant Temperature Sensor Signal | A | YEL | 410 | Coolant Temperature Sensor Signal | ||||||||
B | YEL | 573 | Crankshaft Position Sensor Signal | B | YEL | 643 | Fuse Output-Accessory-Type III Fuse | ||||||||
C | -- | -- | Not Used | C | -- | -- | Not Used | ||||||||
D | LT GRN | 432 | Manifold Absolute Pressure Sensor Signal | D | LT GRN | 432 | Manifold Absolute Pressure Sensor Signal | ||||||||
E | GRY | 416 | Reference Voltage Feed - 5 Volt Reference | E | GRY | 416 | Reference Voltage Feed - 5 Volt Reference | ||||||||
F | BLK | 491 | Fuel Solenoid Return-Closure | F | BLK | 491 | Fuel Solenoid Return-Closure | ||||||||
G | BLK | 452 | Sensor Return | G | BLK | 452 | Sensor Return | ||||||||
H | TAN | 472 | Manifold Absolute Temperature Sensor Signal | H | TAN | 472 | Manifold Absolute Temperature Sensor Signal | ||||||||
| |||||||||||||||
Connector Part Information |
| Connector Part Information |
| ||||||||||||
Pin | Wire Color | Circuit No. | Function | Pin | Wire Color | Circuit No. | Function | ||||||||
A | BLK | 1744 | Fuel Injector #1 Output | A | BLK | 1131 | Fuel Injector #1 Output | ||||||||
B | DK BLU/WHT | 878 | Fuel Injector #8 Output | B | DK BLU/WHT | 878 | Fuel Injector #8 Output | ||||||||
C | LT BLU/BLK | 844 | Fuel Injector #4 Output | C | LT BLU/BLK | 844 | Fuel Injector #4 Output | ||||||||
D | PNK/BLK | 1746 | Fuel Injector #3 Output | D | PNK/BLK | 1746 | Fuel Injector #3 Output | ||||||||
E | YEL/BLK | 846 | Fuel Injector #6 Output | E | YEL/BLK | 846 | Fuel Injector #6 Output | ||||||||
F | BLK/WHT | 845 | Fuel Injector #5 Output | F | BLK/WHT | 845 | Fuel Injector #5 Output | ||||||||
G | RED/BLK | 877 | Fuel Injector #7 Output | G | RED/BLK | 877 | Fuel Injector #7 Output | ||||||||
H | LT GRN/BLK | 1745 | Fuel Injector #2 Output | H | LT GRN/BLK | 1745 | Fuel Injector #2 Output | ||||||||
J | PNK | 439 | Fuse Output-Ignition 1-Type III Fuse | J | PNK/WHT | 439 | Fuse Output-Ignition 1-Type III Fuse | ||||||||
K | PNK | 439 | Fuse Output-Ignition 1-Type III Fuse | K | PNK | 439 | Fuse Output-Ignition 1-Type III Fuse | ||||||||
| |||||||||||||||
Connector Part Information |
| Connector Part Information |
| ||||||||||||
Pin | Wire Color | Circuit No. | Function | Pin | Wire Color | Circuit No. | Function | ||||||||
A | BRN | 241 | Fuse Output-Ignition 3-Type III Fuse | A | BRN | 241 | Fuse Output-Ignition 3-Type III Fuse | ||||||||
B | LT GRN | 867 | ABS Failure Indicator Lamp Output | B | LT GRN | 867 | ABS Failure Indicator Lamp Output | ||||||||
C | PPL | 420 | Brake Pedal Switch Output-Torque Converter Clutch | C | PPL | 420 | Brake Pedal Switch Output-Torque Converter Clutch | ||||||||
D | YEL/BLK | 1827 | Vehicle Speed Signal-128000 Pulses Per Mile | D | YEL/BLK | 1827 | Vehicle Speed Signal-128000 Pulses Per Mile | ||||||||
E | TAN/WHT | 799 | Diagnostic Signal-ABS | E | TAN/WHT | 799 | Diagnostic Signal-ABS | ||||||||
F | PPL | 1807 | Serial Data Signal-Class B-10400 BAUD-Primary | F | PPL | 1807 | Serial Data Signal-Class B-10400 BAUD-Primary | ||||||||
G | -- | -- | Not Used | G | -- | -- | Not Used | ||||||||
G (WX7) | BLK | 1450 | Ground | G (WX7) | BLK | 1450 | Ground | ||||||||
| |||||||||||||||
Connector Part Information |
| Connector Part Information |
| ||||||||||||
Pin | Wire Color | Circuit No. | Function | Pin | Wire Color | Circuit No. | Function | ||||||||
A | PPL | 680 | ABS Pressure Differential Signal | A | PPL | 680 | ABS Pressure Differential Signal | ||||||||
B | BLK | 450 | Ground | B | BLK/WHT | 451 | Engine Control Module Ground | ||||||||
C | RED | 442 | Fuse Output-Battery-Type II Fuse | C | RED | 442 | Fuse Output-Battery-Type II Fuse | ||||||||
| |||||||||||||||
Connector Part Information |
| Connector Part Information |
| ||||||||||||
Pin | Wire Color | Circuit No. | Function | Pin | Wire Color | Circuit No. | Function | ||||||||
A1 | RED | 2 | Fuse Output-Battery-Type I Fuse | A1 | RED | 2 | Fuse Output-Battery-Type I Fuse | ||||||||
A2 | BLK | 250 | Ground | A2 | BLK | 250 | Ground | ||||||||
A3 | ORN | 240 | Fuse Output-Battery-Type III Fuse | A3 | ORN | 240 | Fuse Output-Battery-Type III Fuse | ||||||||
A4 | LT GRN | 867 | ABS Failure Indicator Lamp Output | A4 | LT GRN | 867 | ABS Failure Indicator Lamp Output | ||||||||
B1 | PNK | 3 | Ignition Switch Output-Ignition 1 | B1 | PNK | 3 | Ignition Switch Output-Ignition 1 | ||||||||
B2 | PPL | 16 | Turn Signal Flasher Output | B2 | PPL | 16 | Turn Signal Flasher Output | ||||||||
B3 | BLK/WHT | 451 | Engine Control Module Ground | B3 | BLK/WHT | 451 | Engine Control Module Ground | ||||||||
B4 | LT BLU | 1134 | Park Brake Switch Signal | B4 | LT BLU | 1134 | Park Brake Switch Signal | ||||||||
C1 | DK GRN | 909 | Output to PNP Relay and Park Brake Pull Button Switch | C1 | DK GRN | 909 | Output to PNP Relay and Park Brake Pull Button Switch | ||||||||
C2 | DK BLU | 15 | Turn Signal Lamp Feed-Right Front | C2 | DK BLU | 15 | Turn Signal Lamp Feed-Right Front | ||||||||
C3 (L65) | -- | -- | Not Used | C3 | -- | -- | Not Used | ||||||||
C3 (L29) | GRY | 120 | Fuel Pump Motor Feed | C3 | -- | -- | Not Used | ||||||||
C4 | WHT | 905 | Diode Network | C4 | WHT | 905 | Diode Network | ||||||||
D1 | BRN | 9 | Park Lamp Feed | D1 | BRN | 9 | Park Lamp Feed | ||||||||
D1 (WX7) | PPL | 912 | Left Taillamp, Left Sidemarker Lamp, Export | D1 (WX7) | PPL | 912 | Left Taillamp, Left Sidemarker Lamp, Export | ||||||||
D2 (L65) | YEL/BLK | 508 | Water In Fuel Indicator Lamp Output | D2 | YEL/BLK | 508 | Water In Fuel Indicator Lamp Output | ||||||||
D2 (L29) | -- | -- | Not Used | D2 | YEL/BLK | 508 | Water In Fuel Indicator Lamp Output | ||||||||
D3 | PPL | 680 | ABS Pressure Differential Sensor Signal | D3 | PPL | 680 | ABS Pressure Differential Sensor Signal | ||||||||
E1 | DK GRN | 35 | Coolant Temperature Indicator Lamp Output | E1 | DK GRN | 35 | Coolant Temperature Indicator Lamp Output | ||||||||
E2 | GRY | 8 | Instrument Panel Lamp Feed | E2 | GRY | 8 | Instrument Panel Lamp Feed | ||||||||
E3 | -- | -- | Not Used | E3 | -- | -- | Not Used | ||||||||
E3 (WX7) | BRN | 964 | Front Marker Lamps, Front Park Lamps, Export | E3 (WX7) | BRN | 964 | Front Marker Lamps, Front Park Lamps, Export | ||||||||
E4 | LT GRN | 1844 | Park Brake Auto Apply Indicator Lamp Feed | E4 | LT GRN | 1844 | Park Brake Auto Apply Indicator Lamp Feed | ||||||||
F1 | ORN | 540 | Fuse Output-Battery-Type III Fuse | F1 | ORN | 540 | Fuse Output-Battery-Type III Fuse | ||||||||
F2 | ORN | 300 | Ignition Switch Output-Ignition 3 | F2 | ORN | 300 | Ignition Switch Output-Ignition 3 | ||||||||
F3 | PPL | 30 | Fuel Gauge Sensor Signal | F3 | PPL | 30 | Fuel Gauge Sensor Signal | ||||||||
F4 | PNK | 639 | Fuse Output-Ignition 1-Type III Fuse | F4 | PNK | 639 | Fuse Output-Ignition 1-Type III Fuse | ||||||||
G1 | PNK | 39 | Fuse Output-Ignition 1-Type III Fuse | G1 | PNK | 39 | Fuse Output-Ignition 1-Type III Fuse | ||||||||
G2 (L65) | WHT/BLK | 176 | Service Throttle Soon Indicator Lamp Output | G2 | WHT/BLK | 176 | Service Throttle Soon Indicator Lamp Output | ||||||||
G2 (L29) | -- | -- | Not Used | G2 | WHT/BLK | 176 | Service Throttle Soon Indicator Lamp Output | ||||||||
G3 | TAN | 31 | Oil Pressure Indicator Lamp Output | G3 | TAN | 31 | Oil Pressure Indicator Lamp Output | ||||||||
G4 | -- | -- | Not Used | G4 | -- | -- | Not Used | ||||||||
G4 (WX7) | BLK | 1450 | Ground | G4 (WX7) | BLK | 1450 | Ground | ||||||||
G5 | BRN | 241 | Fuse Output-Ignition 3-Type III Fuse | G5 | BRN | 241 | Fuse Output-Ignition 3-Type III Fuse | ||||||||
H6 | RED | 2 | Fuse Output-Battery-Type I Fuse | H6 | RED | 2 | Fuse Output-Battery-Type I Fuse | ||||||||
H7 | -- | -- | Not Used | H7 | -- | -- | Not Used | ||||||||
H7 (WX7) | GRY | 914 | Marker Lamps, License Lamps, Export | H7 (WX7) | GRY | 914 | Marker Lamps, License Lamps, Export | ||||||||
H8 | PNK | 439 | Fuse Output-Ignition 1-Type III Fuse | H8 | PNK | 439 | Fuse Output-Ignition 1-Type III Fuse | ||||||||
H9 | YEL | 5 | Ignition Switch Output-Crank | H9 | YEL | 5 | Ignition Switch Output-Crank | ||||||||
J6 | -- | -- | Not Used | J6 | -- | -- | Not Used | ||||||||
J6 (WX7) | DK BLU | 913 | Right Taillamp, Right Sidemarker Lamp, Export | J6 (WX7) | DK BLU | 913 | Right Taillamp, Right Sidemarker Lamp, Export | ||||||||
J7 | ORN | 440 | Fuse Output-Battery-Type III Fuse | J7 | ORN | 440 | Fuse Output-Battery-Type III Fuse | ||||||||
J8 | DK BLU/WHT | 805 | Ignition Switch Output-Run/Heat/Crank | J8 | DK BLU/WHT | 805 | Ignition Switch Output-Run/Heat/Crank | ||||||||
J9 (L65) | -- | -- | Not Used | J9 | -- | -- | Not Used | ||||||||
J9 (L29) | PPL | 1589 | Fuel Gauge Sensor Signal | J9 | -- | -- | Not Used | ||||||||
K6 | LT GRN | 11 | High Beam Headlamp Feed | K6 | LT GRN | 11 | High Beam Headlamp Feed | ||||||||
K7 | DK BLU | 593 | High Beam Headlamp Feed-Daytime Running Lamps | K7 | DK BLU | 593 | High Beam Headlamp Feed-Daytime Running Lamps | ||||||||
K7 (WX7) | -- | -- | Not Used | K7 (WX7) | -- | -- | Not Used | ||||||||
K8 | PPL | 906 | Park Brake Proximity Switch | K8 | PPL | 906 | Park Brake Proximity Switch | ||||||||
K9 | -- | -- | Not Used | K9 | -- | -- | Not Used | ||||||||
L6 | BRN/WHT | 419 | Check Engine Indicator Lamp Output | L6 | BRN/WHT | 419 | Check Engine Indicator Lamp Output | ||||||||
L7 | PNK | 139 | Fuse Output-Ignition 1-Type III Fuse | L7 | PNK | 139 | Fuse Output-Ignition 1-Type III Fuse | ||||||||
L8 (L65) | YEL/BLK | 68 | Low Coolant Level Indicator Lamp Output | L8 | YEL/BLK | 68 | Low Coolant Level Indicator Lamp Output | ||||||||
L8 (L29) | -- | -- | Not Used | L8 | YEL/BLK | 68 | Low Coolant Level Indicator Lamp Output | ||||||||
M6 | PNK | 539 | Fuse Output-Ignition 1-Type III Fuse | M6 | PNK | 539 | Fuse Output-Ignition 1-Type III Fuse | ||||||||
M7 (L65) | DK BLU | 507 | Glow Plug Indicator Lamp Signal | M7 | DK BLU | 507 | Glow Plug Indicator Lamp Signal | ||||||||
M7 (L29) | -- | -- | Not Used | M7 | DK BLU | 507 | Glow Plug Indicator Lamp Signal | ||||||||
M8 | YEL | 10 | Headlamp Switch Output | M8 | YEL | 10 | Headlamp Switch Output | ||||||||
M9 | DK GRN | 29 | Horn Feed | M9 | DK GRN | 29 | Horn Feed | ||||||||
N6 (L65) | -- | -- | Not Used | N6 (L65) | BRN | 141 | Fuse Output-Ignition 3-Type III Fuse | ||||||||
N6 (L29) | BRN | 141 | Fuse Output-Ignition 3-Type III Fuse | N6 (L29) | BRN | 141 | Fuse Output-Ignition 3-Type III Fuse | ||||||||
N7 | YEL | 143 | Fuse Output-Accessory-Type III Fuse | N7 | YEL | 143 | Fuse Output-Accessory-Type III Fuse | ||||||||
N8 (L65) | -- | -- | Not Used | N8 | -- | -- | Not Used | ||||||||
N8 (L29) | BLK | 470 | Sensor Return | N8 | -- | -- | Not Used | ||||||||
N9 | BLK | 28 | Horn Relay Output-Coil | N9 | BLK | 28 | Horn Relay Output-Coil | ||||||||
P6 | BRN | 4 | Ignition Switch Output-Accessory | P6 | BRN | 4 | Ignition Switch Output-Accessory | ||||||||
P7 | LT BLU | 14 | Turn Signal Lamp Feed-Left Front | P7 | LT BLU | 14 | Turn Signal Lamp Feed-Left Front | ||||||||
P8 | DK GRN | 389 | Vehicle Speed Signal - 4000 Pulses Per Mile | P8 | DK GRN | 389 | Vehicle Speed Signal - 4000 Pulses Per Mile | ||||||||
P9 | -- | -- | Not Used | P9 | -- | -- | Not Used | ||||||||
P9 (WX7) | YEL/BLK | 965 | Diode Network to Power Brake Booster Fluid Flow Alarm | P9 (WX7) | YEL/BLK | 965 | Diode Network to Power Brake Booster Fluid Flow Alarm | ||||||||
P10 | WHT | 121 | Tachometer Signal | P10 | WHT | 121 | Tachometer Signal | ||||||||
| |||||||||||||||
Connector Part Information |
| Connector Part Information |
| ||||||||||||
Pin | Wire Color | Circuit No. | Function | Pin | Wire Color | Circuit No. | Function | ||||||||
A | LT GRN | 24 | Backup Lamp Feed | A | LT GRN | 24 | Backup Lamp Feed | ||||||||
B | WHT | 905 | Diode Network | B | WHT | 905 | Diode Network | ||||||||
C | DK GRN | 29 | Horn Feed | C | DK GRN | 29 | Horn Feed | ||||||||
| |||||||||||||||
Connector Part Information |
| Connector Part Information |
| ||||||||||||
Pin | Wire Color | Circuit No. | Function | Pin | Wire Color | Circuit No. | Function | ||||||||
A | -- | -- | Not Used | A | -- | -- | Not Used | ||||||||
B | PPL | 92 | Windshield Wiper Motor Feed-High Speed | B | PPL | 92 | Windshield Wiper Motor Feed-High Speed | ||||||||
C | GRY | 91 | Windshield Wiper Relay Feed-Coil | C | GRY | 91 | Windshield Wiper Relay Feed-Coil | ||||||||
D | LT BLU | 97 | Windshield Wiper Switch Signal-Mist/Off/Low | D | LT BLU | 97 | Windshield Wiper Switch Signal-Mist/Off/Low | ||||||||
E | YEL | 143 | Fuse Output-Accessory-Type III Fuse | E | YEL | 143 | Fuse Output-Accessory-Type III Fuse | ||||||||
F | PNK | 94 | Windshield Washer Switch Signal | F | PNK | 94 | Windshield Washer Switch Signal | ||||||||
G | -- | -- | Not Used | G | -- | -- | Not Used | ||||||||
| |||||||||||||||
Connector Part Information |
| Connector Part Information |
| ||||||||||||
Pin | Wire Color | Circuit No. | Function | Pin | Wire Color | Circuit No. | Function | ||||||||
A | ORN | 40 | Fuse Output-Battery-Type III Fuse | A | ORN | 40 | Fuse Output-Battery-Type III Fuse | ||||||||
A (WX7) | GRY | 157 | Interior Lamp Output | A (WX7) | GRY | 157 | Interior Lamp Output | ||||||||
B | WHT | 156 | Courtesy Lamp Output | B | WHT | 156 | Courtesy Lamp Output | ||||||||
| |||||||||||||||
Connector Part Information |
| Connector Part Information |
| ||||||||||||
Pin | Wire Color | Circuit No. | Function | Pin | Wire Color | Circuit No. | Function | ||||||||
A1 | GRY | 120 | Fuel Pump Motor Feed | A1 | GRY | 120 | Fuel Pump Motor Feed | ||||||||
A2 (L65) | -- | -- | Not Used | A2 | PPL | 1589 | Fuel Gauge Sensor Signal | ||||||||
A2 (L29) | PPL | 1589 | Fuel Gauge Sensor Signal | A2 | PPL | 1589 | Fuel Gauge Sensor Signal | ||||||||
A2 | -- | -- | Not Used | A2 (WX7) | -- | -- | Not Used | ||||||||
A3 (L65) | -- | -- | Not Used | A3 | BLK | 470 | Sensor Return | ||||||||
A3 (L29) | BLK | 470 | Sensor Return | A3 | BLK | 470 | Sensor Return | ||||||||
A3 | -- | -- | Not Used | A3 (WX7) | -- | -- | Not Used | ||||||||
A4 | -- | -- | Not Used | A4 | -- | -- | Not Used | ||||||||
A4 (WX7) | PPL | 912 | Left Taillamp, Left Sidemarker Lamp, Export | A4 (WX7) | PPL | 912 | Left Taillamp, Left Sidemarker Lamp, Export | ||||||||
A5 | -- | -- | Not Used | A5 | -- | -- | Not Used | ||||||||
A5 (WX7) | DK BLU | 913 | Right Taillamp, Right Sidemarker Lamp, Export | A5 (WX7) | DK BLU | 913 | Right Taillamp, Right Sidemarker Lamp, Export | ||||||||
B1 | -- | -- | Not Used | B1 | -- | -- | Not Used | ||||||||
B1 (WX7) | GRY | 914 | Marker Lamps, License Lamps, Export | B1 (WX7) | GRY | 914 | Marker Lamps, License Lamps, Export | ||||||||
B2 (L65) | PPL | 30 | Fuel Gauge Sensor Signal | B2 | PPL | 30 | Fuel Gauge Sensor Signal | ||||||||
B2 (L29) | -- | -- | Not Used | B2 | PPL | 30 | Fuel Gauge Sensor Signal | ||||||||
B3 | -- | -- | Not Used | B3 | -- | -- | Not Used | ||||||||
B4 | LT GRN | 24 | Backup Lamp Feed | B4 | LT GRN | 24 | Backup Lamp Feed | ||||||||
B5 | YEL | 18 | Stop/Turn Lamp Feed-Left Rear | B5 | YEL | 18 | Stop/Turn Lamp Feed-Left Rear | ||||||||
C1 | LT BLU | 20 | Stoplamp Feed | C1 | LT BLU | 20 | Stoplamp Feed | ||||||||
C2 | BRN | 9 | Park Lamp Feed | C2 | BRN | 9 | Park Lamp Feed | ||||||||
C2 (WX7) | -- | -- | Not Used | C2 (WX7) | -- | -- | Not Used | ||||||||
C3 | DK GRN | 19 | Stop/Turn Lamp Feed-Right Rear | C3 | DK GRN | 19 | Stop/Turn Lamp Feed-Right Rear | ||||||||
C4-C5 | -- | -- | Not Used | C4-C5 | -- | -- | Not Used | ||||||||
| |||||||||||||||
Connector Part Information |
| Connector Part Information |
| ||||||||||||
Pin | Wire Color | Circuit No. | Function | Pin | Wire Color | Circuit No. | Function | ||||||||
A | RED | 2 | Fuse Output-Battery-Type I Fuse | A | RED | 2 | Fuse Output-Battery-Type I Fuse | ||||||||
B | LT GRN | 1844 | Park Brake Auto Apply Indicator Lamp Feed | B | LT GRN | 1844 | Park Brake Auto Apply Indicator Lamp Feed | ||||||||
C | PNK | 639 | Fuse Output-Ignition 1-Type III Fuse | C | PNK | 639 | Fuse Output-Ignition 1-Type III Fuse | ||||||||
| |||||||||||||||
Connector Part Information |
| Connector Part Information |
| ||||||||||||
Pin | Wire Color | Circuit No. | Function | Pin | Wire Color | Circuit No. | Function | ||||||||
A | YEL/BLK | 1131 | Auto Apply Park Brake Switch Signal | A | YEL/BLK | 1131 | Auto Apply Park Brake Switch Signal | ||||||||
B | PPL | 906 | Park Brake Proximity Switch | B | PPL | 906 | Park Brake Proximity Switch | ||||||||
C | -- | -- | Not Used | C | -- | -- | Not Used | ||||||||
| |||||||||||||||
Connector Part Information |
| Connector Part Information |
| ||||||||||||
Pin | Wire Color | Circuit No. | Function | Pin | Wire Color | Circuit No. | Function | ||||||||
A | BRN | 9 | Park Lamp Feed | A | BRN | 9 | Park Lamp Feed | ||||||||
A (WX7) | PPL | 912 | Left Taillamp, Left Sidemarker Lamp, Export | A (WX7) | PPL | 912 | Left Taillamp, Left Sidemarker Lamp, Export | ||||||||
B | YEL | 18 | Stop/Turn Lamp Feed-Left Rear | B | YEL | 18 | Stop/Turn Lamp Feed-Left Rear | ||||||||
C | DK GRN | 19 | Stop/Turn Lamp Feed-Right Rear | C | DK GRN | 19 | Stop/Turn Lamp Feed-Right Rear | ||||||||
D | BLK | 150 | Ground | D | BLK | 150 | Ground | ||||||||
E | -- | -- | Not Used | E | -- | -- | Not Used | ||||||||
E (WX7) | DK BLU | 913 | Right Taillamp, Right Sidemarker Lamp, Export | E (WX7) | DK BLU | 913 | Right Taillamp, Right Sidemarker Lamp, Export | ||||||||
F | LT BLU | 20 | Stoplamp Feed | F | LT BLU | 20 | Stoplamp Feed | ||||||||
F (WX7) | GRY | 914 | Marker Lamps, License Lamps, Export | F (WX7) | GRY | 914 | Marker Lamps, License Lamps, Export | ||||||||
G | LT GRN | 24 | Backup Lamp Feed | G | LT GRN | 24 | Backup Lamp Feed | ||||||||
| |||||||||||||||
Connector Part Information |
| Connector Part Information |
| ||||||||||||
Pin | Wire Color | Circuit No. | Function | Pin | Wire Color | Circuit No. | Function | ||||||||
A | PPL | 1589 | Fuel Gauge Sensor Signal | A (L65) | -- | -- | Not Used | ||||||||
A | PPL | 1589 | Fuel Gauge Sensor Signal | A (L29) | PPL | 1589 | Fuel Gauge Sensor Signal | ||||||||
A (WX7) | -- | -- | Not Used | A | -- | -- | Not Used | ||||||||
B | GRY | 120 | Fuel Pump Motor Feed | B (L65) | -- | -- | Not Used | ||||||||
B | GRY | 120 | Fuel Pump Motor Feed | B (L29) | GRY | 120 | Fuel Pump Motor Feed | ||||||||
B (WX7) | -- | -- | Not Used | B | -- | -- | Not Used | ||||||||
C | BLK | 150 | Ground | C | BLK | 150 | Ground | ||||||||
D | BLK | 470 | Sensor Return | D (L65) | -- | -- | Not Used | ||||||||
D | BLK | 470 | Sensor Return | D (L29) | BLK | 470 | Sensor Return | ||||||||
D (WX7) | -- | -- | Not Used | D | -- | -- | Not Used | ||||||||
E | PPL | 30 | Fuel Gauge Sensor Signal | E (L65) | PPL | 30 | Fuel Gauge Sensor Signal | ||||||||
E | PPL | 30 | Fuel Gauge Sensor Signal | E (L29) | -- | -- | Not Used | ||||||||
F-G | -- | -- | Not Used | F-G | -- | -- | Not Used | ||||||||
| |||||||||||||||
Connector Part Information |
| Connector Part Information |
| ||||||||||||
Pin | Wire Color | Circuit No. | Function | Pin | Wire Color | Circuit No. | Function | ||||||||
A | BLK | 150 | Ground | A | BLK | 150 | Ground | ||||||||
B | GRY | 120 | Fuel Pump Motor Feed | B | GRY | 120 | Fuel Pump Motor Feed | ||||||||