GM Service Manual Online
For 1990-2009 cars only
Makes
🢒
Chevrolet
🢒
1998
🢒
Chevy Suburban 4WD - RHD
🢒
Body and Accessories
🢒
Doors
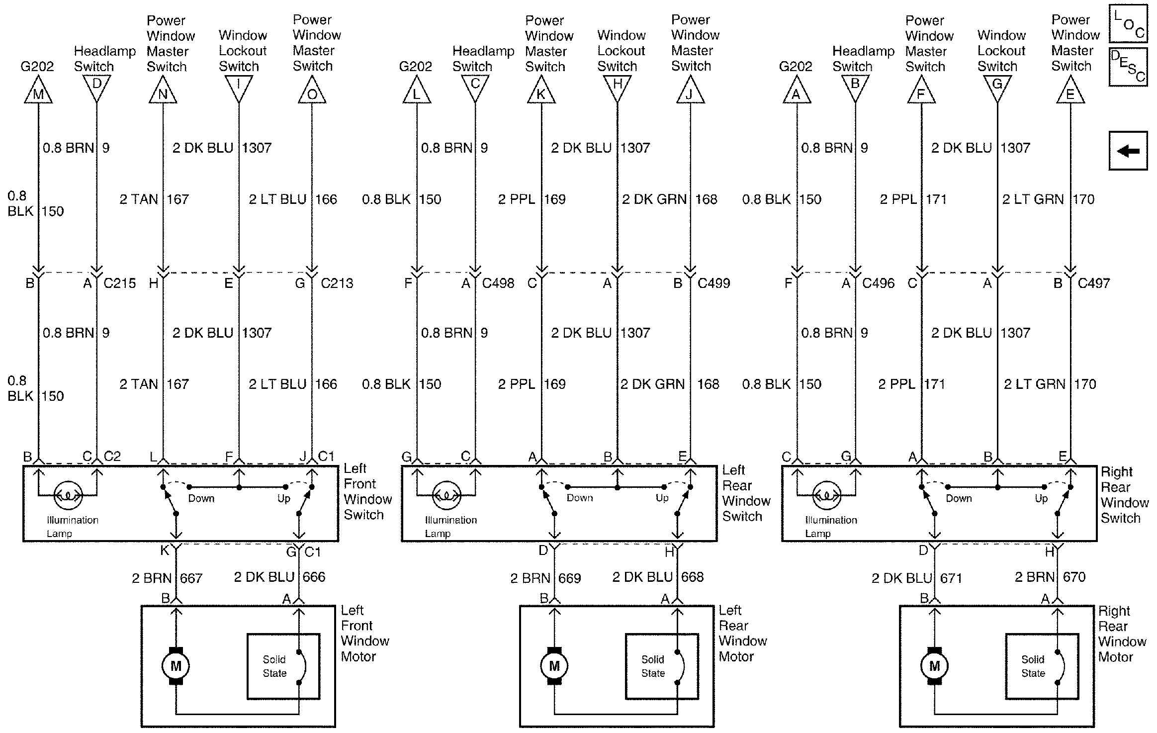
🢒 Power Window Schematics
Figure
1:
Cell 120: Power Window Motors
Figure
2:
Cell 120: Right Front Power Window Master Switch
Figure
3:
Cell 120: Window Switches and Motors