GM Service Manual Online
For 1990-2009 cars only

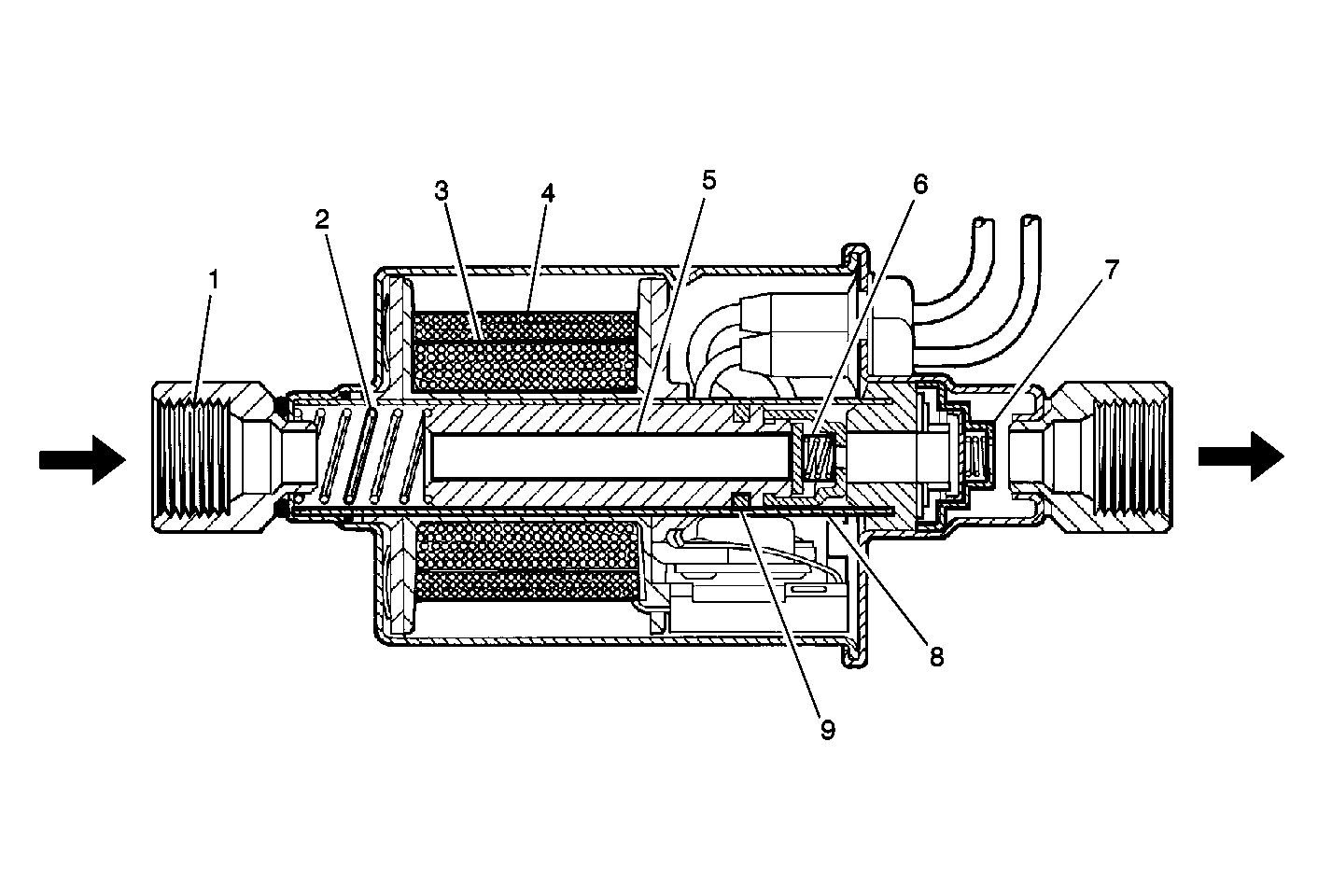
Fuel Lift Pump


Object Number: 27783  Size: MF
(1)Inlet Port
(2)Pressure Spring
(3)Primary Winding
(4)Secondary Winding
(5)Piston and Valve Assembly
(6)Inlet Valve
(7)Outlet Valve
(8)Cylinder
(9)Teflon Ring

The electric fuel lift pump mounts on the inside of the left frame rail, and is used to deliver fuel at a low pressure (at least 3 psi or 21 kPa) at the rate of 0.24 liter (½ pint) in 15 seconds (15 GPH). The lift pump is controlled by the PCM.