GM Service Manual Online
For 1990-2009 cars only
Figure 1:

Cell 10: Battery, LIGHTING and RADIO BATT Fuses


Object Number: 259774  Size: FS
Cell 10: IGN A and CIG LTR Fuses, PWR ACCY Circuit Breaker
Cell 10: IGN A and CIG LTR Fuses, PWR ACCY Circuit Breaker
Cell 10: IGN A and CIG LTR Fuses, PWR ACCY Circuit Breaker
Cell 10: IGN A and CIG LTR Fuses, PWR ACCY Circuit Breaker
Figure 2:

Cell 10: IGN A and CIG LTR Fuses, PWR ACCY Circuit Breaker


Object Number: 259782  Size: FS
Cell 10: Battery, LIGHTING and DRL-FOG Fuses (w/ ZM9)
Cell 10: Battery, LIGHTING and RADIO BATT Fuses
Cell 10: Battery, LIGHTING and DRL-FOG Fuses (w/ ZM9)
Cell 10: Battery, LIGHTING and DRL-FOG Fuses (w/ ZM9)
Cell 10: Battery, LIGHTING and DRL-FOG Fuses (w/ ZM9)
Cell 10: IGN A and RADIO BATT Fuses, PWR ACCY Circuit Breaker (w/ ZM9)
Cell 10: IGN A and RADIO BATT Fuses, PWR ACCY Circuit Breaker (w/ ZM9)
Cell 10: IGN A and RADIO BATT Fuses, PWR ACCY Circuit Breaker (w/ ZM9)
Cell 10: IGN A and RADIO BATT Fuses, PWR ACCY Circuit Breaker (w/ ZM9)
Cell 10: IGN A and RADIO BATT Fuses, PWR ACCY Circuit Breaker (w/ ZM9)
Figure 3:

Cell 10: Battery, LIGHTING and DRL-FOG Fuses (w/ ZM9)


Object Number: 259784  Size: FS
Cell 10: IGN A and RADIO BATT Fuses, PWR ACCY Circuit Breaker (w/ ZM9)
Cell 10: IGN A and CIG LTR Fuses, PWR ACCY Circuit Breaker
Cell 10: IGN A and RADIO BATT Fuses, PWR ACCY Circuit Breaker (w/ ZM9)
Cell 10: IGN A and RADIO BATT Fuses, PWR ACCY Circuit Breaker (w/ ZM9)
Cell 10: IGN A and RADIO BATT Fuses, PWR ACCY Circuit Breaker (w/ ZM9)
Cell 10: IGN A and RADIO BATT Fuses, PWR ACCY Circuit Breaker (w/ ZM9)
Cell 10: IGN A and RADIO BATT Fuses, PWR ACCY Circuit Breaker (w/ ZM9)
Figure 4:

Cell 10: IGN A and RADIO BATT Fuses, PWR ACCY Circuit Breaker (w/ ZM9)


Object Number: 259788  Size: FS
Cell 10: Ignition Switch and WIPER Fuse
Cell 10: Battery, LIGHTING and DRL-FOG Fuses (w/ ZM9)
Cell 10: Battery, LIGHTING and RADIO BATT Fuses
Cell 10: Battery, LIGHTING and RADIO BATT Fuses
Cell 10: Battery, LIGHTING and RADIO BATT Fuses
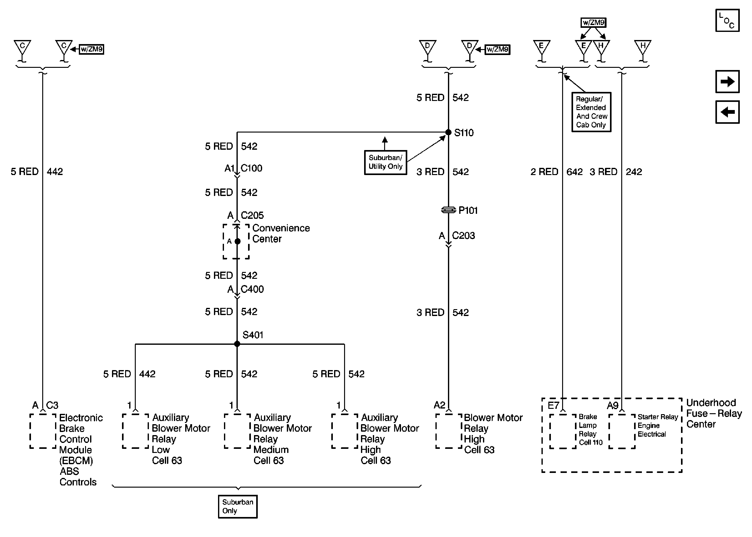
Cell 10: EBCM; Blower Motor, Brake Lamp and Starter Relay
Cell 10: IGN E and CRANK Fuses
Cell 10: EBCM; Blower Motor, Brake Lamp and Starter Relay
Figure 5:

Cell 10: Ignition Switch and WIPER Fuse


Object Number: 259790  Size: FS
Cell 10: IGN E and CRANK Fuses
Cell 10: IGN A and RADIO BATT Fuses, PWR ACCY Circuit Breaker (w/ ZM9)
Cell 10: IGN E and CRANK Fuses
Figure 6:

Cell 10: IGN E and CRANK Fuses


Object Number: 259792  Size: FS
Cell 10: EBCM; Blower Motor, Brake Lamp and Starter Relay
Cell 10: Ignition Switch and WIPER Fuse
Cell 10: Ignition Switch and WIPER Fuse
Cell 10: Ignition Switch and WIPER Fuse
Cell 10: Ignition Switch and WIPER Fuse
Figure 7:

Cell 10: EBCM; Blower Motor, Brake Lamp and Starter Relay


Object Number: 259789  Size: FS
Cell 10: Megafuse, Fuse Block 4 and 5, Auxiliary Power Center
Cell 10: IGN E and CRANK Fuses
HVAC Blower Control Schematics
HVAC Blower Control Schematics
HVAC Blower Control Schematics
HVAC Blower Control Schematics
Cell 10: IGN A and CIG LTR Fuses, PWR ACCY Circuit Breaker
Cell 10: IGN A and CIG LTR Fuses, PWR ACCY Circuit Breaker
Cell 10: IGN A and CIG LTR Fuses, PWR ACCY Circuit Breaker
Cell 10: IGN A and CIG LTR Fuses, PWR ACCY Circuit Breaker
Cell 10: IGN A and CIG LTR Fuses, PWR ACCY Circuit Breaker
Cell 10: IGN A and CIG LTR Fuses, PWR ACCY Circuit Breaker
Cell 10: IGN A and CIG LTR Fuses, PWR ACCY Circuit Breaker
Figure 8:

Cell 10: Megafuse, Fuse Block 4 and 5, Auxiliary Power Center


Object Number: 259794  Size: FS
Cell 10: Megafuse, Fuse Block 3 and 4, Auxiliary Power Center
Cell 10: EBCM; Blower Motor, Brake Lamp and Starter Relay
Cell 10: Megafuse, Fuse Block 3 and 4, Auxiliary Power Center
Cell 10: Megafuse, Fuse Block 3 and 4, Auxiliary Power Center
Figure 9:

Cell 10: Megafuse, Fuse Block 3 and 4, Auxiliary Power Center


Object Number: 259793  Size: FS
Cell 10: Megafuse, Fuse Block 4 and 5, Auxiliary Power Center
Cell 10: Megafuse, Fuse Block 4 and 5, Auxiliary Power Center
Cell 10: Megafuse, Fuse Block 4 and 5, Auxiliary Power Center