GM Service Manual Online
For 1990-2009 cars only

Important: Do not use the intake manifold gaskets or end seals again.

  1. Clean the intake manifold in an approved solvent.
  2. • Clean debris out of all bolt holes.
    • Clean the intake manifold gasket sealing surfaces.
    • Clean all intake manifold ports.

    Caution: Refer to Safety Glasses Caution in the Preface section.


    Object Number: 635688  Size: SH
  3. Dry the intake manifold with compressed air.
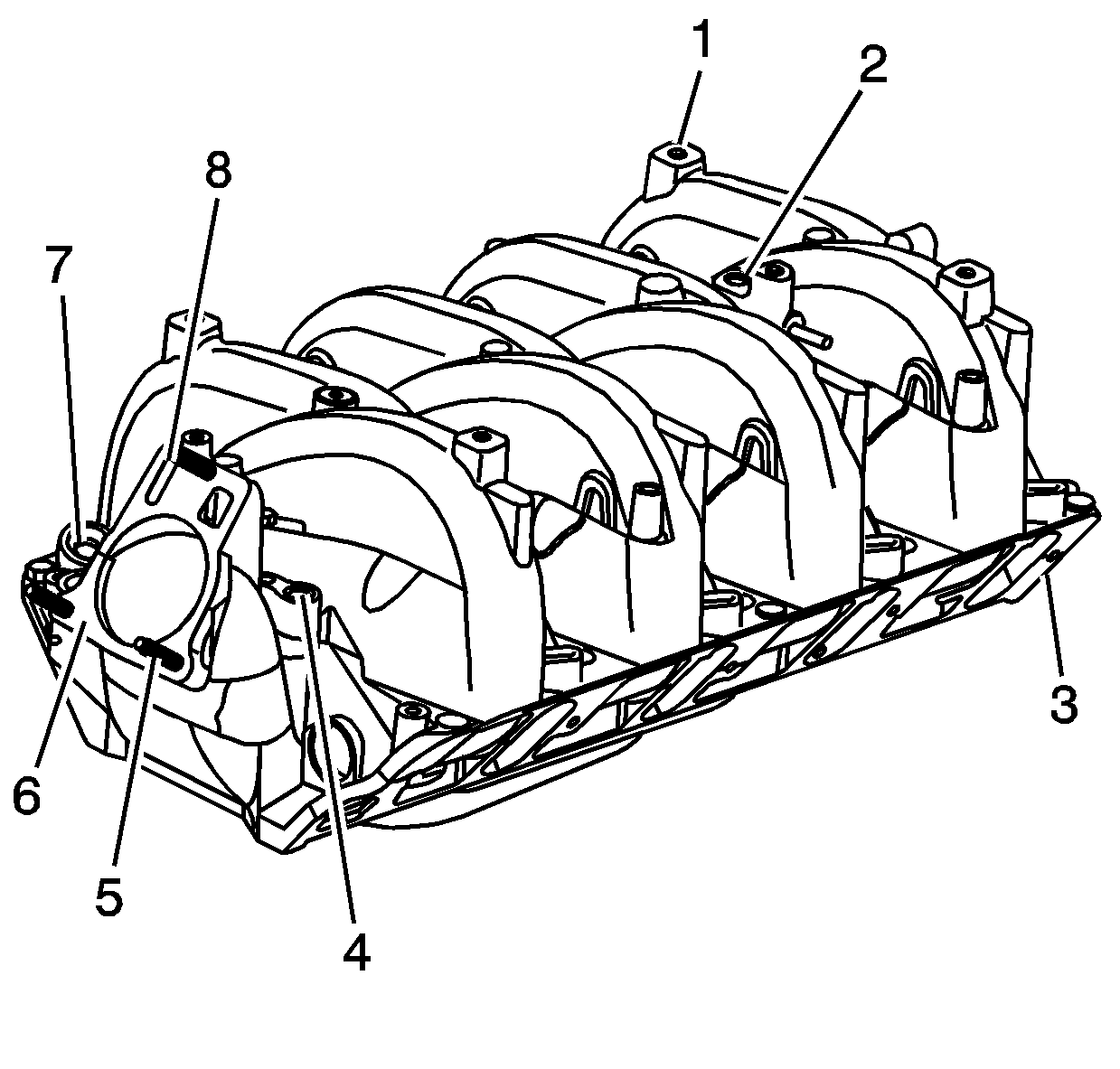
  4. Inspect the following components:
  5. • The intake manifold bolt holes (1) for cracks and/or damage
    • The manifold absolute pressure (MAP) sensor sealing surface (2) for damage
    • The evaporative emission (EVAP) purge valve sealing surface (4) for damage
    • The purge valve bolt has a sealer that may come off during removal of the bolt. Ensure all sealant is removed from the bolt hole.
    • The intake manifold-to-cylinder head sealing surfaces (3) for damage
    • The throttle body studs (5) for damage
    • Replace, as necessary.
    • The throttle body mounting surface (6) for damage
    • The oil fill tube hole (7) for signs of leakage
    • Seal, as necessary.
    • Positive crankcase ventilation (PCV) port (8) for debris or varnish buildup