GM Service Manual Online
For 1990-2009 cars only

Removal Procedure


    Object Number: 406215  Size: SH
  1. Disconnect the license plate lamp harness.

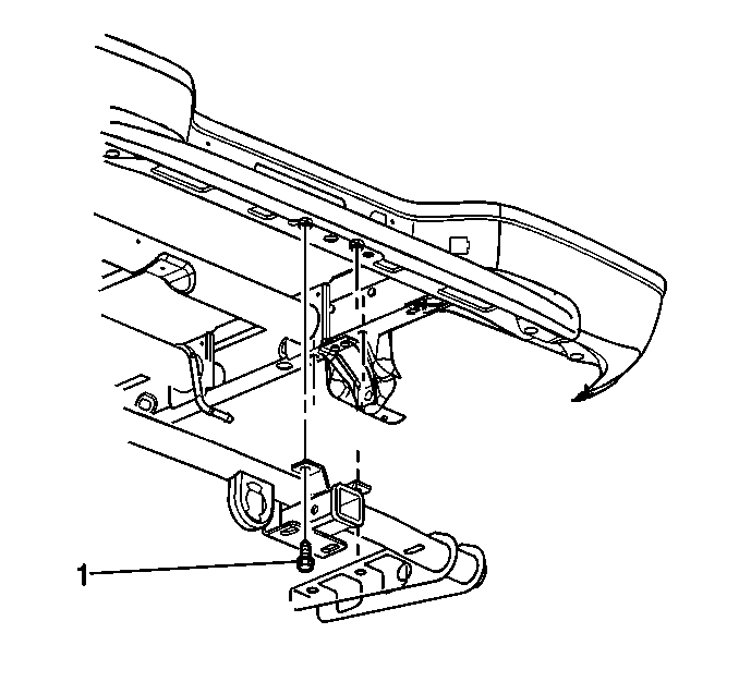
  2. Object Number: 379246  Size: SH
  3. Remove the impact bar nut (1).
  4. Remove the plate nuts (2).
  5. Remove the lower frame rail to bracket bolt (3).
  6. Remove the side frame rail to bracket bolt (4).

  7. Object Number: 393110  Size: SH
  8. Remove the rear trailer hitch to bumper bolts (1), if equipped.
  9. Remove the rear bumper from the vehicle.

Installation Procedure

  1. Position the rear bumper onto the vehicle.

  2. Object Number: 393110  Size: SH
  3. Install the rear trailer hitch to bumper bolts (1), if equipped.
  4. Notice: Refer to Fastener Notice in the Preface section.


    Object Number: 379246  Size: SH
  5. Install the impact bar nut (1).
  6. Tighten
    Tighten the impact bar nut (1) to 50 N·m (37 lb ft).

  7. Install the plate nuts (2).
  8. Tighten
    Tighten the plate nuts (2) to 90 N·m (66 lb ft).

  9. Install the lower frame rail to bracket bolt (3).
  10. Tighten
    Tighten the lower frame rail to bracket bolt (3) to 100 N·m (74 lb ft).

  11. Install the side frame rail to bracket bolt (4).
  12. Tighten
    Tighten the side frame rail to bracket bolt (4) to 40 N·m (30 lb ft).

  13. Install the bumper step pad. Refer to Rear Bumper Step Pad Replacement .

  14. Object Number: 406215  Size: SH
  15. Install the license plate lamp harness.