GM Service Manual Online
For 1990-2009 cars only
Makes
🢒
Chevrolet
🢒
2004
🢒
Chevy Suburban - 4WD
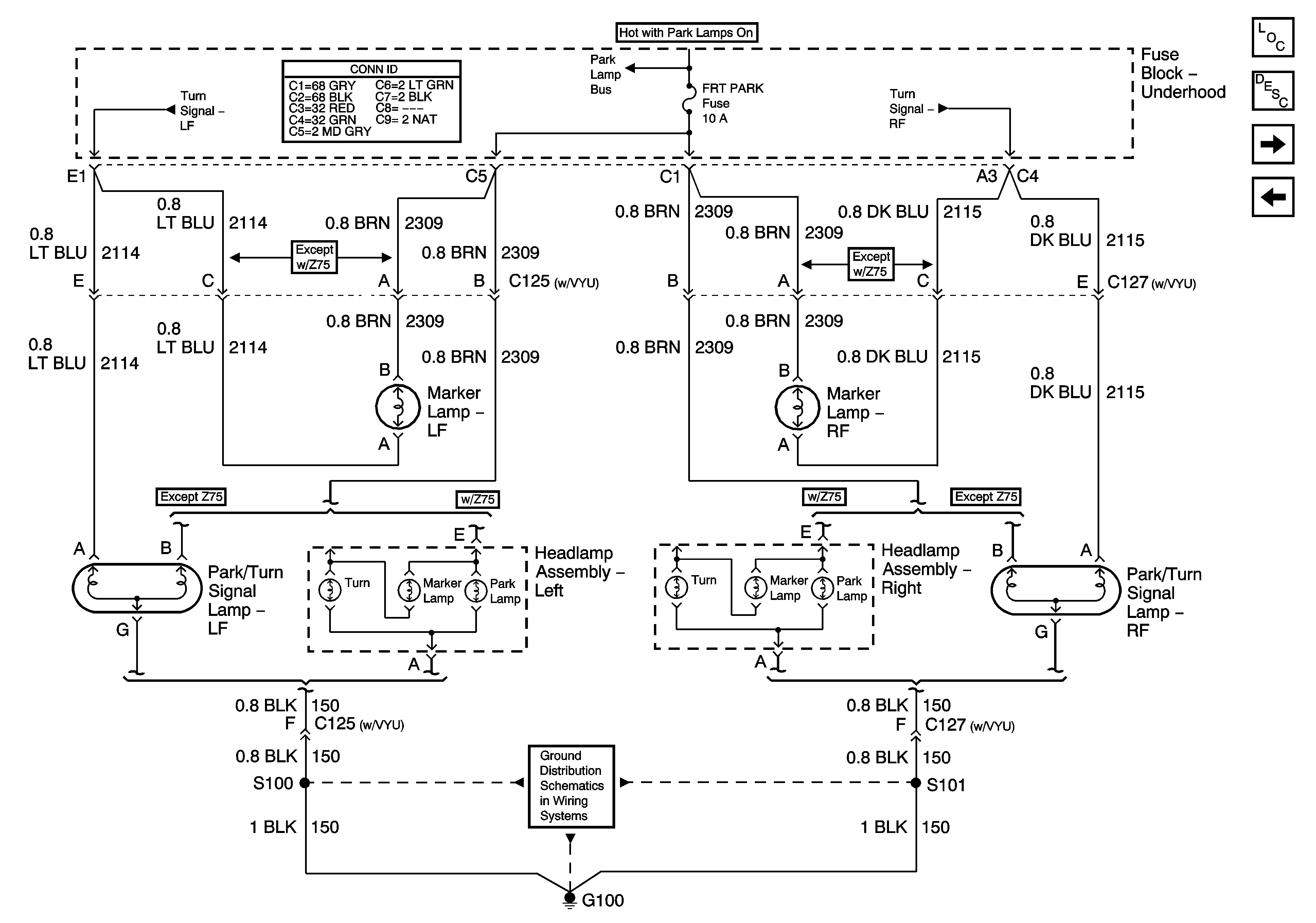
🢒 Front Park Lamps - Domestic
Front Park Lamps - Domestic
Front Park Lamps - Domestic
Master Electrical Component List
Exterior Lighting Systems Description and Operation
Front Park Lamps - Export
Park Lamp Relay - Export
Left Turn Signals - Domestic
Park Lamp Relay - Domestic
Right Turn Signals - Domestic
G100, G101, G105, G106