GM Service Manual Online
For 1990-2009 cars only
Makes
🢒
Chevrolet
🢒
2004
🢒
Classic
🢒 Theft Deterrent
Theft Deterrent
Master Electrical Component List
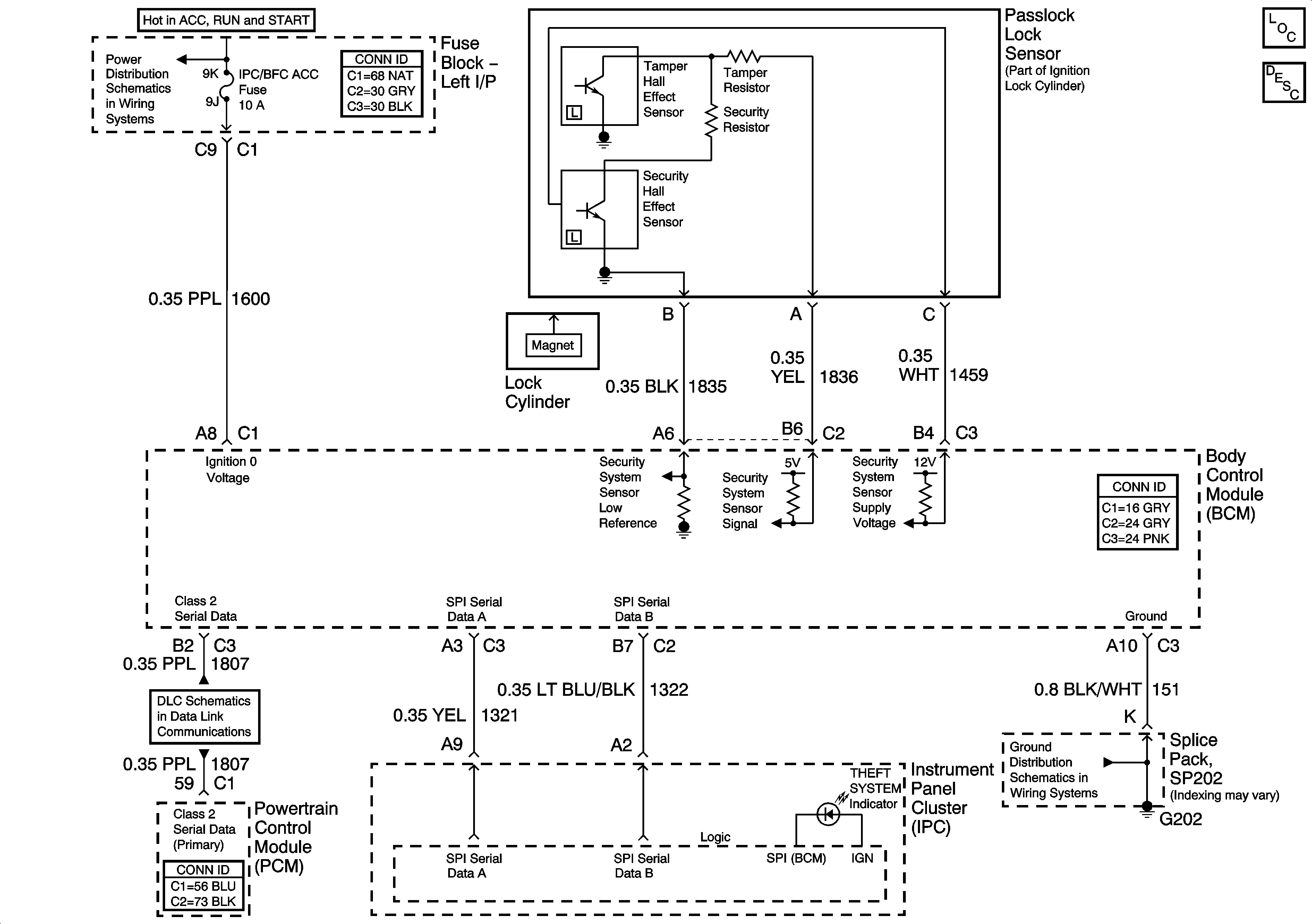
Theft Systems Description and Operation
IGN SW BATT 1, IGN SW BATT2, Ignition Switch
Data Link Communication
SP202