GM Service Manual Online
For 1990-2009 cars only

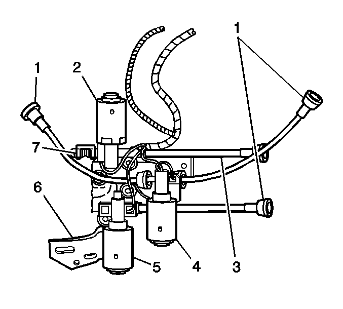
Removal Procedure


    Object Number: 820964  Size: SH
  1. Place the front seat in the highest vertical position.
  2. Remove the front seat. Refer to Seat Replacement. Refer to Seat Replacement .
  3. Disconnect the electrical connectors from the motors (2,4,5).
  4. Squeeze the oblong connectors for the vertical and horizontal drive cables (1,3).
  5. Pull the drive cables (1,3) out from the vertical and horizontal actuators.
  6. Remove the motor support bracket nut from the seat adjuster.
  7. Remove the retaining clip (7) from the horizontal motor (2).
  8. Remove the motor support bracket (6) from the seat adjuster.
  9. Drill out the rivets.
  10. Remove the motors (2,4,5) from the mounting support bracket (6).

Installation Procedure


    Object Number: 820964  Size: SH
  1. Install the grommet to the motor support bracket (6). Secure the motor (2,4,5) to the grommet using appropriate rivets.
  2. Install the motor support bracket (6) to the seat adjuster.
  3. Notice: Use the correct fastener in the correct location. Replacement fasteners must be the correct part number for that application. Fasteners requiring replacement or fasteners requiring the use of thread locking compound or sealant are identified in the service procedure. Do not use paints, lubricants, or corrosion inhibitors on fasteners or fastener joint surfaces unless specified. These coatings affect fastener torque and joint clamping force and may damage the fastener. Use the correct tightening sequence and specifications when installing fasteners in order to avoid damage to parts and systems.

  4. Install the motor support bracket nut to the seat adjuster.
  5. Tighten
    Tighten the nut to 8 N·m (70 lb in).

  6. Install the retaining clip (7) to the horizontal motor (2).
  7. Install the drive cables (1,3) to the vertical and horizontal actuators.
  8. Push the drive cable connectors into the actuators until a loud audible click is heard.
  9. Connect the electrical connectors to the motors (1,2,3).
  10. Install the front seat. Refer to Seat Replacement .
  11. Return the seat to the original position.