GM Service Manual Online
For 1990-2009 cars only
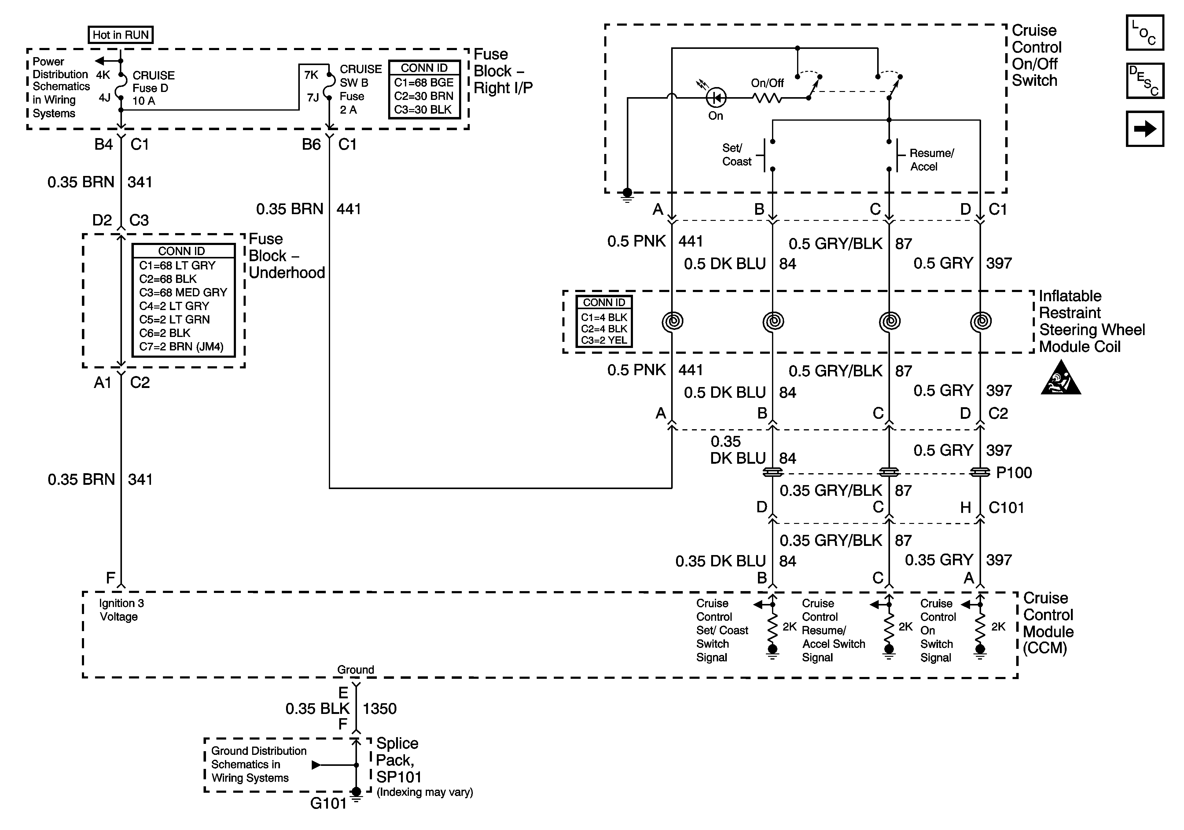
Figure 1:

Power, Ground and Switch


Object Number: 783091  Size: FS
Master Electrical Component List
Cruise Control Description and Operation
Brake Switch and Inhibit Signals
CRUISE SW, CRUISE, SUNROOF, and HVAC BLOWER Fuses
SP101
Cruise Control Schematic Icons
Figure 2:

Brake Switch and Inhibit Signals


Object Number: 1221857  Size: FS
Master Electrical Component List
Cruise Control Description and Operation
Cruise Control Indicator
Power, Ground and Switch
EBCM, PWR, GND and BPMV
Tail and Stop Lights
CRUISE SW, CRUISE, SUNROOF, and HVAC BLOWER Fuses
Power and Grounds
Figure 3:

Cruise Control Indicator


Object Number: 1493958  Size: FS
Master Electrical Component List
Cruise Control Description and Operation
Brake Switch and Inhibit Signals
Data Link Connector (DLC) Schematics