| Subject: | New Cylinder Bore Piston Sleeve Replacement Procedure |
| Models: | 2002-2005 Chevrolet Cavalier |
| 2004-2006 Chevrolet Classic, Malibu |
| 2005-2006 Chevrolet Cobalt, Cobalt SS |
| 2006 Chevrolet HHR |
| 2002-2004 Oldsmobile Alero |
| 2002-2005 Pontiac Sunfire |
| 2002-2006 Pontiac Grand Am |
| 2005-2006 Pontiac G6, Pursuit (Canada Only) |
| 2006 Pontiac Soltice |
| with Ecotec 2.0L, 2.2L or 2.4L 4-Cylinder Engine (VINs P, F, B - RPOs LSJ, L61, LE5) |
This bulletin is being revised to provide updated cylinder sleeve replacement procedures. Please discard Corporate Bulletin Number 03-06-01-018C (Section 06 -- Engine).
This bulletin is being issued to update cylinder sleeve replacement in the Engine Mechanical sub-section of the Service Manual. Please replace the current information in the Service Manual with the following information. The following information has been updated within SI. If you are using a paper version of this Service Manual, please make a reference to this bulletin on the affected page.
The new procedure for the 2.0L , 2.2L and 2.4L four cylinder engines has been developed to replace the cylinder bore sleeve when the engine is in or out of the vehicle.
EN45680-850 Cylinder Sleeve Removal and Installation Kit
Notice: Do not chill or heat the cylinder bore sleeve or the cylinder block when removing or installing a new cylinder bore sleeve. Chilling or heating the cylinder bore sleeve or the cylinder block will cause engine damage and will not aid the removal or installation of the new cylinder bore sleeve.
Notice: Do not damage the crankshaft connecting rod journals or reluctor ring or engine damage will occur.
Notice: Ensure that the shoe is flat against the bottom of the cylinder bore liner or damage to the cylinder bore liner puller EN45680-852 will occur.
Fastener Notice: Use the correct fastener in the correct location. Replacement fasteners must be the correct part number for that application. Fasteners requiring replacement or fasteners requiring the use of thread locking compound or sealant are identified in the service procedure. Do not use paints, lubricants, or corrosion inhibitors on fasteners or fastener joint surfaces unless specified. These coatings affect fastener torque and joint clamping force and may damage the fastener. Use the correct tightening sequence and specifications when installing fasteners in order to avoid damage to parts and systems.
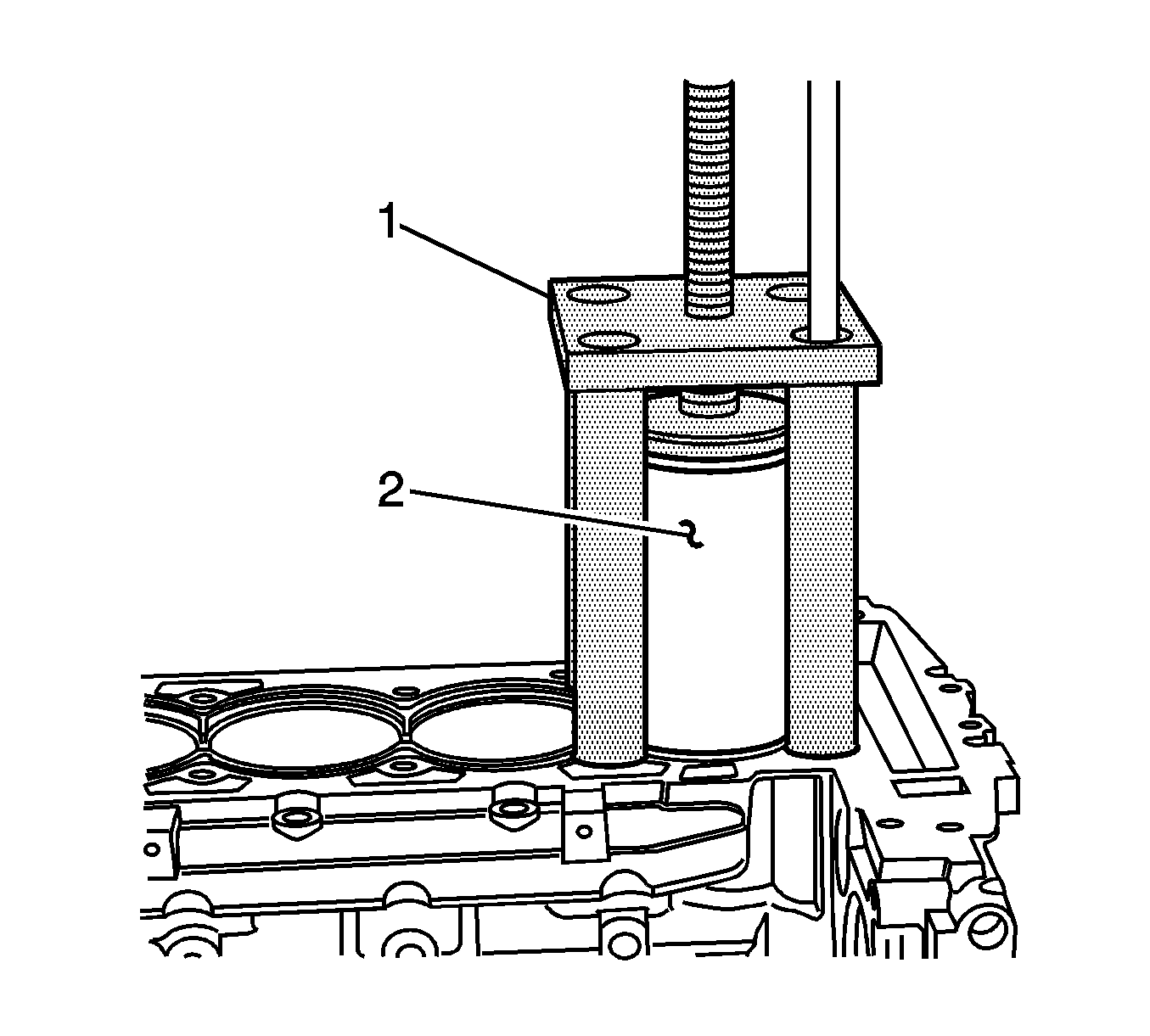
Important: Use 4 old cylinder head bolts for the attaching bolts
Tighten
Tighten the bolts to 15 N·m(11 lb ft).
Notice: Notice: Do not damage the cylinder block surface. Damage to the cylinder block surface can cause engine failure.
Notice: Do not use assembly aids or lubricants on the cylinder bore sleeve or the cylinder bore block when installing a new cylinder bore sleeve, or engine damage will occur. These items will not aid in the installation of the new cylinder bore sleeve.
Notice: Do not chill or heat the cylinder bore sleeve or the cylinder block when removing or installing a new cylinder bore sleeve. Chilling or heating the cylinder bore sleeve or the cylinder block will cause engine damage and will not aid the removal or installation of the new cylinder bore sleeve.
Fastener Notice: Use the correct fastener in the correct location. Replacement fasteners must be the correct part number for that application. Fasteners requiring replacement or fasteners requiring the use of thread locking compound or sealant are identified in the service procedure. Do not use paints, lubricants, or corrosion inhibitors on fasteners or fastener joint surfaces unless specified. These coatings affect fastener torque and joint clamping force and may damage the fastener. Use the correct tightening sequence and specifications when installing fasteners in order to avoid damage to parts and systems.
Important: Use 4 old cylinder head bolts for the attaching bolts.
Tighten
Tighten the 4 attachment bolts to 15 N·m(11 lb ft).
Notice: Do not use any air powered or electric tools to rotate the threaded shaft of the fixture EN 45680-851/cylinder bore liner installer EN 45680-853 assembly or damage to the cylinder bore liner will occur.
| • | EN 45680-865 Debris Collector (3) |
| • | EN 45680-861 Trim Tool Assembly (2) |
| • | Air Control Valve (1) |
| • | Drill Motor with 1/2 inch chuck, 1 1/8 hp, 7 amps, triple gear reduction, and a 450-600 RPM rotational speed in a clockwise direction |
| • | Trim Tool Preloader (1) |
| • | EN 45680-862 Set Gage Ring (2) |
| • | EN 45680-863 Metal Shavings Catch Plug (3) |
| • | EN 45680-866 Drive Adapter (4) |
| • | EN 45680-864 Bolts (5) |
Notice: Do not bore or hone the cylinder bore sleeve. The cylinder bore sleeve inside diameter (I.D) is fully machined and honed to size and is optimally finished as shipped. Any attempt to modify this factory-produced sizing and finish with additional boring and honing will lead to engine damage, excessive noise or abnormal oil consumption.
Notice: Ensure that all the metal particles are collected in order to prevent internal damage to the transaxle or bearings.
Notice: Installing the metal shaving catch plug EN 45680-863 deeper than the recommended depth will create a decrease in vacuum system performance. A decrease in vacuum system performance will cause metal shavings to enter the engine and cause engine failure.
Notice: Notice: Installing the metal shaving catch plug EN 45680-863 above the recommended depth will cause damage to the metal shaving catch plug EN 45680-863
Important: Before using EN 45680-861 trim tool assembly, the height of the cutting blades must be set to the proper specification. The proper specification is that the cylinder bore sleeve flange must be flush to +0.02 mm (0.0008 in) above the block deck surface.
Important: Ensure that the EN 45680-862 set gage ring surfaces are clean.
Important: Once this procedure is done, it is not necessary to reset the EN 45680-861trim tool assembly height until the blades are worn or damaged
Tighten
Tighten the shaft collar screw to 19 N·m(14 lb ft).
Tighten
Tighten the bolts to 20 N·m(15 lb ft).
Notice: For proper tool operation, a drill motor with a 1/2 inch chuck, 1 1/8 hp, 7 amps, triple gear reduction, and a 450-600 RPM rotational speed in a clockwise direction must be used. If the proper drill motor is not used, damage to the cylinder bore sleeve will occur.
Notice: Ensure that there are no crimps in the air feed hose or the vacuum hose. Crimps in the hose may cause metal shavings to exit the cutting tool in any direction, causing engine damage.
Part Number | Description |
|---|---|
88984129 | Sleeve Cylinder Bore Liner |
For vehicles repaired under warranty, use:
Labor Operation | Description | Labor Time |
|---|---|---|
J1335 | Sleeve, Cylinder Bore -- Replace one | Use Published Labor Operation Time |
Add: | To clean parts on vehicles over 30,000 miles / 48,000 KM | |
Add: | To replace each additional cylinder sleeve | |
Z2063 | Tool Credit | Net Amount* |
*A one time tool allowance for the cost of the tool EN 45680-850 may be claimed. This is in lieu of packaging this as an essential tool since all dealers may not require this process. This tool will be shipped to Tier 1 and Tier 2 dealers in the USA and high volume dealers in Canada. Other dealers may order the tool from Kent Moore. This tool allowance should be filed under Z2063 for the cost of the tool, minus shipping and taxes and should be entered in the net amount category. This claim should be filed with the first use of the tool and "H" routed to the Area Service Manager (DSM in Canada) for approval. As with any net amount claim, supporting documentation must be attached to the repair order. This allowance may only be claimed one time per BAC/dealer code. Any dealer that has received this tool and not used it after a period of five years may return the entire tool to Kent Moore for a refund of the original purchase price not including shipping or taxes. Contact Kent Moore at 1-800-GMTOOLS (1800-468-6657) or fax 1-800-578-7375 to obtain a return authorization and shipping instructions.