| Table 1: | Engine Block - Top View |
| Table 2: | Engine Block - Bottom View |
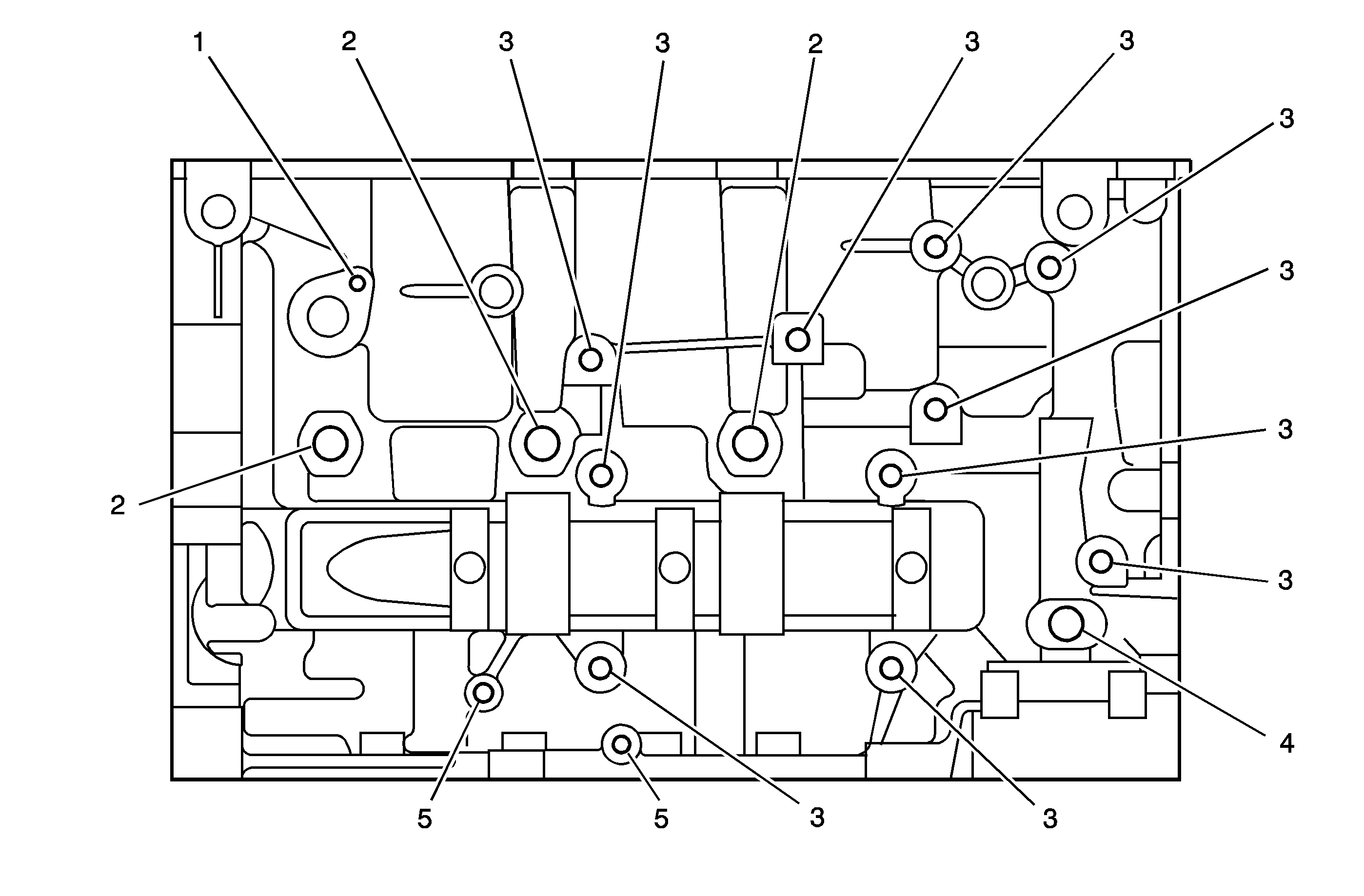
| Table 3: | Engine Block - Left Side View |
| Table 4: | Engine Block - Right Side View |
| Table 5: | Engine Block - Front View |
| Table 6: | Engine Block - Rear View |
| Table 7: | Cylinder Head - Top View |
| Table 8: | Cylinder Head - End - Front View |
| Table 9: | Cylinder Head - End - Rear View |
| Table 10: | Cylinder Head - Intake Manifold Deck View |
| Table 11: | Cylinder Head - Exhaust Manifold Deck View |
| Table 12: | Oil Pan - Bottom View |
| Table 13: | Oil Pan - Rear View |
| Table 14: | Engine Front Cover |
| Table 15: | Crankshaft Rear Oil Seal Housing |
Service Hole Location | Thread Size | Drill | Counterbore Tool | Stop Collar | Tap | Driver | Insert | Drill Depth (Max) | Tap Depth (Min) | ||
|---|---|---|---|---|---|---|---|---|---|---|---|
mm | (in) | mm | (in) | ||||||||
1 | M 11 x 2 | 402 | n/a | n/a | 403 | 404 | 108 | 59 | 2.324 | 51 | 2.009 |
2 | M 6 x 1 | 201 | 202 | n/a | 203 | 204 | 205 | 22 | 0.866 | 18 | 0.709 |
3 | M 6 x 1 | 201 | 202 | n/a | 203 | 204 | 205 | 30 | 1.182 | 26 | 1.024 |
Service Hole Location | Thread Size | Drill | Counterbore Tool | Stop Collar | Tap | Driver | Insert | Drill Depth (Max) | Tap Depth (Min) | ||
|---|---|---|---|---|---|---|---|---|---|---|---|
mm | (in) | mm | (in) | ||||||||
1 | M 10 x 1.5 | 417 | n/a | n/a | 418 | 419 | 420 | 49 | 1.93 | 42 | 1.655 |
2 | M 8 x 1.25 | 206 | 207 | n/a | 208 | 209 | 210 | 30 | 1.182 | 25 | 0.985 |
3 | M 6 x 1 | 201 | 202 | n/a | 203 | 204 | 205 | 22 | 0.866 | 18 | 0.709 |
Service Hole Location | Thread Size | Drill | Counterbore Tool | Stop Collar | Tap | Driver | Insert | Drill Depth (Max) | Tap Depth (Min) | ||
|---|---|---|---|---|---|---|---|---|---|---|---|
mm | (in) | mm | (in) | ||||||||
1 | M 10 x 1.5 | 211 | 212 | n/a | 213 | 214 | 420 | 33 | 1.3 | 27 | 1.063 |
2 | M 6 x 1 | 201 | 202 | n/a | 203 | 204 | 205 | 22 | 0.866 | 18 | 0.709 |
3 | M 28 x 1.25 | n/a | n/a | n/a | n/a | n/a | n/a | 25 | 0.985 | 17 | 0.669 |
4 | M 8 x 1.25 | 206 | 207 | n/a | 208 | 209 | 210 | 25 | 0.985 | 20 | 0.788 |
5 | M 6 x 1 | 206 | 207 | n/a | 208 | 209 | 210 | 19 | 0.748 | 15 | 0.591 |
6 | M 6 x 1 | 201 | 202 | n/a | 203 | 204 | 205 | 19 | 0.748 | 15 | 0.591 |
Service Hole Location | Thread Size | Drill | Counterbore Tool | Stop Collar | Tap | Driver | Insert | Drill Depth (Max) | Tap Depth (Min) | ||
|---|---|---|---|---|---|---|---|---|---|---|---|
mm | (in) | mm | (in) | ||||||||
1 | M 6 x 1 | 201 | 202 | n/a | 203 | 204 | 205 | 22 | 0.866 | 18 | 0.709 |
2 | M 16 x 1.5 | n/a | n/a | n/a | n/a | n/a | n/a | 32 | 1.260 | 23 | 0.906 |
3 | M 10 x 1.5 | 211 | 212 | n/a | 213 | 214 | 420 | 33 | 1.3 | 27 | 1.063 |
4 | M 16 x 2.0 | n/a | n/a | n/a | n/a | n/a | n/a | 29 | 1.142 | 26 | 1.024 |
5 | M 8 x 1.25 | 211 | 212 | n/a | 213 | 214 | 420 | 23 | 0.906 | 18 | 0.709 |
Service Hole Location | Thread Size | Drill | Counterbore Tool | Stop Collar | Tap | Driver | Insert | Drill Depth (Max) | Tap Depth (Min) | ||
|---|---|---|---|---|---|---|---|---|---|---|---|
mm | (in) | mm | (in) | ||||||||
1 | M 6 x 1 | 405 | n/a | 407 | 203 | 204 | 205 | 30 | 1.182 | 26 | 1.024 |
2 | M 6 x 1 | 201 | 202 | n/a | 203 | 204 | 205 | 18 | 0.709 | 14 | 0.551 |
3 | M 6 x 1 | 201 | 202 | n/a | 203 | 204 | 205 | 22 | 0.866 | 18 | 0.709 |
4 | M 16 x 1.5 | 405 | n/a | 407 | 203 | 204 | 205 | 24 | 0.945 | 16 | 0.630 |
5 | M 8 x 1.25 | 206 | 207 | n/a | 208 | 209 | 210 | 30 | 1.182 | 25 | 0.985 |
Service Hole Location | Thread Size | Drill | Counterbore Tool | Stop Collar | Tap | Driver | Insert | Drill Depth (Max) | Tap Depth (Min) | ||
|---|---|---|---|---|---|---|---|---|---|---|---|
mm | (in) | mm | (in) | ||||||||
1 | M 10 x 1.5 | 211 | 212 | n/a | 213 | 214 | 216 | THRU | THRU | ||
2 | M 10 x 1.5 | 201 | 202 | n/a | 203 | 204 | 205 | THRU | THRU | ||
3 | M 6 x 1 | 201 | 202 | n/a | 203 | 204 | 205 | 20 | 0.788 | 16 | 0.630 |
4 | M 10 x 1.5 | 211 | 212 | n/a | 213 | 214 | 420 | 39 | 1.536 | 33 | 1.3 |
5 | M 16 x 1.5 | n/a | n/a | n/a | n/a | n/a | n/a | 20 | 0.788 | 16 | 0.630 |
Service Hole Location | Thread Size | Drill | Counterbore Tool | Stop Collar | Tap | Driver | Insert | Drill Depth (Max) | Tap Depth (Min) | ||
|---|---|---|---|---|---|---|---|---|---|---|---|
mm | (in) | mm | (in) | ||||||||
1 | M 6 x 1 | 405 | n/a | 407 | 203 | 204 | 205 | THRU | THRU | ||
2 | M 6 x 1 | 201 | 202 | n/a | 203 | 204 | 205 | 22 | 0.866 | 18 | 0.709 |
3 | M 6 x 1 | 405 | n/a | 406 | 203 | 204 | 205 | 28 | 1.103 | 24 | 0.945 |
4 | M 6 x 1 | 201 | 202 | n/a | 203 | 204 | 205 | 23 | 0.806 | 19 | 0.748 |
Service Hole Location | Thread Size | Drill | Counterbore Tool | Stop Collar | Tap | Driver | Insert | Drill Depth (Max) | Tap Depth (Min) | ||
|---|---|---|---|---|---|---|---|---|---|---|---|
mm | (in) | mm | (in) | ||||||||
1 | M 6 x 1 | 201 | 202 | n/a | 203 | 204 | 205 | 28 | 1.103 | 22 | 0.866 |
2 | M 24x 1.5 | n/a | n/a | n/a | n/a | n/a | n/a | THRU | THRU | ||
3 | M 10 x 1.5 | 211 | 212 | n/a | 213 | 214 | 215 | 28 | 1.103 | 22 | 0.866 |
4 | M 8 x 1.25 | 206 | 207 | n/a | 208 | 209 | 210 | 28 | 1.103 | 23 | 0.906 |
Service Hole Location | Thread Size | Drill | Counterbore Tool | Stop Collar | Tap | Driver | Insert | Drill Depth (Max) | Tap Depth (Min) | ||
|---|---|---|---|---|---|---|---|---|---|---|---|
mm | (in) | mm | (in) | ||||||||
1 | M 14 x 1.5 | 409 | 410 | n/a | 411 | 412 | 413 | 36 | 1.418 | 28 | 1.103 |
2 | M 10 x 1.5 | 211 | 212 | n/a | 213 | 214 | 215 | 28 | 1.103 | 22 | 0.866 |
Service Hole Location | Thread Size | Drill | Counterbore Tool | Stop Collar | Tap | Driver | Insert | Drill Depth (Max) | Tap Depth (Min) | ||
|---|---|---|---|---|---|---|---|---|---|---|---|
mm | (in) | mm | (in) | ||||||||
1 | M 10 x 1.5 | 211 | 212 | n/a | 213 | 214 | 420 | 33 | 1.3 | 27 | 1.063 |
2 | M 10 x 1.5 | 211 | 212 | n/a | 213 | 214 | 215 | 28 | 1.103 | 22 | 0.866 |
3 | M 6 x 1 | 201 | 202 | n/a | 203 | 204 | 205 | 23 | 0.906 | 18 | 0.709 |
Service Hole Location | Thread Size | Drill | Counterbore Tool | Stop Collar | Tap | Driver | Insert | Drill Depth (Max) | Tap Depth (Min) | ||
|---|---|---|---|---|---|---|---|---|---|---|---|
mm | (in) | mm | (in) | ||||||||
1 | M 8 x 1.25 | 206 | 207 | n/a | 208 | 209 | 210 | 28 | 1.103 | 23 | 0.906 |
2 | M 10 x 1.5 | n/a | n/a | n/a | n/a | n/a | n/a | 28 | 1.103 | 23 | 0.906 |
3 | M 6 x 1 | 405 | n/a | 406 | 203 | 204 | 205 | 28 | 1.103 | 23 | 0.906 |
4 | M 6 x 1 | 201 | 202 | n/a | 203 | 204 | 205 | 22 | 0.866 | 18 | 0.709 |
Service Hole Location | Thread Size | Drill | Counterbore Tool | Stop Collar | Tap | Driver | Insert | Drill Depth (Max) | Tap Depth (Min) | ||
|---|---|---|---|---|---|---|---|---|---|---|---|
mm | (in) | mm | (in) | ||||||||
1 | M 8 x 1.25 | 206 | 207 | n/a | 208 | 209 | 415 | THRU | THRU | ||
Service Hole Location | Thread Size | Drill | Counterbore Tool | Stop Collar | Tap | Driver | Insert | Drill Depth (Max) | Tap Depth (Min) | ||
|---|---|---|---|---|---|---|---|---|---|---|---|
mm | (in) | mm | (in) | ||||||||
1 | M 10 x 1.5 | 211 | 212 | n/a | 213 | 214 | 215 | THRU | THRU | ||
Service Hole Location | Thread Size | Drill | Counterbore Tool | Stop Collar | Tap | Driver | Insert | Drill Depth (Max) | Tap Depth (Min) | ||
|---|---|---|---|---|---|---|---|---|---|---|---|
mm | (in) | mm | (in) | ||||||||
1 | M 6 x 1 | n/a | n/a | n/a | n/a | n/a | n/a | 30 | 1.182 | 26 | 1.024 |
2 | M 6 x 1 | 201 | 202 | n/a | 203 | 204 | 205 | THRU | THRU | ||
3 | M 6 x 1 | 201 | 202 | n/a | 203 | 204 | 205 | 17 | 0.669 | 14 | 0.551 |
Service Hole Location | Thread Size | Drill | Counterbore Tool | Stop Collar | Tap | Driver | Insert | Drill Depth (Max) | Tap Depth (Min) | ||
|---|---|---|---|---|---|---|---|---|---|---|---|
mm | (in) | mm | (in) | ||||||||
1 | M 6 x 1 | 201 | 202 | n/a | 203 | 204 | 205 | 22 | 0.866 | 18 | 0.709 |