GM Service Manual Online
For 1990-2009 cars only

Tools Required

J 44225 Balance Shaft Bearing Remover/Installer


    Object Number: 954080  Size: SH
  1. Position the cylinder block so the cylinder head deck face is down and identify the following:
  2. • The left balance shaft bearings are in the shorter length balance shaft journal (3) and (4).
    • The right balance shaft - outer diameter is grooved, bearings are in the longer length balance shaft journal (1) and (2).

    Object Number: 873986  Size: SH
  3. Identify the following:
  4. • Bearings (2) and (3) are the front bearings and bearings (1) and (4) are the rear bearings.
    • The rear bearings (1) and (4) have a slightly larger diameter than the front bearings (2) and (3). The rear bearings also have notches on them for identification purposes. The larger diameter allows for easier removal and installation of the front bearings.

    Object Number: 873989  Size: SH

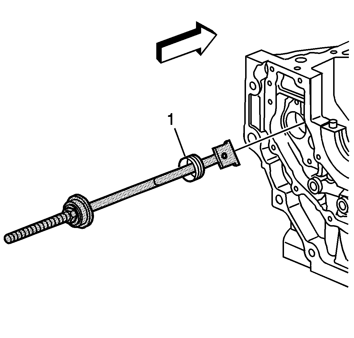
    Important: It may help to stand the block on end to aid in positioning the swivel end of J 44225 .

  5. Install J 44225 into the right balance shaft bearing bore.
  6. Position the swivel end inside lip of J 44225 against the frontside of the rear bearing.
  7. Turn the nut clockwise to remove the bearing.

  8. Object Number: 873991  Size: SH
  9. Remove and discard the right rear bearing (1).

  10. Object Number: 873989  Size: SH
  11. Install J 44225 into the right balance shaft bearing bore.
  12. Position the swivel end inside lip of J 44225 against the frontside of the front bearing.
  13. Turn the nut clockwise to remove the bearing.

  14. Object Number: 873991  Size: SH
  15. Remove and discard the right front bearing (1).

  16. Object Number: 873992  Size: SH
  17. Install J 44225 into the left balance shaft bearing bore.
  18. Position the swivel end inside lip of J 44225 against the frontside of the rear bearing.
  19. Turn the nut clockwise to remove the bearing.

  20. Object Number: 873996  Size: SH
  21. Remove and discard the left rear bearing (1).

  22. Object Number: 873992  Size: SH
  23. Install J 44225 into the left balance shaft bearing bore.
  24. Position the swivel end inside lip of J 44225 against the frontside of the front bearing.
  25. Turn the nut clockwise to remove the bearing.

  26. Object Number: 873996  Size: SH
  27. Remove and discard the left front bearing (1).