GM Service Manual Online
For 1990-2009 cars only

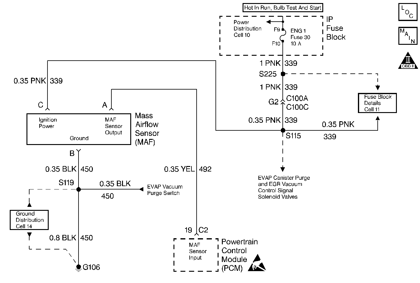
Object Number: 13728  Size: MF
Engine Controls Components
Engine Data Sensors and Controlled Devices
OBD II Symbol Description Notice
Handling ESD Sensitive Parts Notice

Circuit Description

The Mass Air Flow (MAF) sensor measures the amount of air that is ingested by the engine. Direct measurement of air entering the engine is more accurate than calculating airflow from MAP, IAT and RPM (speed/density). The MAF sensor has a battery feed, ground and signal circuit.

The MAF sensor used on this vehicle is a hot wire type and is used to measure air flow rate. The MAF output frequency is a function of the power required to keep the air flow sensing elements (hot wires) at a fixed temperature above ambient temperature. Air flowing through the sensor cools the sensing elements. The amount of cooling is proportional to the amount of air flow. As air flow increases, a greater amount of current is required to maintain the hot wires at a constant temperature. The MAF sensor converts the changes in current draw to a frequency signal read by the PCM. The PCM calculates air flow (grams per second) based on this signal.

The PCM monitors the MAF sensor frequency and can determine if the sensor is stuck low, stuck high, not providing the airflow value expected for a given operating condition, or that the signal appears to be stuck based on a lack of signal variation expected during normal operation. This diagnostic checks the range/performance of the MAF sensor. The MAF system performance or rationality diagnostic uses MAP, IAT and RPM to calculate an expected airflow rate that is then compared to the actual measured airflow from the MAF sensor. The actual MAF value and the calculated value are only compared during conditions where they are likely to match. If the actual MAF reading is not within a predetermined range of the calculated reading, this DTC will set.

Conditions for Setting the DTC

    • DTCs P0100, P0102, P0103, P0122, P0123, P0107, P0108 not set.
    • Engine running.
    • Engine speed greater than 50 RPM but less than 2800 RPM.
    • TP sensor angle less than 50% when engine vacuum (MAP) is greater than 40 kPa.
    • Ignition voltage greater than 10 volts.
    • Actual MAF reading does not match calculated MAF reading (speed density).
    • All above conditions stable for entire MAF test.
    • All conditions met for 5 seconds.

Action Taken When the DTC Sets

    • The PCM will illuminate the Malfunction Indicator Lamp (MIL) when the diagnostic runs and fails.
    • The PCM will utilize speed density (RPM, MAP, IAT) for fuel management.
    • The PCM will record operating conditions at the time the diagnostic fails. This information will be stored in the Freeze Frame and/or Failure Records.

Conditions for Clearing the MIL/DTC

    • The PCM will turn the MIL OFF after three consecutive drive trips that the diagnostic runs and does not fail.
    • A last test failed (Current DTC) will clear when the diagnostic runs and does not fail.
    • A History DTC will clear after forty consecutive warm-up cycles, if no failures are reported by this or any other emission related diagnostic.
    • PCM battery voltage is interrupted.
    • Using a Scan tool.

Diagnostic Aids

    • An intermittent may be caused by the following:
       - Mis-routed harness.
       - Rubbed through wire insulation.
       - Broken wire inside the insulation.

For intermittents, refer to Symptoms .

    • Any un-metered air may cause this DTC to set. Check for the following:
       - An engine vacuum leak.
       - The PCV system for vacuum leaks.
       - An incorrect PCV valve.
       - The engine oil dip stick not fully seated.

Test Description

Number(s) below refer to step numbers on the diagnostic table.

  1. The MAF system performance or rationality diagnostic uses the MAP sensor signal along with other inputs to calculate an expected airflow rate that is then compared to the actual measured airflow from the MAF sensor. The first few steps of this table verify that the MAP sensor is working properly. Any MAP sensor DTC should be corrected first. The value shown for the MAP sensor will vary with altitude. The value will decrease by approximately 3 kPa for every 1000 feet of altitude. 100 kPa is the approximate value displayed at or near sea level.

  2. Using Freeze Frame and/or Failure Records data may aid in locating an intermittent condition. If the DTC cannot be duplicated, the information included in the Freeze Frame and/or Failure Records data can be useful in determining how many miles since the DTC set. The Fail Counter and Pass Counter can also be used to determine how many ignition cycles the diagnostic reported a pass and/or a fail. Operate vehicle within the same freeze frame conditions (RPM, load, vehicle speed, temperature etc.) that were noted. This will isolate when the DTC failed. For any test that requires back probing the PCM or component harness connectors, must use the Connector Test Adapter Kit J 35616-A. Using this kit will prevent any damage to the harness connector terminals.

  3. Any un-metered air may cause this DTC to set. Check PCV system for vacuum leaks. Also inspect dip stick for being pulled out. Check oil fill cap for being loose.

  4. Verifies the signal circuit from the MAF sensor electrical connector to the PCM.

  5. Verifies whether a ground and B+ circuit is available.

  6. Checks for a signal circuit for an open.

  7. Checks for a signal circuit shorted to B+.

Step

Action

Value(s)

Yes

No

1

Was the Powertrain On-Board Diagnostic (OBD) System Check performed?

--

Go to Step 2

Go to Powertrain On Board Diagnostic (OBD) System Check

2

If any MAP DTCs are set, refer to the applicable DTC before proceeding.

Important: This value will vary with altitude. Refer to Test Description.

  1. Turn the ignition ON, engine OFF.
  2. Using a scan tool, select MAP from the Engine 1 Data List.

Is the value displayed greater than the value shown?

100 kPa

Go to Step 3

Go to Step 19

3

  1. Remove the MAP sensor from the intake manifold but leave the electrical harness connected.
  2. Connect a hand operated vacuum pump to the MAP sensor.
  3. Observe the MAP display while slowly applying vacuum up to 20 inches Hg as indicated on the pump gauge. Each 1 inch of vacuum applied should result in a 3 to 4 kPa drop in the MAP sensor value on the scan tool and the value should change smoothly with each increase in vacuum.

Did the MAP value change smoothly through the entire range of the test without any erratic readings?

--

Go to Step 4

Go to Step 19

4

With 20 inches Hg vacuum applied to the MAP sensor.

Is the MAP sensor reading the same or less than the specified value?

34 kPa

Go to Step 5

Go to Step 19

5

Disconnect the vacuum source from the MAP sensor.

Does the MAP sensor reading return to the original value?

--

Go to Step 6

Go to Step 19

6

  1. Turn the ignition ON, engine OFF, review Freeze Frame and/or Failure Records data for this DTC and note parameters.
  2. Turn the ignition OFF for 15 seconds.
  3. Start the engine and operate the vehicle within the conditions required for this diagnostic to run, and as close to the conditions recorded in Freeze Frame/Failure Records as possible. Special operating conditions that need to be met before the PCM will run this diagnostic, where applicable, are listed in Conditions for Setting the DTC.
  4. Using the scan tool, select DTC, Specific, then enter the DTC number which was set.

Does the scan tool indicate that this diagnostic failed this ignition?

--

Go to Step 7

Go to Diagnostic Aids

7

  1. Check for the following conditions:
  2. • Objects blocking the MAF sensor inlet screen
    • Intake manifold vacuum leaks
    • Vacuum leaks at throttle body
    • Vacuum leaks at EGR valve flange and pipes
    • Crankcase ventilation valve faulty, missing, or incorrectly installed
  3. If a problem is found, repair as necessary.

Was a problem found?

--

Go to Step 21

Go to Step 8

8

  1. Turn the ignition OFF.
  2. Disconnect the MAF sensor connector.
  3. Turn the ignition ON, engine OFF.
  4. Using DVM J 39200, measure voltage between the MAF sensor signal circuit and chassis ground.

Is the voltage near the specified value?

5.0V

Go to Step 9

Go to Step 10

9

Connect a test light (J 34142-B) between the MAF sensor ignition feed and the ground circuit at the MAF sensor harness connector.

Is the test light ON?

--

Go to Step 13

Go to Step 12

10

Is the voltage less than the specified value?

4.5V

Go to Step 14

Go to Step 11

11

  1. Turn the ignition OFF, disconnect the PCM.
  2. Turn the ignition ON, engine OFF.
  3. Measure the voltage between the MAF signal circuit and ground.

Does the voltage measure near the specified value?

0.0V

Go to Step 20

Go to Step 17

12

Connect a test light (J 34142-B) between MAF sensor ignition feed circuit and chassis ground.

Is the test light ON?

--

Go to Step 15

Go to Step 16

13

  1. Check for a poor connection at the MAF sensor.
  2. If a poor connection is found, replace faulty terminal(s). Refer to Repair Procedures in Electrical Diagnosis (8A Cell 5).

Was a poor connection found?

--

Go to Step 21

Go to Step 18

14

  1. Check the MAF signal circuit between the PCM and the MAF sensor for the following:
  2. • An open circuit
    • A short to ground
    • A short to the MAF ground circuit.
  3. If the MAF signal circuit is open or shorted, repair it as necessary.

Was the MAF signal circuit open or shorted?

--

Go to Step 21

Go to Step 20

15

Locate and repair the open in the ground circuit to the MAF sensor. Refer to Repair Procedures in Electrical Diagnosis (8A Cell 5).

Is the action complete?

--

Go to Step 21

--

16

Locate and repair the open in the ignition feed circuit to the MAF sensor. Refer to Repair Procedures in Electrical Diagnosis (8A Cell 5).

Is the action complete?

--

Go to Step 21

--

17

Locate and repair the short to voltage in the MAF signal circuit. Refer to Repair Procedures in Electrical Diagnosis (8A Cell 5).

Is the action complete?

--

Go to Step 21

--

18

Replace the MAF sensor. Refer to Mass Airflow Sensor Replacement

Is the action complete?

--

Go to Step 21

--

19

Replace the MAP sensor. Refer to Manifold Absolute Pressure Sensor Replacement

Is the action complete?

--

Go to Step 21

--

20

Important:: Replacement PCM must be programmed. Refer to Powertrain Control Module Replacement/Programming

Replace the PCM.

Is the action complete?

--

Go to Step 21

--

21

  1. Using the scan tool, select DTC, Clear Info.
  2. Start the engine and idle at normal operating temperature.
  3. Select DTC, Specific, then enter the DTC number which was set.
  4. Operate the vehicle within the conditions for setting this DTC as specified in the supporting text, if applicable.

Does the scan tool indicate that this test ran and passed?

--

Go to Step 22

Go to Step 2

22

Using the scan tool, select Capture Info, Review Info.

Are any DTCs displayed that have not been diagnosed?

--

Go to the applicable DTC table

System OK