GM Service Manual Online
For 1990-2009 cars only

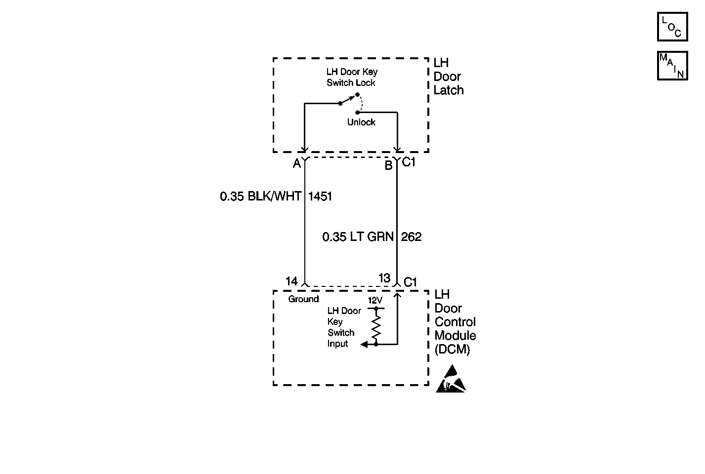
Object Number: 97830  Size: MF

DTC B2252 -- Key Cylinder Switch -- Fault -- DCM-Left

Step

Action

Value(s)

Yes

No

1

Is there any mechanical binding or obstruction?

Go to Step 2

2

  1. Disconnect the left Door Control Module (DCM)
  2. While turning the key to the UNLOCK position, measure the resistance between the DCM connector C1 terminal 13 and terminal 14.

Is the resistance within specified range?

<5ohms

Go to Step 3

Go to Step 4

3

Replace the left Door Control Module (DCM).

Is the repair complete?

Recheck the System Operation

4

  1. Disconnect the left door latch.
  2. While turning the key to the UNLOCK position, measure the resistance between the left door latch connector C1 terminal A and terminal B.

Is the resistance within specified range?

<5ohms

Go to Step 5

Go to Step 6

5

Repair the open in CKT1451 or CKT 262 between the left door latch and the left Door Control Module (DCM).

Is the repair complete?

Recheck the System Operation

6

Replace the left door latch.

Is the repair complete?

Recheck the System Operation