GM Service Manual Online
For 1990-2009 cars only

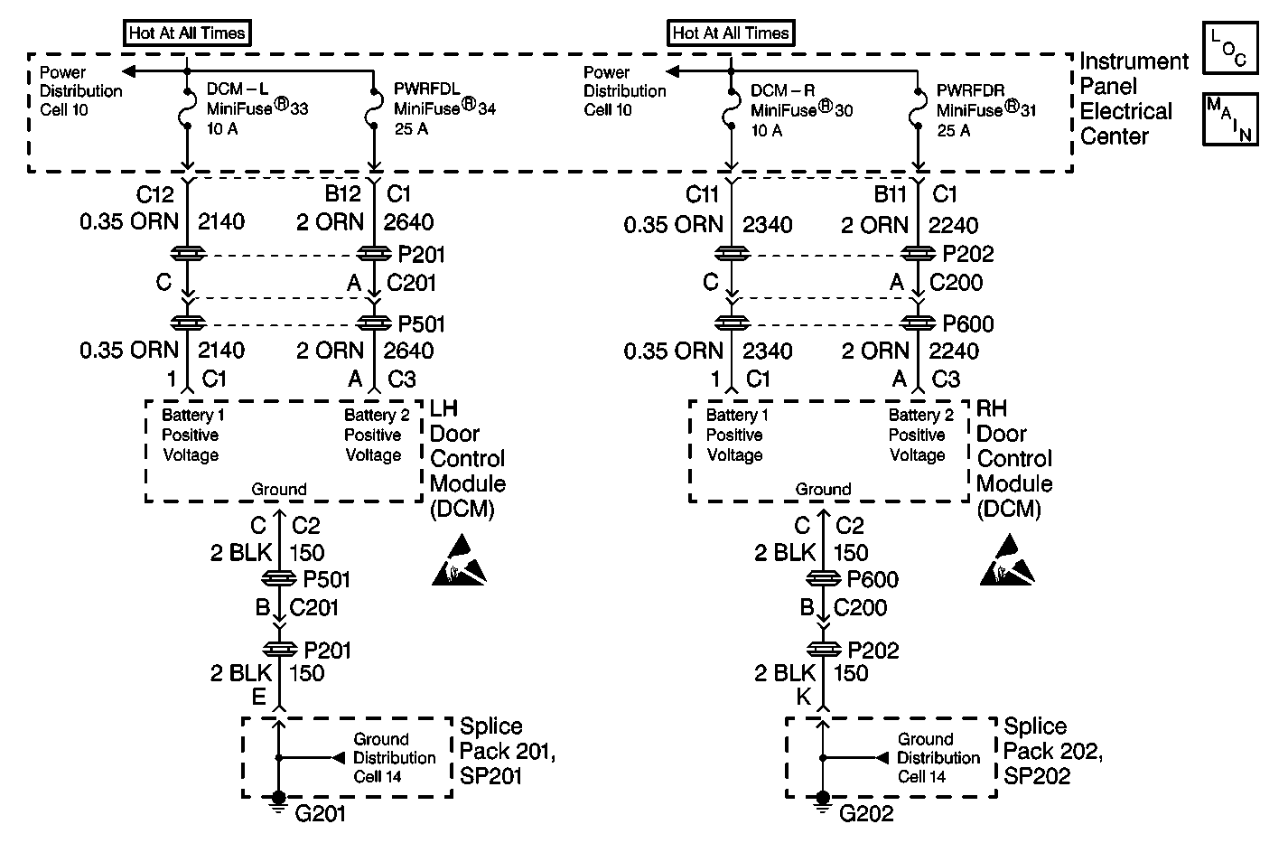
Object Number: 340493  Size: MF

Circuit Description

The Door Control Module (DCM) Diagnostic Check is an organized approach to identify problems associated with the DCM. This check must be the starting point for any DCM complaint, and will direct you to the next logical step in diagnosing the complaint. The DCM is a very reliable component and is not likely the cause of the malfunction. Most system complaints are linked to faulty wiring and connectors, and occasionally to components. Understanding the computer system and using the tables correctly will reduce diagnostic time and prevent unnecessary parts replacement.

Diagnostic Aids

    • The following conditions may result in an intermittent operation of the DCM with no DTC stored:
       - Any condition which results in the interruption of power to the DCM
       - Out of range battery or ignition voltage

Specification
Normal DCM operating voltage: 9.0-16.0 V

       - A loose or damaged ground(s)
       - An open or shorted serial data line
    • An intermittent failure in the electronic system may be very difficult to detect and to accurately diagnose. The DCM test for different malfunctions under different vehicle conditions. For this reason, a thorough test drive is often needed in order to repeat a malfunction. If the system malfunction is not repeated during the test drive, a good description of the complaint may be very useful in locating an intermittent malfunction. Faulty electrical connections or wiring causes most intermitting problems. When an intermitting condition is suspected, check the suspected circuits for the following conditions:
       - Poor mating of connector halves or backed out terminals
       - Improperly formed or damaged terminals
       - Wire chafing
       - Poor wire to terminal connections
       - Dirty or corroded terminals
       - Damage to connector bodies
    • The DCM has the ability to store DTCs as history codes only. Therefore, when a DTC is stored , the DCMs will display all DTCs as history even thought the malfunction is current. Always diagnose history DTCs the same way as current DTCs by performing the applicable DTC table.
    • If the problem is intermittent. Perform the tests shown while moving related wiring and connectors. This can often cause the malfunction to occur. Perform a thorough inspection of all related wiring and connectors pertaining to the history DTC stored. Refer to Intermittents and Poor Connections .
    • Exit all scan tool tests before cycling the ignition OFF to ON unless the scan tool instructions direct otherwise. Follow the operating instructions in the scan tool operator's manual. Failure to follow these instruction may set DTCs, cause vehicle system malfunctions, set false DTCs, or cause scan tool malfunctions.

Test Description

The numbers below refer to the step numbers on the diagnostic table:

  1. This test determines if communications can be established with the LDCM.

  2. This test determines if communications can be established with the RDCM.

  3. This test checks for stored LDCM history DTCs.

  4. This test checks for stored RDCM history DTCs.

  5. This test determines whether communications can be established with other systems connected to the same serial data line.

  6. This test determines if the power door locks are functioning properly.

  7. This test determines if the memory functions are operating properly.

  8. This test determines if the power/heated mirrors are functioning properly.

  9. This test determines if the power windows are functioning properly.

  10. This test checks the DCM power circuit. If the test light does not turn ON, there is an open in a DCM power circuit.

  11. This test checks the DCM ground circuit. If the test light does not turn ON, there is an open in a DCM ground circuit.

  12. This test determines if an open is present in the serial data line between the LDCM or RDCM and the DLC terminal 2.

DCM Diagnostic System Check

Step

Action

Value(s)

Yes

No

1

  1. Turn OFF the ignition switch.
  2. Install a scan tool.
  3. Turn ON the ignition switch.
  4. Attempt to establish communications with the LDCM.

Does the scan tool communicate with the LDCM?

--

Go to Step 2

Go to Step 5

2

Attempt to establish communications with the RDCM.

Does the scan tool communicate with the RDCM?

--

Go to Step 3

Go to Step 5

3

Select display LDCM DTC function with the scan tool.

Are any history DTCs stored?

--

Go to Applicable DTC Table

Go to Step 4

4

Select display RDCM DTC function with the scan tool.

Are any history DTCs stored?

 

Go to Applicable DTC Table

Go to Step 6

5

Attempt to establish communications with the other systems connected to the same serial data line (PCM, RFA, BCM, etc.).

Does the scan tool communicate with the other systems?

--

Go to Step 10

Go to Data Link Communications System Check

6

Check for proper power door lock operation.

Do both of the power door locks operate correctly?

--

Go to Step 7

Go to Power Door Locks System Check

7

Check for proper memory function operation (if not equipped proceed to next step).

Do the memory functions operate correctly?

--

Go to Step 8

Go to Memory System Check

8

Check for proper power/heated mirror operation.

Do both of the power/heated mirrors operate correctly?

--

Go to Step 9

Go to Outside Mirrors System Check

9

Check for proper power window operation.

Do both of the power windows operate correctly?

--

System OK

Go to Power Windows System Check

10

  1. Turn OFF the ignition switch.
  2. Disconnect the applicable DCM connector.
  3. Turn ON the ignition switch.
  4. With a test light connected to ground, probe all DCMs power circuits. Refer to Door Control Module Schematics

Does the test light turn ON in all circuits?

--

Go to Step 11

Go to Step 14

11

With a test light connected to B+, probe the applicable DCM ground circuits. Refer to Door Control Module Schematics

Does the test light turn ON in all circuits?

--

Go to Step 12

Go to Step 16

12

Check for continuity between the applicable DCM connector terminal (harness side) 3 and DLC terminal 2.

Is there continuity?

 

Go to Step 13

Go to Step 15

13

Replace the DCM that did not communicate properly. Refer to Door Control Module Replacement

Is the replacement complete?

--

Go to Step 17

--

14

Repair the open in the applicable ignition feed or DCM fuse. If the fuse is open, locate and repair the short to ground in the circuit connected to the open fuse.

Is the repair complete?

--

Go to Step 17

--

15

Locate and repair the open in applicable DCM serial data line (CKT 1047 RDCM or CKT 1046 LDCM).

Is the repair complete?

 

Go to Step 17

--

16

Locate and repair the open in the applicable DCM ground circuit.

Is the repair complete?

--

Go to Step 17

--

17

  1. Turn OFF the ignition switch.
  2. Connect or install any connectors or components that were disconnected or removed.
  3. Clear all DTCs. Refer to Diagnostic Trouble Code (DTC) Clearing

Is the repair complete?

--

System OK

--