GM Service Manual Online
For 1990-2009 cars only

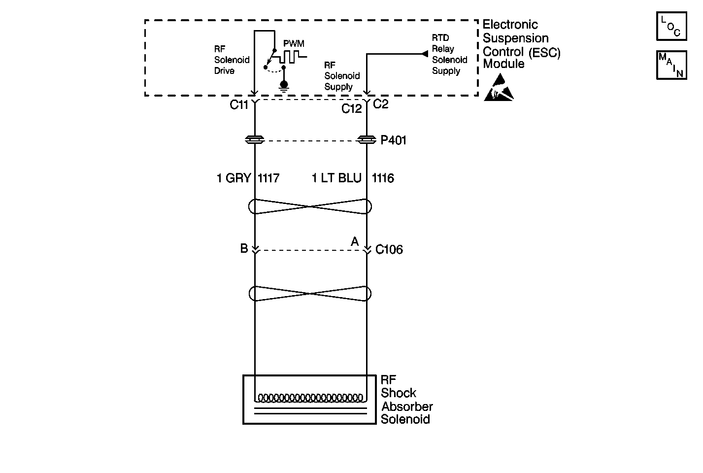
Object Number: 467116  Size: MF
Suspension Controls Components
Suspension Controls Schematics
Handling Electrostatic Discharge Sensitive Parts Notice

Circuit Description

The ESC module uses the Pulse-Width Modulation (PWM) method in order to control each shock absorber solenoid. Switching the voltage ON and OFF at each shock absorber solenoid, or pulse width modulating, limits the amount of current supplied to that particular solenoid. The ESC module periodically commands each shock absorber to an set PWM duty cycle in order to override the normal PWM command. During this set PWM duty cycle, the ESC module is able to perform a diagnostic test on each shock absorber solenoid, and can determine if a malfunction is present. The ESC module is only able to detect certain malfunctions during a given state (ON or OFF). In order to test for the conditions that set a DTC C1715, the ESC module must first command the RF solenoid ON. If a high voltage level is detected in the RF solenoid drive circuit during the ON state, the test is again repeated. If the ESC module determines that the voltage levels detected in both tests are higher than expected, a malfunction is present and a DTC will set.

Conditions for Setting the DTC

The ESC module detects a high voltage level (short to voltage) on the RF solenoid drive circuit during two diagnostic tests performed.

Action Taken When the DTC Sets

    • Stores a DTC C1715 in the ESC memory.
    • Commands 0% PWM duty cycle in order to disable the RF solenoid.
    • Sends a message to the IPC to display the SERVICE RIDE CONTROL message.

Conditions for Clearing the DTC

    • The ESC module no longer detects a high voltage level (short to voltage) on the RF solenoid drive circuit during a diagnostic test.
    • A history DTC will clear after 100 consecutive ignition cycles if the condition for the malfunction is no longer present.
    • Use the IPC clearing DTC feature.
    • Using a scan tool.

Diagnostic Aids

    • The following conditions may cause an intermittent malfunction to occur:
       - There is an intermittent short to voltage on the RF solenoid drive circuit.
       - The RF solenoid drive and supply circuits are intermittently shorted together.
       - There is a RF shock absorber solenoid low resistance, internal short, or short to voltage condition.
    • If the conditions for a DTC C1715 are current, the ESC module will disable the RF solenoid (commanding 0% duty cycle) and the vehicle will experience a soft ride condition on the RF side of the vehicle.
    • If the DTC is a history DTC, the problem may be intermittent. Using a scan tool, cycle the RF shock absorber solenoid while moving the wiring and the connectors. This can often cause the malfunction to occur.

Test Description

The numbers below refer to the step numbers on the diagnostic table:

  1. This step measures the resistance value of the RF shock absorber solenoid.

  2. This step checks for a short to voltage in the RF shock absorber solenoid.

  3. This step checks for a short to voltage on CKT 1117.

  4. This step checks for a short between CKT 1117 and CKT 1116.

  5. This step checks for an intermittent malfunction and requests a thorough inspection of the related RF shock absorber circuit wiring and connectors.

Step

Action

Value(s)

Yes

No

1

Was the RTD Diagnostic System Check performed?

--

Go to Step 2

Go to RTD Diagnostic System Check

2

  1. Turn OFF the ignition switch.
  2. Disconnect the RF shock absorber solenoid connector C106.
  3. At the solenoid side of connector C106, measure the resistance between terminals A and B.

Is the resistance within the specified value?

9.5-15.5 ohms

Go to Step 3

Go to Step 9

3

  1. Turn ON the ignition switch.
  2. At the solenoid side of connector C106, measure the voltage at terminal A.

Is the voltage indicated over the specified value?

1.0 V

Go to Step 9

Go to Step 4

4

  1. Turn OFF the ignition switch.
  2. Disconnect the ESC module connector C2.
  3. Turn ON the ignition switch.
  4. At the harness side of ESC module connector C2, measure the voltage at terminal C11.

Is the voltage indicated over the specified value?

1.0 V

Go to Step 7

Go to Step 5

5

  1. Turn OFF the ignition switch.
  2. At the harness side of ESC module connector C2, measure for continuity between terminals C11 and C12.

Is there continuity?

--

Go to Step 8

Go to Step 6

6

Check the RF shock absorber solenoid circuit for an intermittent malfunction. Refer to Diagnostic Aids.

Was an intermittent malfunction found and repaired?

--

Go to Step 12

Go to Step 10

7

Locate and repair the short to voltage in CKT 1117.

Is the circuit repair complete?

--

Go to Step 12

--

8

Locate and repair the short between CKT 1117 and CKT 1116.

Is the circuit repair complete?

--

Go to Step 12

--

9

Replace the RF shock absorber. Refer to Shock Absorber Replacement in Front Suspension.

Is the repair complete?

--

Go to Step 12

--

10

  1. Turn OFF the ignition switch.
  2. Connect or install any connectors or components that were disconnected or removed.
  3. Turn ON the ignition switch.
  4. Using the scan tool, select clear DTCs.
  5. Cycle the RF shock absorber solenoid for 60 seconds using the scan tool.

Is DTC C1715 current?

--

Go to Step 11

System OK

11

Replace the ESC module. Refer to Electronic Suspension Control Module Replacement .

Is the repair complete?

--

Go to Step 12

--

12

  1. Turn OFF the ignition switch.
  2. Connect or install any connectors or components that were disconnected or removed.
  3. Turn ON the ignition switch.
  4. Using the scan tool, select clear DTCs.

Is the repair complete?

--

Go to RTD Diagnostic System Check

--