GM Service Manual Online
For 1990-2009 cars only
Figure 1:

Cell 134: Power, Ground and DLC


Object Number: 431409  Size: FS
Body Rear End Components
Cell 134: Rear Compartment Lid Release (Hardtop/Convertible)
Cell 10: I/P Fuses 32, 26, Relay 39
Handling ESD Sensitive Parts Notice
Cell 10: I/P Fuses 51, 27, 17, Relay 41
Class 2 Serial Data Cell 50
Class 2 Serial Data Cell 50
Handling ESD Sensitive Parts Notice
Cell 14: SP102, SP208, G104
Cell 10: I/P Fuses 32, 26, Relay 39
Figure 2:

Cell 134: Rear Compartment Lid Release (Hardtop/Convertable)


Object Number: 431411  Size: FS
Body Rear End Components
Cell 134: Rear Compartment Lid Release (Coupe)
Cell 134: Power, Ground and DLC
Cell 14: SP302, G302
Handling ESD Sensitive Parts Notice
Cell 10: I/P Fuses 32, 26, Relay 39
Figure 3:

Cell 134: Rear Compartment Lid Release (Coupe)


Object Number: 431413  Size: FS
Body Rear End Components
Cell 134: Folding Top Control
Cell 134: Rear Compartment Lid Release (Hardtop/Convertible)
Cell 14: SP302, G302
Handling ESD Sensitive Parts Notice
Cell 10: I/P Fuses 32, 26, Relay 39
Figure 4:

Cell 134: Folding Top Control


Object Number: 431416  Size: FS
Body Rear End Components
Cell 134: Fuel Tank Filler Door Release
Cell 134: Rear Compartment Lid Release (Coupe)
Handling ESD Sensitive Parts Notice
Cell 14: SP302, G302
Cell 51: Hood Ajar Indicator Switch
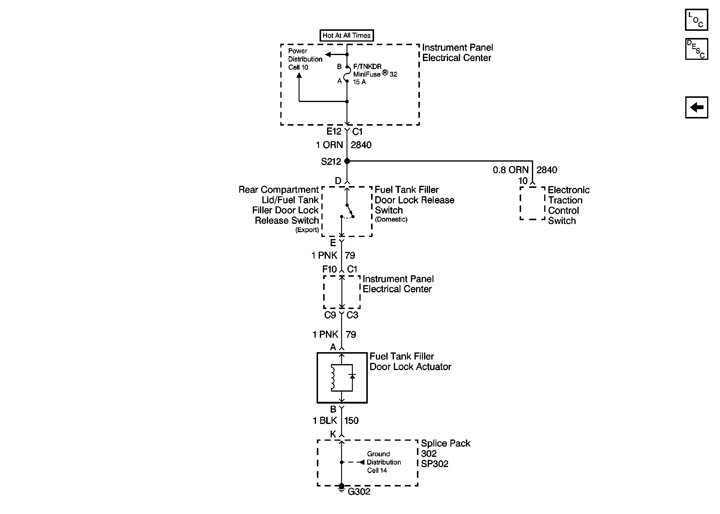
Figure 5:

Cell 134: Fuel Tank Filler Door Release


Object Number: 431417  Size: FS
Body Rear End Components
Cell 134: Folding Top Control
Cell 14: SP302, G302
Cell 10: I/P Fuses 32, 26, Relay 39