GM Service Manual Online
For 1990-2009 cars only

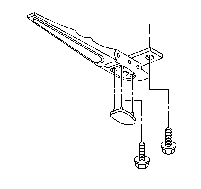
Removal Procedure


    Object Number: 63739  Size: SH
  1. Mark the location of the latch.
  2. Rotate the handle and remove the exposed bolt.
  3. Remove the trim cover from the latch.
  4. Rotate the handle aligning the hole in the handle with the bolt.
  5. Remove the bolt and the latch handle assembly.

Installation Procedure


    Object Number: 63739  Size: SH

    Important: When installing a new latch leave the spacing collar on the latch handle to achieve a minimum of 2 mm (0.08 in) clearance to the striker.

  1. Remove the latch handle trim cover if installed.
  2. Apply removable thread locker to the latch mounting bolts.
  3. Align the latch to the marks on the roof made before removing the latch.
  4. Loosely install the latch handle to the roof.
  5. Rotate the handle to access the inboard mounting bolt.
  6. • When installing a latch handle with a spacing collar installed apply forward pressure to the handle while tightening the mounting bolts.
    • If the spacing collar is not available, position the latch handle with a minimum of 2 mm (0.08 in) clearance to the latch.

    Notice: Use the correct fastener in the correct location. Replacement fasteners must be the correct part number for that application. Fasteners requiring replacement or fasteners requiring the use of thread locking compound or sealant are identified in the service procedure. Do not use paints, lubricants, or corrosion inhibitors on fasteners or fastener joint surfaces unless specified. These coatings affect fastener torque and joint clamping force and may damage the fastener. Use the correct tightening sequence and specifications when installing fasteners in order to avoid damage to parts and systems.

  7. Install the inboard bolt.
  8. Tighten
    Tighten the latch handle inboard bolt to 18 N·m (13 lb ft).

  9. Rotate the handle.
  10. Install the outboard bolt.
  11. Tighten
    Tighten the latch handle outboard bolt to 18 N·m (13 lb ft).

  12. Remove the spacing collar.
  13. Completely engage the latch handle.
  14. Position the trim cover to the latch handle and press the trim cover firmly in place.