GM Service Manual Online
For 1990-2009 cars only
Makes
🢒
Chevrolet
🢒
2000
🢒
Corvette
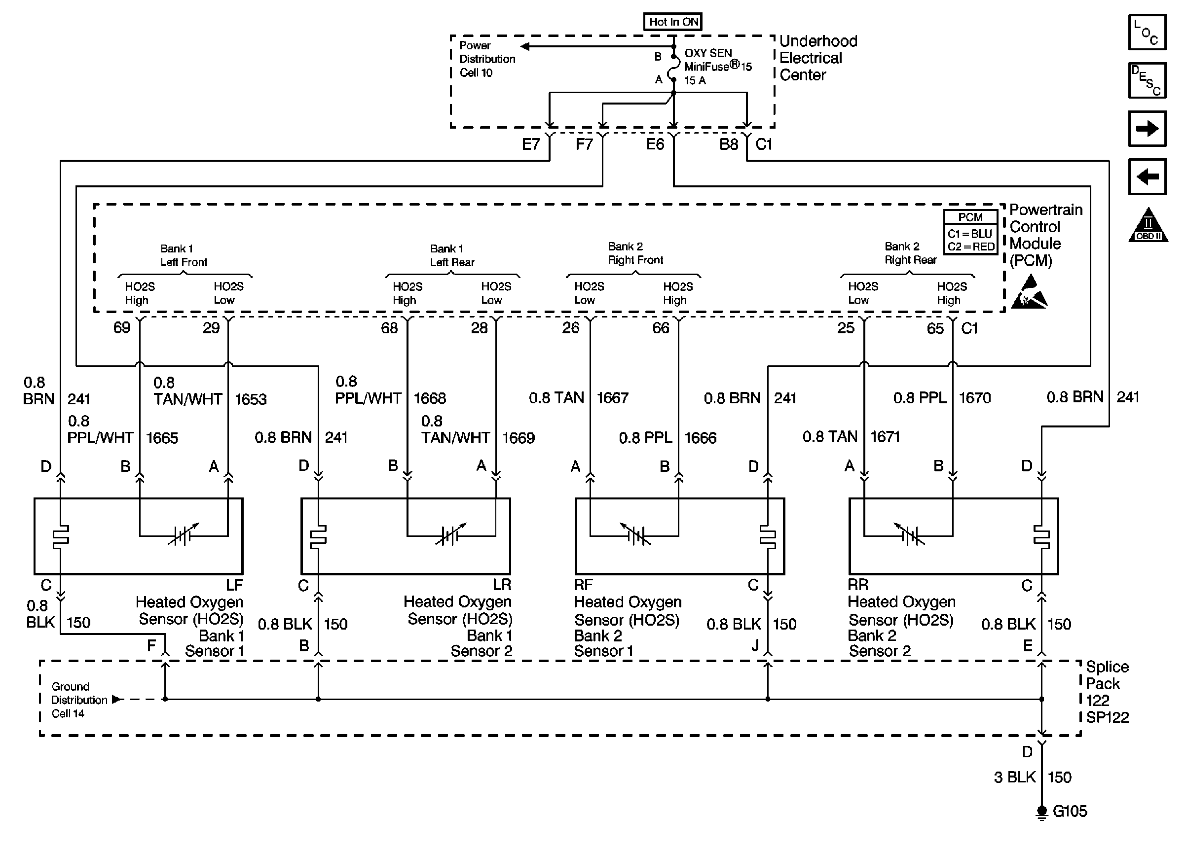
🢒 Cell 20: Heated Oxygen Sensors (HO2S)
Cell 20: Heated Oxygen Sensors (HO2S)
Cell 20: Heated Oxygen Sensors (HO2S)
Engine Controls Components
Information Sensors/Switches Description
Cell 20: EVAP and AIR
Cell 20: Engine Data Sensors
OBD II Symbol Description Notice
Cell 10: U/H Fuses 1, 15, 5, Relay 37
Powertrain Control Module Connector End Views
Handling ESD Sensitive Parts Notice
Cell 14: SP122, G106, G105