GM Service Manual Online
For 1990-2009 cars only

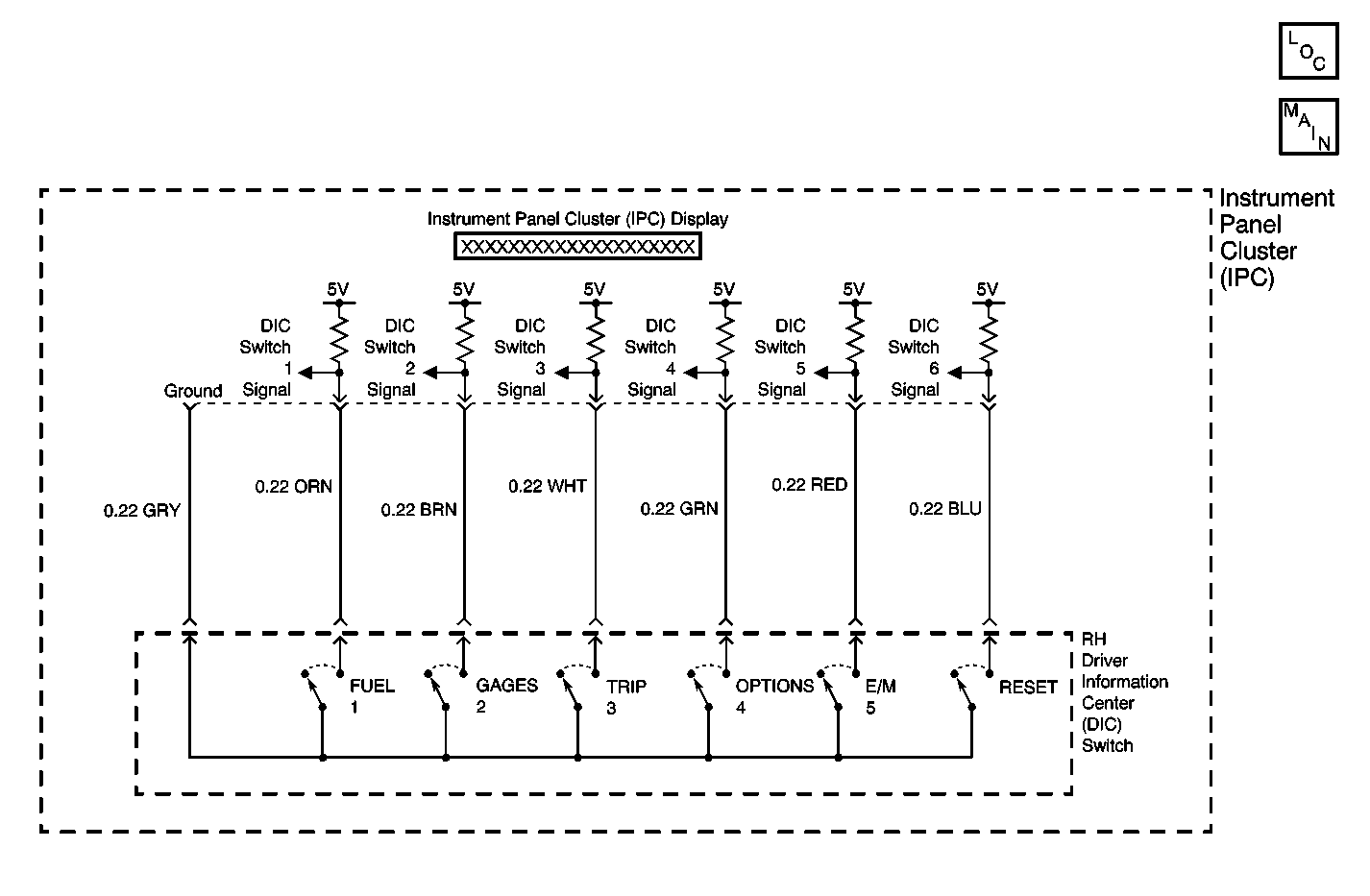
Object Number: 541854  Size: MF
Power and Grounding Components
Instrument Cluster: Analog Schematics

Circuit Description

The Driver Information Center (DIC) contains six switch circuits that allow Instrument Panel Cluster (IPC) functions to be perform. The IPC supplies a 5 volt reference voltage to each switch circuit. When a DIC switch is pressed, the circuit is pulled low by grounding that circuit through the DIC switch altering the voltage level. The IPC detects which DIC switch is pressed by monitoring the voltage level on each DIC switch circuit. The IPC also monitors the DIC switch circuits and determines how long the voltage level has changed. If the voltage level detected is low for longer than expected, then a malfunction is present and a DTC will set.

Conditions for Setting the DTC

    • The IPC detects a low voltage level (short to ground) in the DIC switch 3 (TRIP 3) signal circuit.
    • Condition must be present for 60 seconds.

Action Taken When the DTC Sets

    • Stores a DTC B1522 in the IPC memory.
    • No driver warning message will be displayed for this DTC.

Conditions for Clearing the DTC

    • The IPC does not detects a low voltage level (short to ground) in the DIC switch 3 (TRIP 3) signal circuit.
    • A history DTC will clear after 50 consecutive ignition cycles if the condition for the malfunction is no longer present.
    • Use the IPC clear DTC feature.
    • Use a scan tool.

Diagnostic Aids

    • The following conditions may cause an intermittent malfunction to occur:
       - An intermittent short to ground in the DIC switch signal circuit.
       - An internal short to ground in the DIC switch 3 (TRIP 3).
       - The DIC switch 3 (TRIP 3) is pressed for longer than 60 seconds.
    • If a DIC switch 3 (TRIP 3) is pressed for longer than 60 seconds, a DTC B1522 may set with no malfunctions present. Always verify that this condition did not occur before diagnosing a DTC B1522.
    • Check for proper DIC switch 3 (TRIP 3) operation by using a scan tool to display DIC switch 3 status. The scan tool will display DIC switch 3 status as ACTIVE when the button is pressed, and INACTIVE when released.
    • If the DTC is a history DTC, the problem may be intermittent. Perform the tests shown while moving related wiring and connectors. This can often cause the malfunction to occur.

Test Description

The number(s) below refer to the step number(s) on the diagnostic table.

  1. Tests for the normal state of the RH DIC switch 3 (TRIP 3) using a scan tool. The scan tool will display the normal state as INACTIVE, and ACTIVE when the switch is activated.

  2. Tests if the IPC is able to detect a change in RH DIC switch 3 (TRIP 3). The scan tool will display the normal state as INACTIVE, and ACTIVE when the switch is activated.

  3. Tests for a stuck or shorted RH DIC switch 3 (TRIP 3). If the RH DIC switch 3 (TRIP 3) is stuck or shorted, the state will change from ACTIVE to INACTIVE when the RH DIC switch is disconnected.

  4. Tests for a short to ground in the RH DIC switch 3 (TRIP 3) signal circuit.

DTC B1522 -- DIC Switch 3 Signal Short to Ground

Step

Action

Value(s)

Yes

No

1

Did you perform the IPC Diagnostic System Check?

--

Go to Step 2

Go to Diagnostic System Check - Instrument Cluster

2

  1. Install a scan tool.
  2. Turn ON the ignition, with the engine OFF.
  3. With a scan tool, observe the DIC Switch 3 parameter in the IPC data list.

Does the scan tool display INACTIVE?

--

Go to Step 3

Go to Step 4

3

  1. Activate the RH DIC switch 3 (TRIP 3).
  2. With the scan tool, observe the DIC Switch 3 parameter in the IPC data list.

Does the DIC Switch 3 parameter change state?

--

Go to Diagnostic Aids

Go to Step 4

4

  1. Turn OFF the ignition.
  2. Disconnect the RH DIC switch.
  3. Turn ON the ignition, with the engine OFF.
  4. With a scan tool, observe the DIC Switch 3 parameter in the IPC data list.

Does the scan tool display INACTIVE?

--

Go to Step 7

Go to Step 5

5

Test the signal circuit of the RH DIC switch 3 (TRIP 3) for a short to ground. Refer to Circuit Testing and Wiring Repairs

Did you find and correct the condition?

--

Go to Step 10

Go to Step 6

6

Inspect for poor connections at the harness connector of the IPC. Refer to Testing for Intermittent Conditions and Poor Connections and Connector Repairs

Did you find and correct the condition?

--

Go to Step 10

Go to Step 8

7

Inspect for poor connections at the harness connector of the RH DIC switch. Refer to Testing for Intermittent Conditions and Poor Connections and Connector Repairs

Did you find and correct the condition?

--

Go to Step 10

Go to Step 9

8

Replace the IPC. Refer to Instrument Cluster Replacement .

Did you complete the replacement?

--

Go to Step 10

--

9

Replace the RH DIC switch. Refer to Driver Information Display Switch Replacement .

Did you complete the replacement?

--

Go to Step 10

--

10

  1. Use the scan tool in order to clear the DTCs.
  2. Operate the vehicle within the Conditions for Running the DTC as specified in the supporting text.

Does the DTC reset?

--

Go to Step 2

System OK