GM Service Manual Online
For 1990-2009 cars only

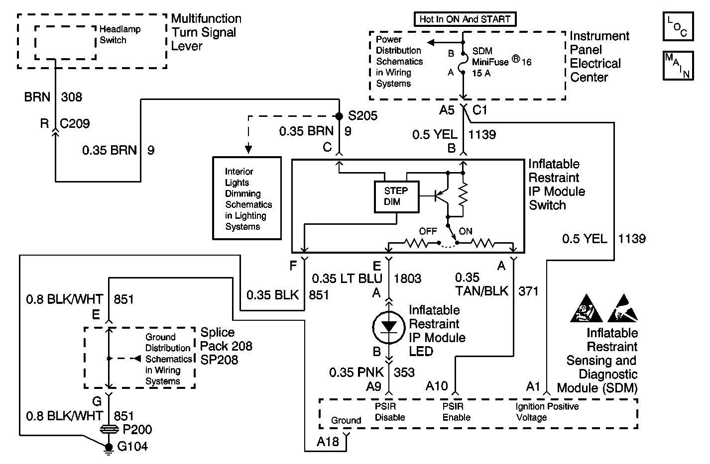
Object Number: 626568  Size: MF
SIR Components
Passenger Side Inflatable Restraint (PSIR) IP Module Switch
I/P Fuses 15, 16, 13, 20, 19
ALC PRK LP Relay
SP102, SP208, G104
SIR Handling Caution
Handling ESD Sensitive Parts Notice

Circuit Description

When you first turn the ignition switch to the RUN position, the inflatable restraint sensing and diagnostic module (SDM) performs tests to diagnose critical malfunctions within itself. The SDM monitors the voltage levels at the PSIR enable and PSIR disable terminals of the SDM to determine the position of the inflatable restraint IP module switch. The SDM then performs the following continuous diagnostic tests on the deployment loops:

    • Deployment loop voltage out of range test
    • Deployment loop resistance measurement test

If the voltage out of range test detects a short to voltage condition, the resistance measurement test for that deployment loop will not be performed.

Conditions for Running the DTC

    • Ignition 1 voltage is within the normal operating voltage range.
    • PSIR enable circuit is not shorted to voltage.
    • PSIR disable circuit is not shorted to voltage.

Conditions for Setting the DTC

The voltage at PSIR enable is high with the PASSENGER AIR BAG LED ON and the voltage at PSIR disable is low.

Action Taken When the DTC Sets

    • The inflatable restraint IP module switch is defaulted to a calibrated state.
    • The SDM commands ON the AIR BAG warning lamp via Class 2 serial data.

Conditions for Clearing the DTC

    • You issue a scan tool CLEAR CODES command.
    • A history DTC will clear once 255 malfunction free ignition cycles have occurred.

When the SDM detects that no DTCs are present, the SDM commands the AIR BAG warning lamp OFF.

Diagnostic Aids

The following can cause an intermittent condition:

    • A short between the PSIR enable and PSIR disable circuits.
    • Refer to Testing for Intermittent Conditions and Poor Connections in Wiring Systems.

Test Description

The number(s) below refer to the step number(s) on the diagnostic table.

  1. Observes the state of the inflatable restraint IP module Switch, normal state being ON.

  2. Tests for a malfunctioning inflatable restraint IP module switch.

  3. Tests for a malfunctioning inflatable restraint IP module LED.

  4. Tests for a malfunctioning inflatable restraint sensing and diagnostic module (SDM).

  5. Tests for a short in the signal circuits between the inflatable restraint IP module switch and the inflatable restraint sensing and diagnostic module (SDM).

Step

Action

Value(s)

Yes

No

1

Did you perform the SIR Diagnostic System Check?

--

Go to Step 2

Go to Diagnostic System Check - SIR

2

  1. Install a scan tool.
  2. Turn ON the ignition, with the engine OFF.
  3. Use the scan tool to observe the inflatable restraint IP module active switch data parameter in the inflatable restraint sensing and diagnostic module (SDM) data list.

Does the scan tool indicate that the inflatable restraint IP module switch is DISABLED?

--

Go to Step 3

Go to Step 6

3

  1. Set the inflatable restraint IP module switch to the ON position and then to the OFF position.
  2. Use the scan tool to observe the inflatable restraint IP module active switch data parameter.

Does the inflatable restraint IP module active switch data parameter change state?

--

Go to Step 4

Go to Step 6

4

Does the inflatable restraint IP module LED illuminate when the IP module switch is set to the OFF position?

--

Go to Step 6

Go to Step 5

5

  1. Turn OFF the ignition.
  2. Inspect for poor connections at the harness connector of the inflatable restraint IP module LED. Refer to Testing for Intermittent Conditions and Poor Connections in Wiring Systems.

Did you find and correct the condition?

--

Go to Step 12

Go to Step 6

6

  1. Turn OFF the ignition.
  2. Disconnect the inflatable restraint IP module switch. Refer to Inflatable Restraint Instrument Panel Module Disable Switch Replacement .
  3. Turn ON the ignition, with the engine OFF.
  4. Use the scan tool to observe the inflatable restraint IP module active switch data parameter.

Does the scan tool indicate that the inflatable restraint IP module switch is DISABLED?

--

Go to Step 7

Go to Step 8

7

Inspect for poor connections at the harness connector of the inflatable restraint IP module switch. Refer to Testing for Intermittent Conditions and Poor Connections and Connector Repairs in Wiring Systems.

Did you find and correct the condition?

--

Go to Step 12

Go to Step 10

8

Test the PSIR enable and PSIR disable circuits of the inflatable restraint IP module switch between the IP module switch and the SDM for a short. Refer to Circuit Testing and Wiring Repairs in Wiring Systems.

Did you find and correct the condition?

--

Go to Step 12

Go to Step 9

9

Inspect for poor connections at the harness connector of the inflatable restraint sensing and diagnostic module (SDM). Refer to Testing for Intermittent Conditions and Poor Connections and Connector Repairs in Wiring Systems.

Did you find and correct the condition?

--

Go to Step 12

Go to Step 11

10

Replace the inflatable restraint IP module switch. Refer to Inflatable Restraint Instrument Panel Module Disable Switch Replacement .

Did you complete the repair?

--

Go to Step 12

--

11

Replace the inflatable restraint sensing and diagnostic module (SDM). Refer to Inflatable Restraint Sensing and Diagnostic Module Replacement .

Did you complete the repair?

--

Go to Step 12

--

12

  1. Reconnect all SIR system components.
  2. Verify that all components and connectors are properly mounted.
  3. Turn ON the ignition, with the engine OFF.
  4. Use the scan tool in order to clear the DTCs.

Did you complete the action?

--

Go to Diagnostic System Check - SIR

--