GM Service Manual Online
For 1990-2009 cars only
Connector 1: Keyless Entry Antenna - Back Up
Connector 2: Keyless Entry Antenna - Left
Connector 3: Keyless Entry Antenna - Rear Compartment
Connector 4: Keyless Entry Antenna - Right
Connector 5: Remote Control Door Lock Receiver (RCDLR) C1
Connector 6: Remote Control Door Lock Receiver (RCDLR) C2

Keyless Entry Antenna - Back Up


Object Number: 684852  Size: CH

Connector Part Information

  • OEM: 12162017
  • Service: 12101937
  • Description: 2-Way F Metri-Pack 150 Series (GY)

Terminal Part Information

  • Terminal/Tray: 12048074/2
  • Core/Insulation Crimp: E/1
  • Release Tool/Test Probe: 12094429/J-35616-2A (GY)

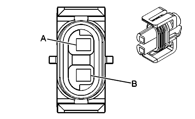
Keyless Entry Antenna - Back Up

Pin

Wire Color

Circuit No.

Function

A

OG

5708

Keyless Entry Antenna - Back Up Signal

B

OG/BK

5712

Keyless Entry Antenna - Back Up Low Reference

Keyless Entry Antenna - Left


Object Number: 684852  Size: CH

Connector Part Information

  • OEM: 12162017
  • Service: 12101937
  • Description: 2-Way F Metri-Pack 150 Series (GY)

Terminal Part Information

  • Terminal/Tray: 12048074/2
  • Core/Insulation Crimp: E/1
  • Release Tool/Test Probe: 12094429/J-35616-2A (GY)

Keyless Entry Antenna - Left

Pin

Wire Color

Circuit No.

Function

A

PU

218

Keyless Entry Antenna - Left Signal

B

TN

219

Keyless Entry Antenna - Left Low Reference

Keyless Entry Antenna - Rear Compartment


Object Number: 684852  Size: CH

Connector Part Information

  • OEM: 12162017
  • Service: 12101937
  • Description: 2-Way F Metri-Pack 150 Series (GY)

Terminal Part Information

  • Terminal/Tray: 12048074/2
  • Core/Insulation Crimp: E/1
  • Release Tool/Test Probe: 12094429/J-35616-2A (GY)

Keyless Entry Antenna - Rear Compartment

Pin

Wire Color

Circuit No.

Function

A

PK

5709

Keyless Entry Antenna - Rear Compartment Signal

B

PK/BK

5713

Keyless Entry Antenna - Rear Compartment Low Reference

Keyless Entry Antenna - Right


Object Number: 684852  Size: CH

Connector Part Information

  • OEM: 12162017
  • Service: 12101937
  • Description: 2-Way F Metri-Pack 150 Series (GY)

Terminal Part Information

  • Terminal/Tray: 12048074/2
  • Core/Insulation Crimp: E/1
  • Release Tool/Test Probe: 12094429/J-35616-2A (GY)

Keyless Entry Antenna - Right

Pin

Wire Color

Circuit No.

Function

A

L-GN

5707

Keyless Entry Antenna - Right Signal

B

L-GN/BK

5711

Keyless Entry Antenna - Right Low Reference

Remote Control Door Lock Receiver (RCDLR) C1


Object Number: 800518  Size: CH

Connector Part Information

  • OEM: 15332177
  • Service: 15332177
  • Description: 16-Way F GT 150 Series (BK)

Terminal Part Information

  • Pins: A-J, L, N-S
  • Terminal/Tray: 12191812/19
  • Core/Insulation Crimp: Pins A, B, H - C/A
  • Core/Insulation Crimp: Pins C, D, E, F, G, J, L, N, P, R, S - E/C
  • Release Tool/Test Probe: 15315247/J-35616-2A (GY)

Remote Control Door Lock Receiver (RCDLR) C1

Pin

Wire Color

Circuit No.

Function

A

D-BU

5876

Passenger Door Lock Actuator Lock Control

B

L-GN/BK

5703

Driver Door Lock Actuator Lock Control

C

PK

3

Ignition 1 Voltage

D

D-GN/WH

1135

A/T Shift Lock Control Solenoid Control

E

OG

5880

Left Front Interior Door Handle Switch Signal

F

PU

5877

Right Front Interior Door Handle Switch Signal

G

L-BU/WH

5725

Ignition Mode Switch Data Signal

H

RD/WH

2440

Battery Positive Voltage

J

L-BU

5726

Ignition Mode Switch Ground

K

--

--

Not Used

L

PK

1045

RFA Class 2 Serial Data

M

--

--

Not Used

N

L-BU

395

Right Front Exterior Door Handle Switch Signal

P

TN

1576

Trunk Release Switch Signal

R

L-GN/BK

394

Left Front Exterior Door Handle Switch Signal

S

BK/WH

851

Ground

Remote Control Door Lock Receiver (RCDLR) C2


Object Number: 646384  Size: CH

Connector Part Information

  • OEM: 15332153
  • Service: 88986440
  • Description: 10-Way F GT 150 Series (BK)

Terminal Part Information

  • Pins: A-D, F-J
  • Terminal/Tray: 12191812/19
  • Core/Insulation Crimp: E/C
  • Release Tool/Test Probe: 15315247/J-35616-2A (GY)

Remote Control Door Lock Receiver (RCDLR) C2

Pin

Wire Color

Circuit No.

Function

A

OG

5708

Keyless Entry Antenna - Back Up Signal

B

TN

219

Keyless Entry Antenna Left Low Reference

C

L-GN

5707

Keyless Entry Antenna - Right Signal

D

PK

5709

Keyless Entry Antenna - Rear Compartment Signal

E

--

--

Not Used

F

OG/BK

5712

Keyless Entry Antenna - Back Up Low Reference

G

PU

218

Keyless Entry Antenna Left Signal

H

L-GN/BK

5711

Keyless Entry Antenna - Right Low Reference

J

PK/BK

5713

Keyless Entry Antenna - Rear Compartment Low Reference

K

--

--

Not Used