GM Service Manual Online
For 1990-2009 cars only

Object Number: 1863421  Size: LF
Master Electrical Component List
Manual Transmission Schematics
OBD II Symbol Description Notice
Control Module References

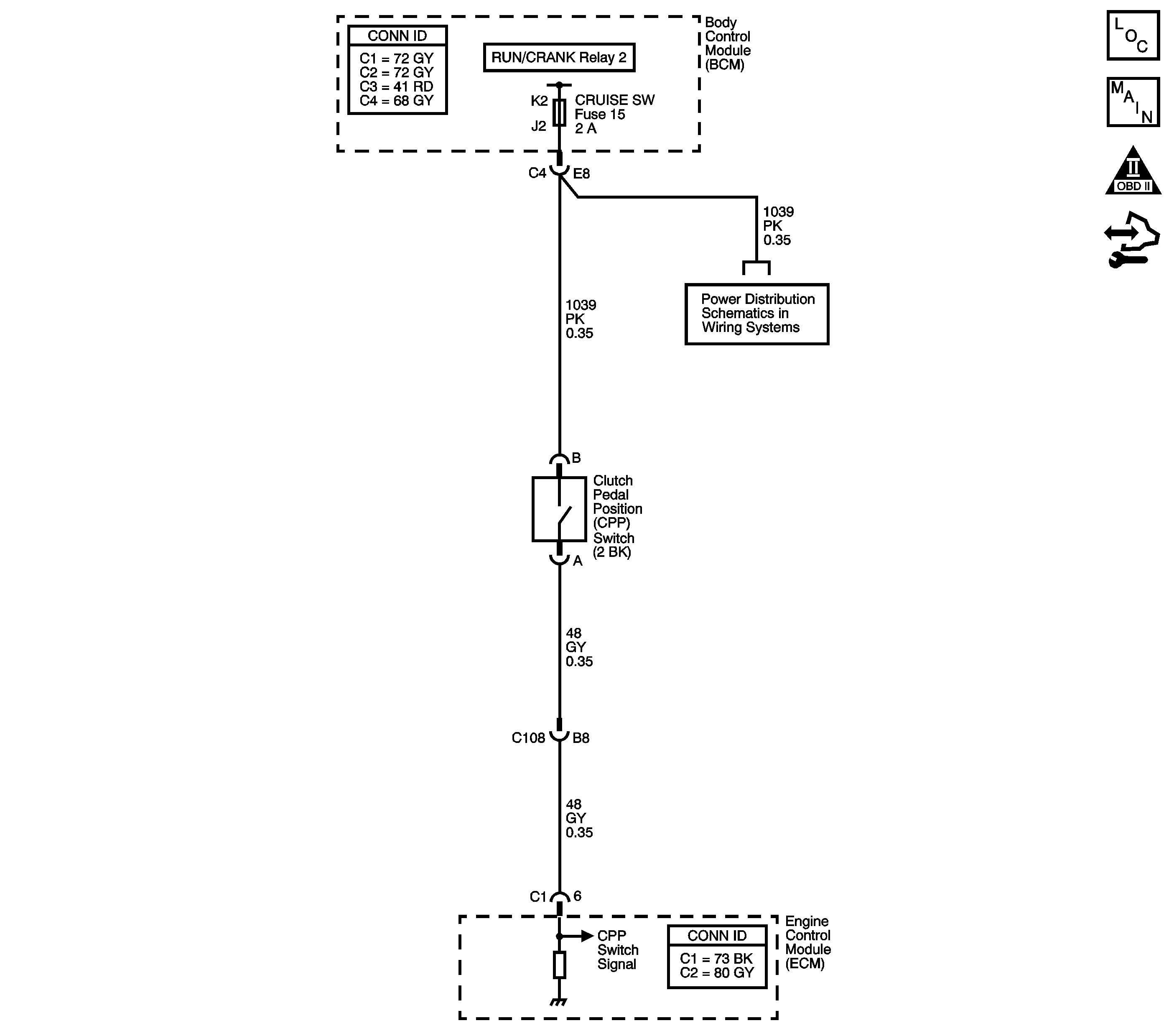
Circuit Description

Battery voltage is supplied from the Engine Ignition 1 fuse to the clutch switch. The clutch switch is a normally closed switch. When the clutch pedal is released, the clutch pedal position (CPP) switch signal circuit is pulled up to B+. When the clutch pedal is applied, the switch opens, and the voltage drops to 0 volts.

If the engine control module (ECM) detects a specified number of vehicle speed transitions without detecting a clutch switch transition, DTC P0833 sets. DTC P0833 is a type B DTC.

DTC Descriptor

This diagnostic procedure supports the following DTC:

DTC P0833 Clutch Pedal Switch 2 Circuit

Conditions for Running the DTC

No VSS DTC P0502 and P0503.

Conditions for Setting the DTC

    • The vehicle speed goes from 0 km/h (0 mph) to greater than 39 km/h (24 mph) and back to 0 km/h (0 mph) for 2 seconds without the ECM detecting a clutch transition.
    • This must occur 7 times before the diagnostic reports a fault.

Action Taken When the DTC Sets

    • The ECM illuminates the malfunction indicator lamp (MIL) during the second consecutive trip in which the Conditions for Setting the DTC are met.
    • Cruise control is disabled.
    • The ECM records the operating conditions at the time when the Conditions for Setting the DTC are met. The ECM stores this information as Freeze Frame and Failure Records.
    • The ECM stores DTC P0833 in ECM history.

Conditions for Clearing the MIL/DTC

    • The ECM turns OFF the MIL during the third consecutive trip in which the diagnostic test runs and passes.
    • A scan tool can clear the MIL/DTC.
    • The ECM clears the DTC from ECM history if the vehicle completes 40 warm-up cycles without an emission-related diagnostic fault occurring.
    • The ECM cancels the DTC default actions when the fault no longer exists and the DTC passes.

Diagnostic Aids

Important: 

   • Remove any debris from the ECM connector surfaces before servicing the ECM. Inspect the ECM connector gaskets when diagnosing/replacing the module. Ensure that the gaskets are installed correctly. The gaskets prevent contaminate intrusion into the ECM.
   • For any test that requires probing the ECM or a component harness connector, use the J 35616 GM terminal test kit. Using this kit prevents damage to the harness/component terminals. Refer to Using Connector Test Adapters .

For clutch switch adjustment refer to Clutch Pedal Position Switch Replacement .

Test Description

The numbers below refer to the step numbers on the diagnostic table.

  1. This test confirms if the scan tool is receiving a clutch switch position signal.

  2. This step inspects the clutch pedal connector and adjustment.

  3. This step tests for a short to ground.

  4. This step tests for voltage to the fuse.

  5. This step tests for voltage to the CPP switch.

  6. This step tests the CPP switch.

  7. This step tests the CPP switch signal circuit.

  8. This step tests the Ignition 1 Voltage circuit for a short to ground.

  9. This step tests the CPP switch signal circuit for a ground.

  10. This step ensures that the technician has verified the system is operating normally.

Step

Action

Values

Yes

No

1

Did you perform the Diagnostic System Check - Vehicle?

--

Go to Step 2

Go to Diagnostic System Check - Vehicle

2

  1. Install a scan tool.
  2. Turn ON the ignition, with the engine OFF.
  3. Important: Before clearing the DTC, use the scan tool in order to record the Freeze Frame and Failure Records. Using the Clear Info function erases the Freeze Frame and Failure Records from the ECM.

  4. Record the DTC Freeze Frame and Failure Records.
  5. Clear the DTC.
  6. Use the scan tool to monitor the CPP Switch parameter under Engine Data List.
  7. Apply and release the clutch pedal several times.

Does the scan tool indicate a change in state when the clutch pedal is either applied or released?

--

Go to Testing for Intermittent Conditions and Poor Connections

Go to Step 3

3

Inspect the adjustment of the CPP switch and the connector. Refer to Clutch Pedal Cruise Control Release Switch Replacement .

Does the clutch switch require adjustment or the connector require service?

--

Go to Step 11

Go to Step 4

4

Inspect the cruise switch fuse.

Is the cruise switch fuse open?

--

Go to Step 9

Go to Step 5

5

  1. Start the vehicle.
  2. Using a DMM, measure voltage at the cruise switch fuse in the underhood fuse block.

Does the DMM indicate the specified value?

B+

Go to Step 6

Go to Step 12

6

  1. Turn OFF the ignition.
  2. Disconnect the CPP switch connector.
  3. Start the vehicle.
  4. Using a DMM, measure the voltage at the Ignition 1 Voltage circuit.

Does the DMM indicate the specified value?

B+

Go to Step 7

Go to Step 13

7

  1. Use the scan tool to monitor the CPP Switch parameter.
  2. Put the transmission in Neutral.
  3. Apply the parking brake.
  4. Start the vehicle.
  5. Use a fused jumper wire to repeatedly connect and disconnect pin A and pin B of the CPP switch electrical connector.

Does the scan tool parameter display applied and released?

--

Go to Step 15

Go to Step 8

8

  1. Turn the ignition switch OFF.
  2. Disconnect C1 at the ECM.
  3. Using the DMM, test for continuity and a short to voltage on the CPP switch signal circuit.

Did you find a short to voltage, high resistance or an open on the CPP switch signal circuit?

--

Go to Step 14

Go to Step 16

9

  1. Turn the ignition switch OFF.
  2. Remove the cruise switch fuse.
  3. Disconnect the CPP switch connector and C1 at the ECM.
  4. Using a DMM, test for a short to ground on the Ignition 1 Voltage circuit at the switch connector.

Is the Ignition 1 Voltage circuit grounded?

--

Go to Step 13

Go to Step 10

10

Using a DMM, test for a short to ground on the CPP switch signal circuit at the switch connector.

Is the CPP switch signal circuit grounded?

--

Go to Step 14

Go to Step 15

11

Adjust the CPP switch or repair the connector as necessary. Refer to Clutch Pedal Cruise Control Release Switch Replacement .

Did you complete the repair?

--

Go to Step 17

--

12

Important: Voltage to this fuse is run through the Ignition relay. Refer to Power Distribution Schematics .

Repair the Power Distribution circuit to the cruise switch fuse.

Did you complete the repair?

--

Go to Step 17

--

13

Repair the open, high resistance or short to ground in the Ignition 1 Voltage circuit or a parallel circuit that uses the fuse.

Did you complete the repair?

--

Go to Step 17

--

14

Repair the open, high resistance or short in the CPP switch signal circuit.

Did you complete the repair?

--

Go to Step 17

--

15

Replace the CPP switch. Refer to Clutch Pedal Position Switch Replacement .

Is the action complete?

--

Go to Step 17

--

16

Replace the ECM. Refer to Control Module References for replacement, setup, and programming.

Is the action complete?

--

Go to Step 17

--

17

Perform the following procedure in order to verify the repair:

  1. Select DTC.
  2. Select Clear Info.
  3. Operate the vehicle from 0 km/h (0 mph) to above 38 km/h (24 mph) then back to 0 km/h (0 mph) 7 times.
  4. Select Specific DTC.
  5. Enter DTC P0833.

Has the test run and passed?

--

Go to Step 18

Go to Step 2

18

With the scan tool, observe the stored information, capture info and DTC info.

Does the scan tool display any DTCs that you have not diagnosed?

--

Go to Diagnostic Trouble Code (DTC) List - Vehicle

System OK