GM Service Manual Online
For 1990-2009 cars only
Figure 1:

Instrument Panel


Object Number: 1469252  Size: LF
(1)Instrument Cluster
(2)Ignition Switch
(3)Speaker (Tweeter) Right Front (Left Similar)
(4)Radio
(5)Shift Indicator Lamp - Automatic Transmission
(6)Fog Lamp Switch - Rear (w/ Rear Fog Lamps)
(7)Fog Lamp Switch/Front
(8)Ashtray Lamp
(9)DRL Diode
Figure 2:

Instrument Panel Switches


Object Number: 1469253  Size: LF
(1)Shift Program Switch, Hold Mode Switch
(2)Cigar Lighter
(3)Daytime Running Lamp Module (w/DRL)
(4)Clock
(5)Auxiliary Power Outlet
(6)Dimmer Control Switch (I/P)/Headlamp Leveling Switch
(7)Horn Switch
Figure 3:

Instrument Panel Multifunction Switches


Object Number: 1469254  Size: LF
(1)Traction Control Switch (TCS)
(2)Windshield Wiper/Washer Switch
(3)Hazard Switch
(4)I/P Compartment Lamp/Switch
(5)Headlamp Switch, Turn Signal/ Multifunction Switch
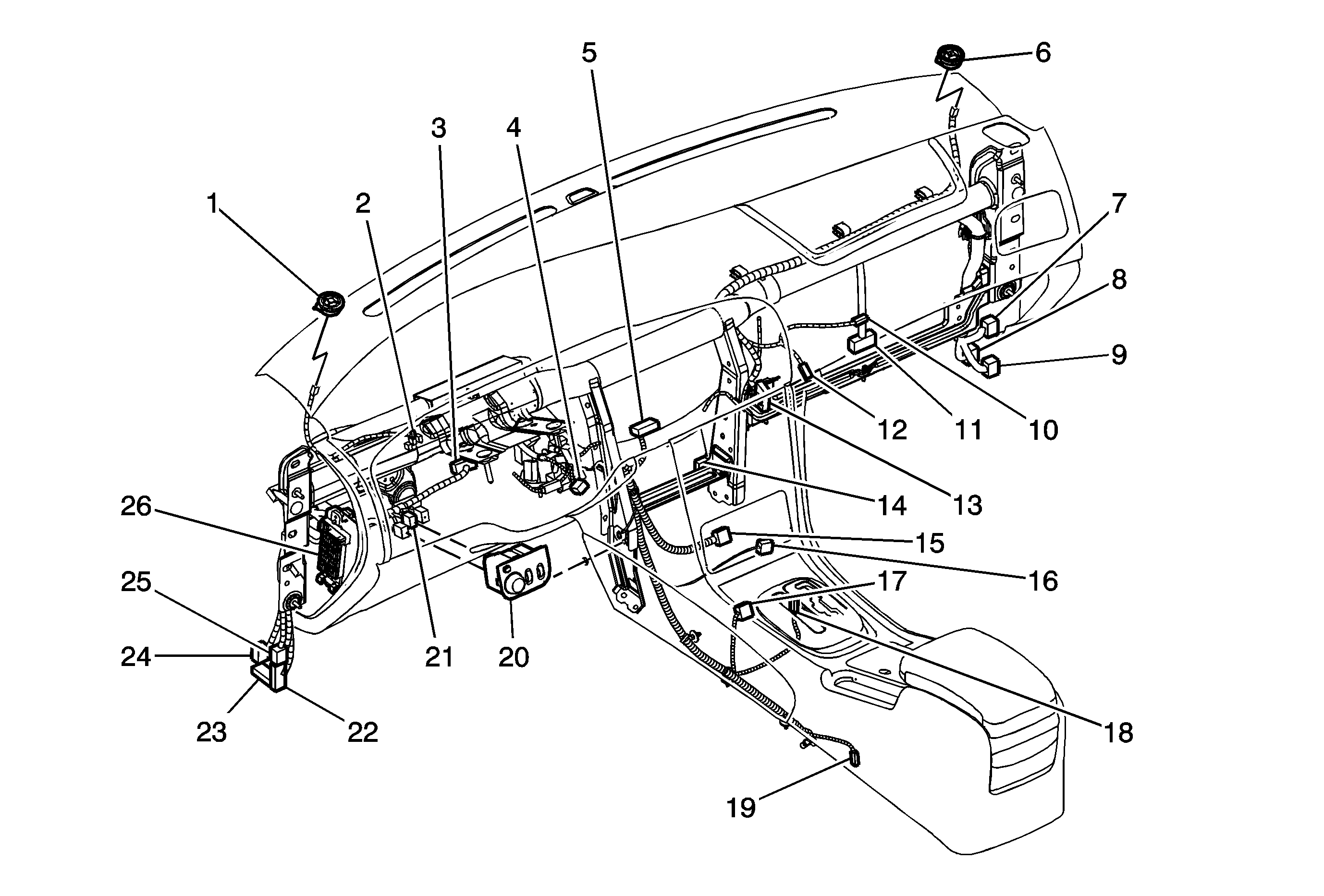
Figure 4:

I/P Harness LHD


Object Number: 1864914  Size: MF
(1)Speaker - Left
(2)I/P Cluster
(3)X210
(4)DLC
(5)Radio
(6)Speaker - Right
(7)X213
(8)X214
(9)X216
(10)I/P Compartment Lamp
(11)X211
(12)I/P Compartment Lamp Switch
(13)JX203
(14)JX202
(15)X216
(16)Auxiliary Power Outlet
(17)Shift Selector Lever
(18)PRNDL Lamp
(19)Parking Brake Switch
(20)Multifunction Switch
(21)Body Control Module (BCM) (ISU)
(22)X202
(23)X203
(24)X204
(25)X205
(26)Fuse Block - I/P
Figure 5:

I/P Harness RHD


Object Number: 1864912  Size: MF
(1)Speaker - LH
(2)Digital Clock
(3)Audio
(4)Hazard Switch
(5)I/P Cluster
(6)Speaker - RH
(7)I/P Fuse Block
(8)X202, X204, X205
(9)PRND Illumination Lamp
(10)Shift Selector Lever
(11)Winter Mode Switch
(12)Parking Brake Switch
(13)Auxiliary Power Outlet
(14)X211
(15)X203, X213, X214, X216
Figure 6:

Oil Pressure Switch (2.5L)


Object Number: 1505473  Size: MF
(1)Knock Sensor (KS) and Connector
(2)Oil Pressure Switch