GM Service Manual Online
For 1990-2009 cars only
Makes
🢒
Chevrolet
🢒
2005
🢒
Equinox
🢒
Vehicle Control Systems
🢒
Vehicle DTC Information
🢒 Body Control System Schematics
Figure
1:
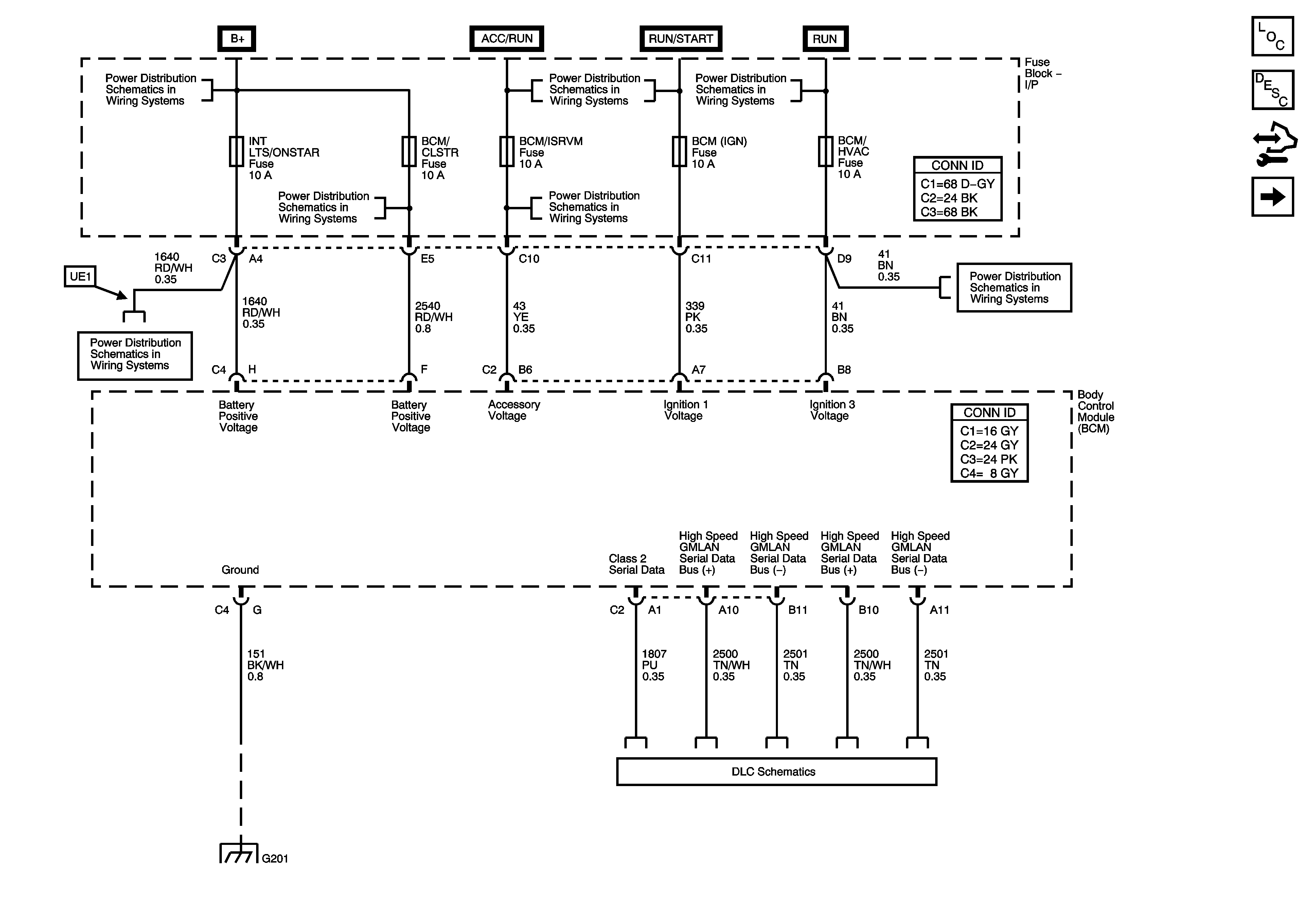
BCM Power and Ground
Master Electrical Component List
Body Control System Description and Operation
Control Module References
Lighting and Wiper System Controlled/Monitored Subsystem References
LH HDLP, RH HDLP, HTD SEATS, BRAKE, PREM AUD, BATT FEED Fuses, and PWR SEATS CB
RADIO, BCM/CLUSTER, INT LTS, PARK, HZRD, and LOCK/MIRROR Fuses
Ignition Circuits
TURN, BCM, RADIO(IGN), HVAC, and HTD SEATS Fuses
Ignition Circuits
RADIO, BCM/CLUSTER, INT LTS, PARK, HZRD, and LOCK/MIRROR Fuses
TURN, BCM, RADIO(IGN), HVAC, and HTD SEATS Fuses
G201
Data Link Communication Schematic
Figure
2:
Lighting and Wiper System Controlled/Monitored Subsystem References
Master Electrical Component List
Body Control System Description and Operation
Control Module References
BCM Power and Ground
Controlled/Monitored Subsystem References
Headlight/DRL Schematic
Park Lamps
Headlight/DRL Schematic
Interior Lighting Schematic
Fog Lights Schematic
Interior Lights Dimming Schematic
Front Wiper/Washer
Headlight/DRL Schematic
Figure
3:
Controlled/Monitored Subsystem References
Master Electrical Component List
Body Control System Description and Operation
Control Module References
Lighting and Wiper System Controlled/Monitored Subsystem References
Door Lock Actuators
Door Lock and Jamb Switches
Theft Deterrent System Schematic
Body Rear End Schematic
Traction Control Switch (w/NW9) and Indicators
Blower Controls
Audible Warning Schematic
PNP Switch and Transmission Range Indicator
Horn Schematic
Brake Warning Schematic
Automatic Transmission Shift Lock Control Schematic
Actuators and Evaporator Temp Sensor
Defogger Schematic