GM Service Manual Online
For 1990-2009 cars only
Makes
🢒
Chevrolet
🢒
1985
🢒
Evaluator
🢒
Steering
🢒
Power Steering System
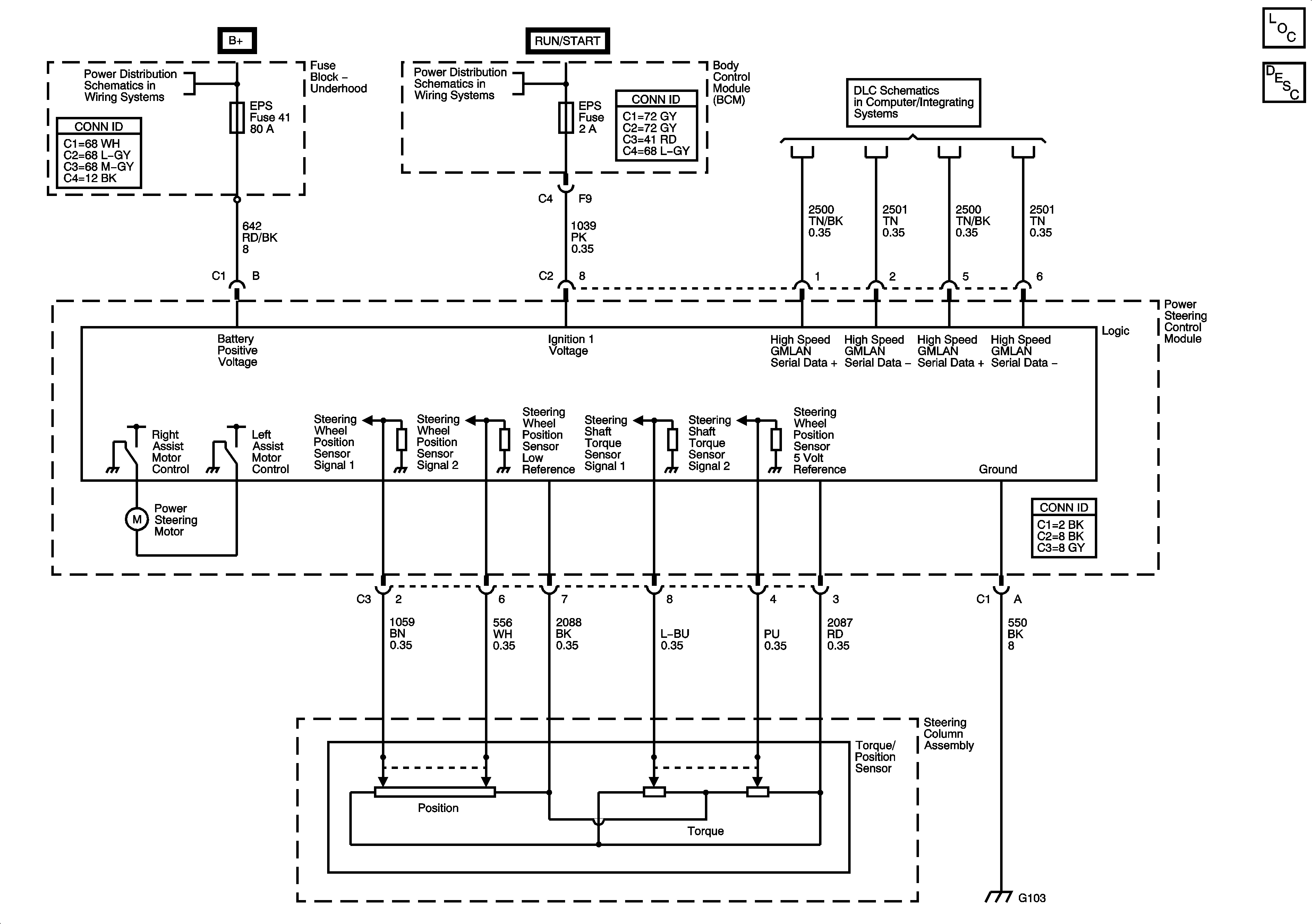
🢒 Power Steering Schematics
Master Electrical Component List
Power Steering System Description and Operation
Power Distribution (B+ Bussing)
Power Distribution (Run Relay and Run/Crank Relay Feeds)