GM Service Manual Online
For 1990-2009 cars only

Refer to

Secondary AIR Controls 7.4L


Object Number: 44709  Size: FS
Engine Controls Components
Information Sensors 5.7L, 7.4L
4L80-E Transmission Solenoid Controls 7.4L
Vehicle Speed Sensor and Cruise Control 7.4L
OBD II Symbol Description Notice
.

Circuit Description

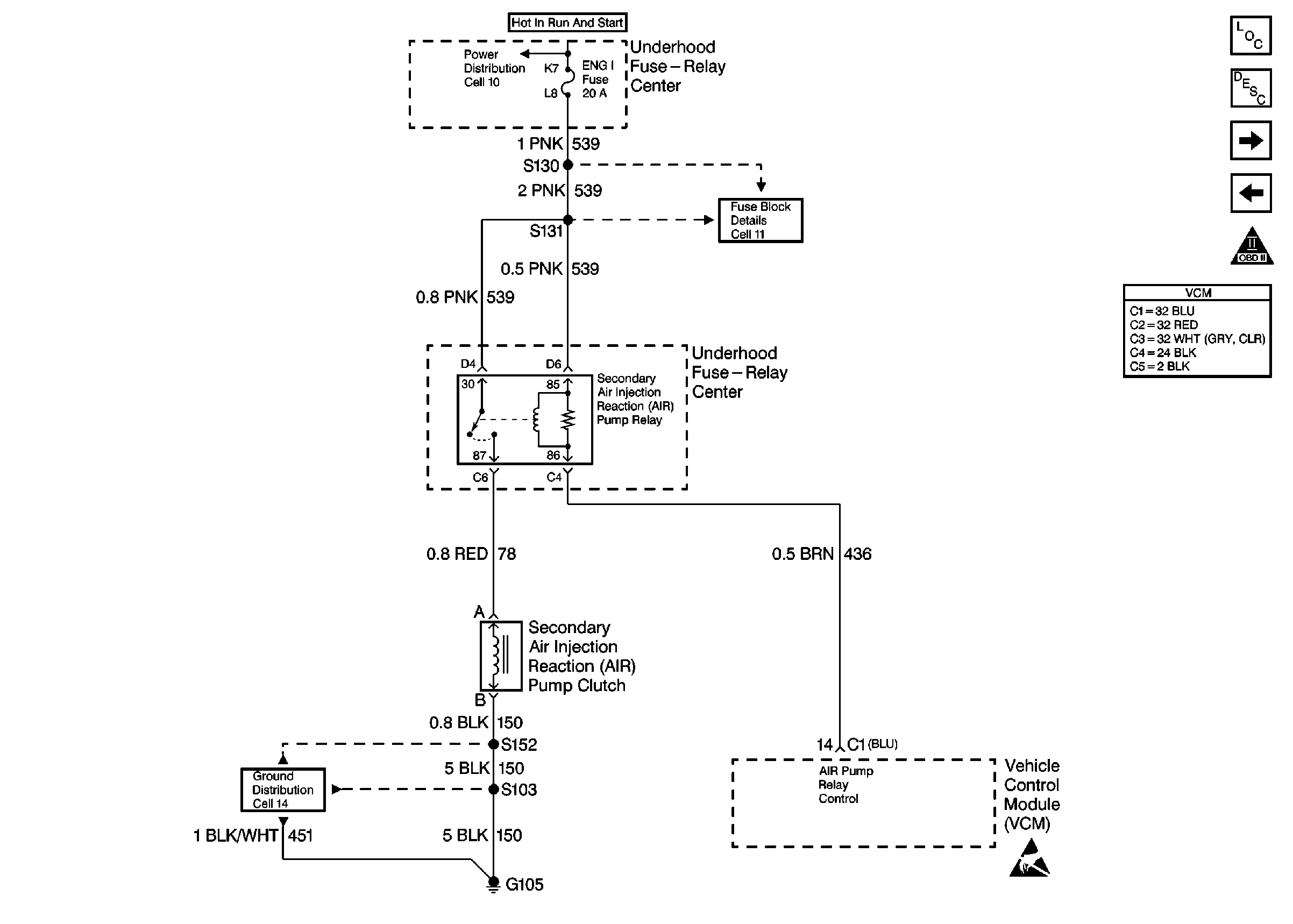
Fused ignition voltage is supplied to the AIR relay. The VCM controls the AIR pump by grounding the AIR relay control circuit. This energizes the relay and supplies voltage to the AIR pump clutch. When the fuel system goes to the Closed Loop mode, the VCM opens the ground to the AIR control circuit.

Conditions for Setting the DTC

    • No ECT sensor DTCs
    • No IAC sensor DTCs
    • No HO2S sensor DTCs
    • No Misfire DTCs
    • No MAP DTCs.
    • No Fuel Trim DTCs
    • No EVAP DTCs
    • No TP sensor DTCs
    • No IAT DTCs
    • No MAF DTCs
    • System voltage greater than 10 volts for a period greater than 3 seconds
    • IAT greater than 0°C
    • Engine run time greater than 3 seconds

AIR Active Test Enable

    • AIR Passive Test failed
    • No ECT sensor DTCs
    • No IAC sensor DTCs
    • No HO2S sensor DTCs
    • No Misfire DTCs
    • No MAP DTCs.
    • No Fuel Trim DTCs
    • No EVAP DTCs
    • No TP sensor DTCs
    • No IAT DTCs
    • No MAF DTCs
    • Power enrichment not active
    • Decel Fuel Cutoff not active
    • Air/Fuel Ratio 14.7:1
    • Engine Speed Above 550 RPM
    • Closed Loop for a period of greater than 15 seconds
    • Engine Load less than 50%
    • MAF less than 100 g/s
    • System voltage greater than 10 volts
    • ECT between 75°C and 105°C
    • IAT greater than 0°C
    • Integrater greater than 0.95 but less than 1.0 for 3 seconds

Action Taken When the DTC Sets

The VCM will turn ON the malfunction indicator lamp (MIL) after two consecutive test cycles with the fault active.

Conditions for Clearing the MIL/DTC

The VCM turns OFF the MIL after 3 consecutive driving trips without a fault condition present. A history DTC will clear if no fault conditions have been detected for 40 warm-up cycles (the coolant temperature has risen 22°C (40°F) from the start-up coolant temperature and the engine coolant temperature exceeds 71°C (160°F) during that same ignition cycle) or the scan tool clearing feature has been used.

Diagnostic Aids

An intermittent may be caused by a poor connection, rubbed through wire insulation, or a broken wire inside the insulation.

Check for the following conditions:

    • Poor connection or damaged harness - Inspect the harness connectors for backed out terminals, improper mating, broken locks, improperly formed or damaged terminals, poor terminal to wire connection, and damaged harness.
    • Worn or loose AIR pump drive belt
    • Pinched, kinked, or restricted AIR pipes, hoses, or fittings

Test Description

Number(s) below refer to the step number(s) on the Diagnostic Table.

  1. This step determines if there is change in the Bank 1 Short Term Fuel Trim more than 6 % when the AIR pump is ON.

  2. This step determines if the AIR valve is functioning properly.

Step

Action

Value(s)

Yes

No

1

Important: Before clearing DTC(s) use the scan tool to record Freeze Frame and Failure Records for reference, as data will be lost when the Clear Info function is used.

Was the Powertrain On-Board Diagnostic (OBD) System Check performed?

--

Go to Step 2

Go to the Powertrain On Board Diagnostic (OBD) System Check

2

  1. Install a scan tool.
  2. Start and run the engine for greater than the specified value.
  3. Verify the engine is at normal operating temperature.
  4. Using a scan tool, command the AIR ON.

Does the Short Term Fuel Trim Bank 1 indicate a change of more than the specified value?

2 min.

6%

Go to Step 3

Go to Step 4

3

The DTC is intermittent. If no additional DTCs are stored, refer to Diagnostic Aids. If additional DTCs are stored, refer to those Table(s).

Are any additional DTCs stored?

--

Go to the Applicable DTC Table

Go to Step 8

4

  1. Disconnect the Bank 1 AIR crossover hose from the AIR valve.
  2. Using a scan tool, command the AIR ON.

Does air flow from the AIR valve?

--

Go to Step 5

Go to Step 7

5

Check for restrictions or leaks in the Bank 1 AIR pipe, hoses and fittings.

Was a problem found?

--

Go to Step 6

Go to Step 2

6

Repair as necessary.

Is the action complete?

--

Go to Step 7

--

7

  1. Using the scan tool, select DTC, Clear Info.
  2. Start the engine and idle until normal operating temperature.
  3. Select DTC, Specific, then enter the DTC number which was set.
  4. Operate the vehicle within the conditions for setting this DTC as specified in the supporting text.

Does the scan tool indicate that this diagnostic Ran and Passed?

--

Go to Step 8

Go to Step 2

8

Using the scan tool, select Capture Info, Review Info.

Are any additional DTCs displayed that have not been diagnosed?

--

Go to the Applicable DTC Table

System OK