GM Service Manual Online
For 1990-2009 cars only

Exterior Lights Schematics Domestic

Figure 1:

PARK LPS, TURN B/U, HAZARD, STOP Fuses


Object Number: 547750  Size: FS
Lighting Systems Components
Exterior Lights Circuit Description Domestic
Hazard Warning Switch, Turn/Hazard Lamp Flasher
IGN A, IGN B Fuses, and Ignition Switch
PARK LPS, SECURITY STRG, and DRL Fuses
STOP, PWR AUX, CIG LTR, and RADIO B Fuses
Cruise Control System-Gasoline Engines
Cruise Control System-Diesel Engines
PWR ACCY, GAUGES, And PARK LPS Fuses
PWR ACCY, GAUGES, And PARK LPS Fuses
Front Side Marker Lamps, Front Park and Turn Signal Lamps
Taillamps, Rear Park and Turn Signal Lamps, Center High Mounted Stoplamps, License Lamp
CTSY, AIR BAGS, and TURN B/U Fuses
PWR WDO, HTD MIR, RR DEFOG, and HAZARD Fuses
Hazard Warning Switch, Turn/Hazard Lamp Flasher
Hazard Warning Switch, Turn/Hazard Lamp Flasher
Hazard Warning Switch, Turn/Hazard Lamp Flasher
Taillamps, Rear Park and Turn Signal Lamps, Center High Mounted Stoplamps, License Lamp
Figure 2:

Hazard Warning Switch, Turn/Hazard Lamp Flasher


Object Number: 547758  Size: FS
Lighting Systems Components
Exterior Lights Circuit Description Domestic
Front Side Marker Lamps, Front Park and Turn Signal Lamps
PARK LPS, TURN B/U, HAZARD, STOP Fuses
PARK LPS, TURN B/U, HAZARD, STOP Fuses
PARK LPS, TURN B/U, HAZARD, STOP Fuses
PARK LPS, TURN B/U, HAZARD, STOP Fuses
SIR Caution
Headlamp Switch, Instrument Cluster, Park/Neutral Position Switch
Components through S202 and S205 to G201
G201
Handling ESD Sensitive Parts Notice
Front Side Marker Lamps, Front Park and Turn Signal Lamps
Taillamps, Rear Park and Turn Signal Lamps, Center High Mounted Stoplamps, License Lamp
Front Side Marker Lamps, Front Park and Turn Signal Lamps
Taillamps, Rear Park and Turn Signal Lamps, Center High Mounted Stoplamps, License Lamp
Figure 3:

Front Side Marker Lamps, Front Park and Turn Signal Lamps


Object Number: 547767  Size: FS
Lighting Systems Components
Exterior Lights Circuit Description Domestic
Front Side Marker Lamps, Front Park and Turn Signal Lamps (Composite)
Hazard Warning Switch, Turn/Hazard Lamp Flasher
PARK LPS, TURN B/U, HAZARD, STOP Fuses
Hazard Warning Switch, Turn/Hazard Lamp Flasher
Hazard Warning Switch, Turn/Hazard Lamp Flasher
G108 and G109 (Domestic)
Figure 4:

Front Side Marker Lamps, Front Park and Turn Signal Lamps (Composite)


Object Number: 547778  Size: FS
Lighting Systems Components
Exterior Lights Circuit Description Domestic
Taillamps, Rear Park and Turn Signal Lamps, Center High Mounted Stoplamps, License Lamp
Front Side Marker Lamps, Front Park and Turn Signal Lamps
PARK LPS, TURN B/U, HAZARD, STOP Fuses
Hazard Warning Switch, Turn/Hazard Lamp Flasher
Hazard Warning Switch, Turn/Hazard Lamp Flasher
G108 and G109 (Domestic)
Figure 5:

Taillamps, Rear Park and Turn Signal Lamps, Center High Mounted Stoplamps, License Lamp


Object Number: 547787  Size: FS
Lighting Systems Components
Exterior Lights Circuit Description Domestic
Front Side Marker Lamps, Front Park and Turn Signal Lamps (Composite)
Hazard Warning Switch, Turn/Hazard Lamp Flasher
PARK LPS, TURN B/U, HAZARD, STOP Fuses
PARK LPS, TURN B/U, HAZARD, STOP Fuses
Hazard Warning Switch, Turn/Hazard Lamp Flasher
Hazard Warning Switch, Turn/Hazard Lamp Flasher
Hazard Warning Switch, Turn/Hazard Lamp Flasher
G400
G401
G401

Exterior Lights Schematics Export

Figure 1:

PARK LPS, TURN B/U, HAZARD, and STOP Fuses


Object Number: 547798  Size: FS
Lighting Systems Components
Exterior Lights Circuit Description Export
Turn/Hazard Lamp Flasher
PARK LPS, SECURITY STRG, and DRL Fuses
IGN A, IGN B Fuses, and Ignition Switch
STOP, PWR AUX, CIG LTR, and RADIO B Fuses
PWR ACCY, GAUGES, And PARK LPS Fuses
PWR ACCY, GAUGES, And PARK LPS Fuses
Front Lamps
Rear Lamps
CTSY, AIR BAGS, and TURN B/U Fuses
PWR WDO, HTD MIR, RR DEFOG, and HAZARD Fuses
Turn/Hazard Lamp Flasher
Turn/Hazard Lamp Flasher
Turn/Hazard Lamp Flasher
Rear Lamps
Cruise Control System-Gasoline Engines
Cruise Control System-Diesel Engines
Figure 2:

Turn/Hazard Lamp Flasher


Object Number: 547805  Size: FS
Lighting Systems Components
Exterior Lights Circuit Description Export
Front Lamps
PARK LPS, TURN B/U, HAZARD, and STOP Fuses
PARK LPS, TURN B/U, HAZARD, and STOP Fuses
PARK LPS, TURN B/U, HAZARD, and STOP Fuses
PARK LPS, TURN B/U, HAZARD, and STOP Fuses
SIR Caution
Handling ESD Sensitive Parts Notice
Front Lamps
Rear Lamps
Headlamp Switch, Instrument Cluster, Park/Neutral Position Switch
Components through S202 and S205 to G201
G201
Front Lamps
Rear Lamps
Rear License Plate Lamps
Theft Deterrent Flasher
Figure 3:

Front Lamps


Object Number: 547812  Size: FS
Lighting Systems Components
Exterior Lights Circuit Description Export
Rear Lamps
Turn/Hazard Lamp Flasher
PARK LPS, TURN B/U, HAZARD, and STOP Fuses
Turn/Hazard Lamp Flasher
Turn/Hazard Lamp Flasher
G108 and G109 (Export)
Figure 4:

Rear Lamps


Object Number: 547817  Size: FS
Lighting Systems Components
Exterior Lights Circuit Description Export
Rear License Plate Lamps
Front Lamps
Turn/Hazard Lamp Flasher
PARK LPS, TURN B/U, HAZARD, and STOP Fuses
PARK LPS, TURN B/U, HAZARD, and STOP Fuses
Turn/Hazard Lamp Flasher
Rear License Plate Lamps
Rear License Plate Lamps
G400
Rear License Plate Lamps
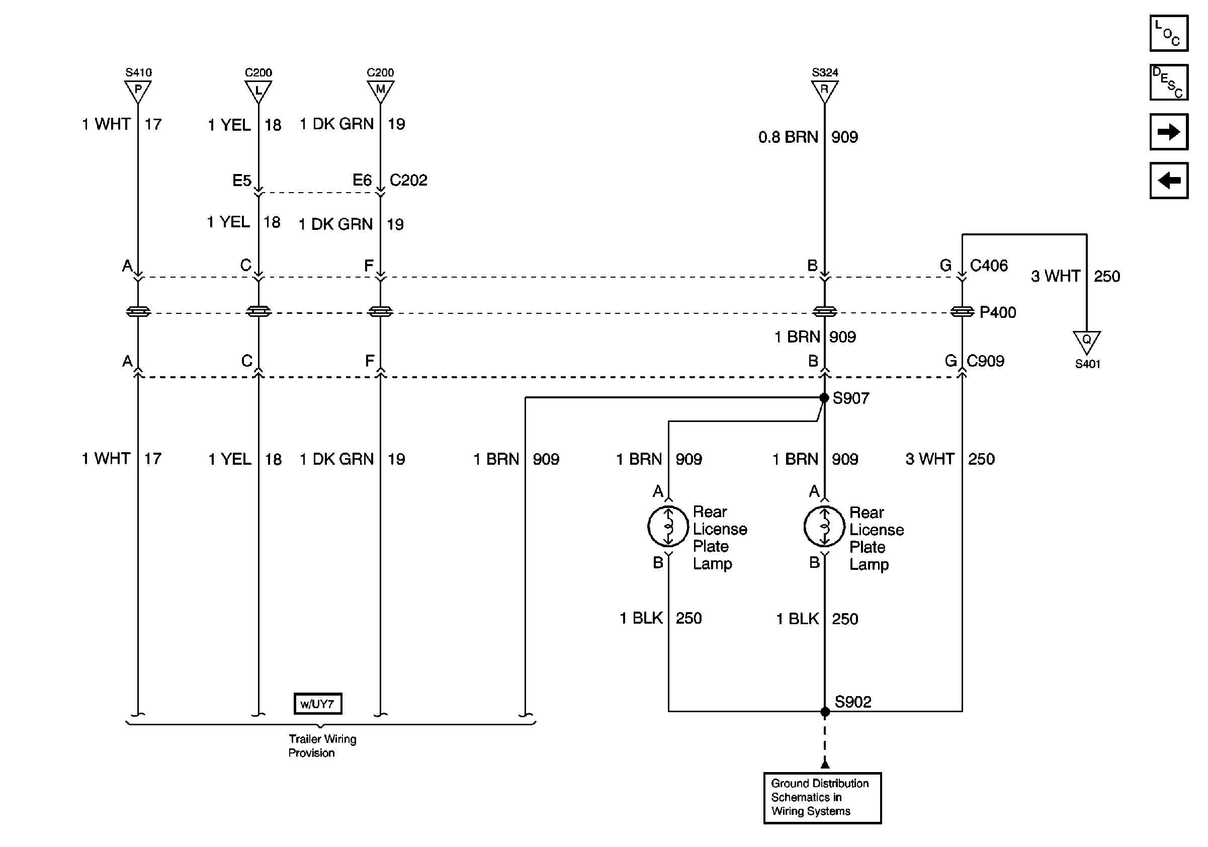
Figure 5:

Rear License Plate Lamps


Object Number: 547822  Size: FS
Lighting Systems Components
Exterior Lights Circuit Description Export
Theft Deterrent Flasher
Rear Lamps
Rear Lamps
Turn/Hazard Lamp Flasher
Turn/Hazard Lamp Flasher
Rear Lamps
Rear Lamps
G401
Figure 6:

Theft Deterrent Flasher


Object Number: 565227  Size: FS
LIGHTING and BATT Fuses
PARK LPS, SECURITY STRG, and DRL Fuses
Lighting Systems Components
Exterior Lights Circuit Description Export
Rear License Plate Lamps
Turn/Hazard Lamp Flasher
Turn/Hazard Lamp Flasher