GM Service Manual Online
For 1990-2009 cars only

Rear Seat Rattle (Install Hold Down Pin Retainer Clips)

Subject:Rear Seat Rattle (Install Hold Down Pin Retainer Clips)

Models:2000-2001 Chevrolet Express Vans
2000-2001 GMC Savana Vans
with Floor Carpet (RPO B30)
Built Between 2/11/2000 and 2/25/2001



Condition

Some customers may comment that the rear seats of the vehicle may rattle while driving.

Correction

Install rear seat hold down pin retainer clips using the following service procedure.


    Object Number: 783237  Size: SH
  1. Rotate the locking pins (3) out of the carpet escutcheons at the rear of the seat risers (1) to the vertical position.
  2. Pull the locking pins (3) out from the rear of the seat risers (1).
  3. Push on the top back of the seat in order to move the rear portion of the seat risers out of the carpet escutcheons.
  4. Important: Failure to thoroughly clean the carpet escutcheons pocket area that the retaining clips will be adhered to may result in the retaining clips not adhering.

  5. Clean the carpet escutcheons with shop air, 3M® General Purpose Adhesive Cleaner, P/N 051135-08984 or equivalent and a clean shop towel or rag.
  6. Position the seat back into the correct location.

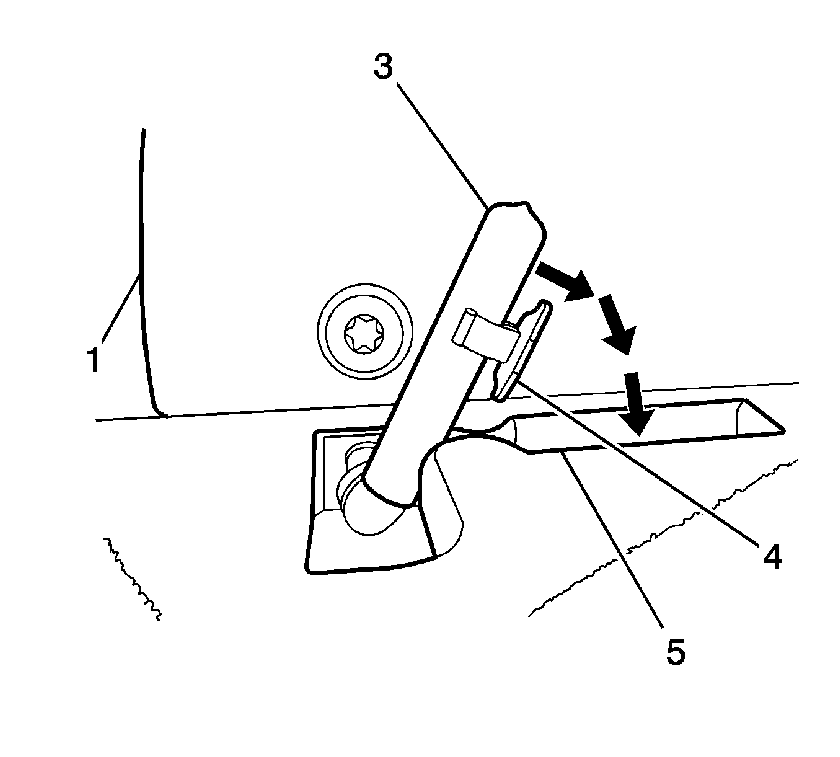
  7. Object Number: 886151  Size: SH
  8. Install the retainer clips (4), P/N 88981656 (two retainers per kit), to the seat locking pins (3) approximately 25 mm (1 in) from the top of the pins (3).
  9. Remove the two-sided tape from the retainer clips (4).
  10. Install and rotate the seat locking pin (3) down into the carpet escutcheons (5) and firmly press the locking pin (3) into the escutcheons (5) in order to adhere the two-way tape to the carpet escutcheons (5).
  11. Repeat steps 1-6 on all rear seat locking pins (3) and carpet escutcheons (5) as equipped.

Parts Information

Part Number

Description

Qty

88981656

Kit, Rear Seat Hold Down Pin Retainer Clip

1 Package Per Seat

Parts are currently available from GMSPO.

Warranty Information

For vehicles repaired under warranty, use:

Labor Operation

Description

Labor Time

C8651

Rear Seat Hold Down Pin Retainers - Install

0.2 hr

Add

To Repair Second Seat

0.1 hr

Add

To Repair Third and Fourth Seat

0.1 hr