GM Service Manual Online
For 1990-2009 cars only
Makes
🢒
Chevrolet
🢒
2000
🢒
Express
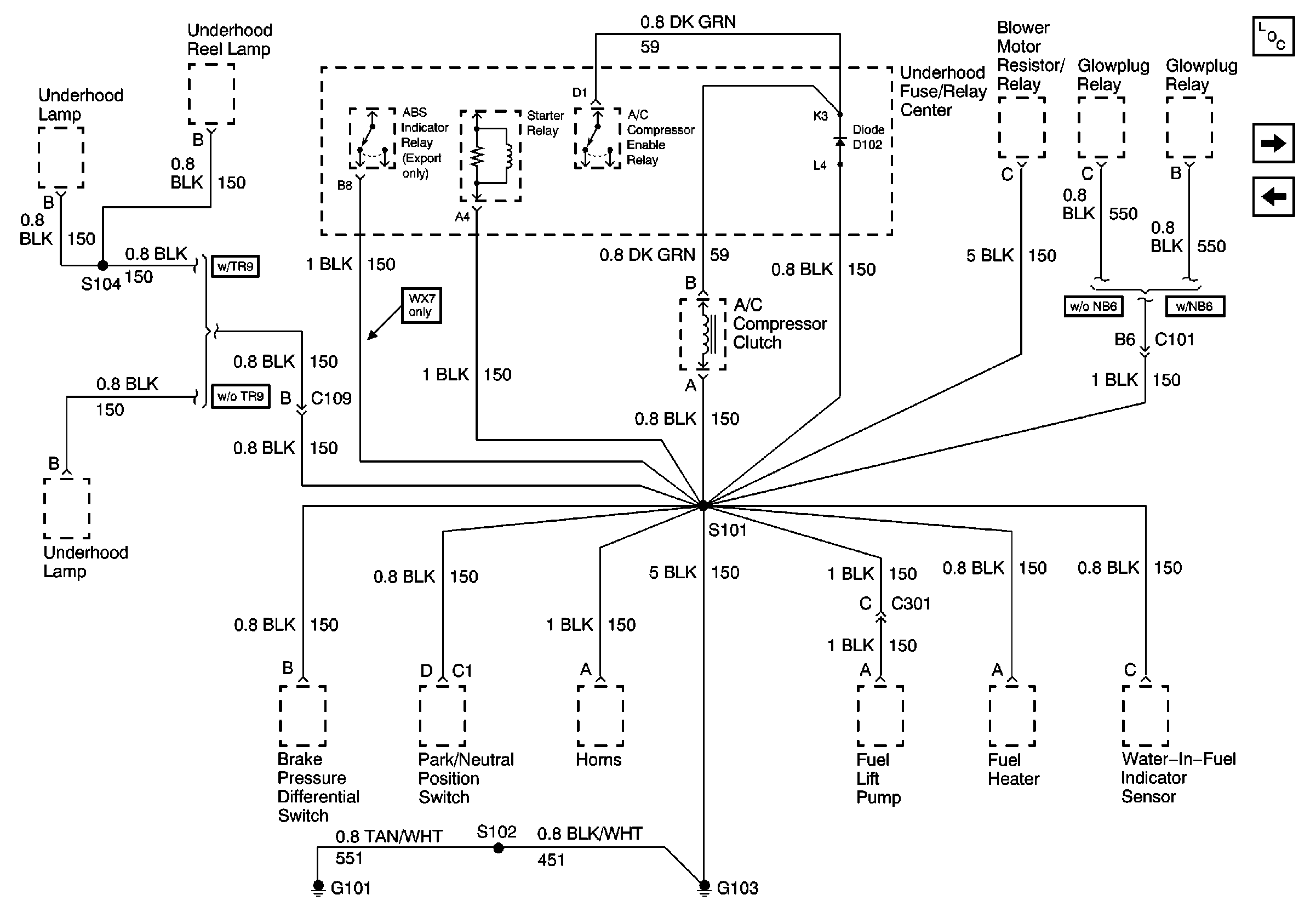
🢒 G103 (6.5L Engine)
G103 (6.5L Engine)
G103 (6.5L Engine)
Power and Grounding Components
Components through S152 to G103 (Gasoline Engines)
G103 (7.4L Engine)