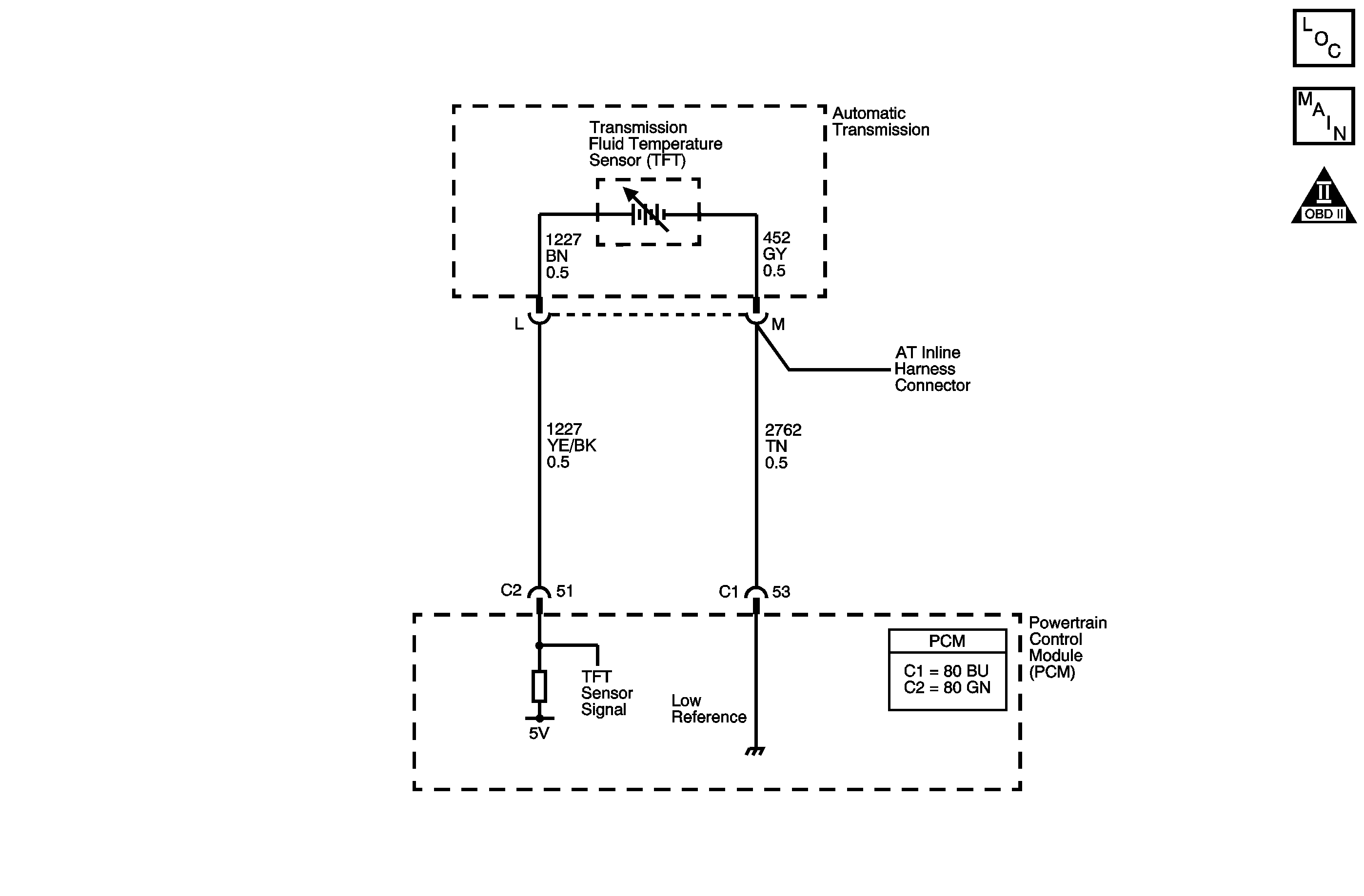
The automatic transmission fluid temperature (TFT) sensor is part of the 4L80-E automatic transmission (AT) wiring harness assembly. The TFT sensor is a resistor, or thermistor, which changes value based on temperature. The sensor has a negative-temperature coefficient. This means that as the temperature increases, the resistance decreases, and as the temperature decreases the resistance increases. The powertrain control module (PCM) supplies a 5 volt reference signal to the sensor and measures the voltage drop in the circuit. When the transmission fluid is cold, the sensor resistance is high and the PCM detects high signal voltage. As the fluid temperature warms to a normal operating temperature, the resistance becomes less and the signal voltage decreases. The PCM uses this information to control shift quality and torque converter clutch apply.
If the PCM detects a continuous short to ground in the TFT sensor or signal circuit, then DTC P0712 sets. DTC P0712 is a type C DTC.
| • | System voltage is 8-18 volts. | 
| • | The engine is running for greater than 7 seconds. | 
| • | No TFT DTC P0713. | 
The TFT sensor indicates a voltage of less than 0.14 volts for 17 seconds.
| • | The PCM does not illuminate the malfunction indicator lamp (MIL). | 
| • | The PCM commands increased line pressure. | 
| • | The PCM freezes transmission adaptive functions. | 
| • | The PCM determines a default transmission fluid temperature (TFT) using the following matrix: | 
| - | If the engine run time is less than 60 seconds then default TFT equals 47°C (117°F). | 
| - | If ECT is less than 20°C (68°F), then default TFT equals IAT. | 
| - | If the ECT is 20-110°C (68-230°F) then default TFT equals ECT. | 
| - | If the ECT is greater than 110°C (230°F) then default TFT is set to 140°C (284°F) and transmission shift pattern is in hot mode. | 
| - | If ECT and TFT DTCs are both set then default TFT is 140°C (284°F). | 
| • | The PCM records the operating conditions when the Conditions for Setting the DTC are met. The PCM stores this information as Failure Records. | 
| • | The PCM stores DTC P0712 in PCM history. | 
| • | A scan tool clears the DTC from PCM history. | 
| • | The PCM clears the DTC from PCM history if the vehicle completes 40 warm-up cycles without a non-emission related diagnostic fault occurring. | 
| • | The PCM cancels the DTC default actions when the fault no longer exists and the ignition switch is OFF long enough in order to power down the PCM. | 
DTC P0712 defaults to an elevated line pressure condition which may result in partial TCC apply. This may produce an idle surge that could stall the engine.
The numbers below refer to the step numbers on the diagnostic table.
This step tests for a short to ground or a skewed sensor by verifying the fault still exists.
This step tests for an internal fault within the transmission by creating an open.
Step  | Action  | Value(s)  | Yes  | No  | 
|---|---|---|---|---|
1  | Did you perform the Diagnostic System Check - Engine Controls?  | --  | Go to Step 2  | Go to Diagnostic System Check - Engine Controls in Engine Controls - 4.8L, 5.3L, and 6.0L  | 
2  | Inspect for correct transmission fluid level. Refer to Transmission Fluid Check . Did you perform the fluid checking procedure?  | --  | Go to Step 3  | Go to Transmission Fluid Check  | 
 Important: Before clearing the DTC, use the scan tool in order to record the Failure Records. Using the Clear Info function erases the Failure Records from the PCM. Does the scan tool display a TFT Sensor signal voltage greater than the specified value?  | 0.2 V  | Go to Intermittent Conditions in Engine Controls - 4.8L, 5.3L, and 6.0L  | Go to Step 4  | |
 Does the scan tool display a TFT Sensor signal voltage greater than the specified value?  | 4.92 V  | Go to Step 5  | Go to Step 6  | |
5  | 
 Does the resistance measure within the specified range?  | 3088-3942 ohms at 20°C (68°F) 159-198 ohms at 100°C (212°F)  | Go to Intermittent Conditions in Engine Controls - 4.8L, 5.3L, and 6.0L  | Go to Step 7  | 
6  | Test the signal circuit of the TFT sensor for a short to ground between the PCM connector C2 and the AT inline 20-way connector. Refer to Testing for Short to Ground and Wiring Repairs in Wiring Systems. Did you find and correct the condition?  | --  | Go to Step 9  | Go to Step 8  | 
7  | Replace the AT wiring harness assembly. Refer to Valve Body and Pressure Switch Replacement . Did you complete the replacement?  | --  | Go to Step 9  | --  | 
8  | Replace the PCM. Refer to Powertrain Control Module Replacement in Engine Controls - 4.8L, 5.3L, and 6.0L. Did you complete the replacement?  | --  | Go to Step 9  | --  | 
9  | Perform the following procedure in order to verify the repair: 
 Has the test run and passed?  | --  | Go to Step 10  | Go to Step 2  | 
10  | With the scan tool, observe the stored information, capture info and DTC info. Does the scan tool display any DTCs that you have not diagnosed?  | --  | Go to Diagnostic Trouble Code (DTC) List in Engine Controls - 4.8L, 5.3L, and 6.0L  | System OK  |